GM Service Manual Online
For 1990-2009 cars only
Makes
🢒
Chevrolet
🢒
2005
🢒
Cavalier
🢒
Body
🢒
Wipers/Washer Systems
🢒 Wiper/Washer Schematics
Figure
1:
w/CD4
Master Electrical Component List
Wiper/Washer System Description and Operation
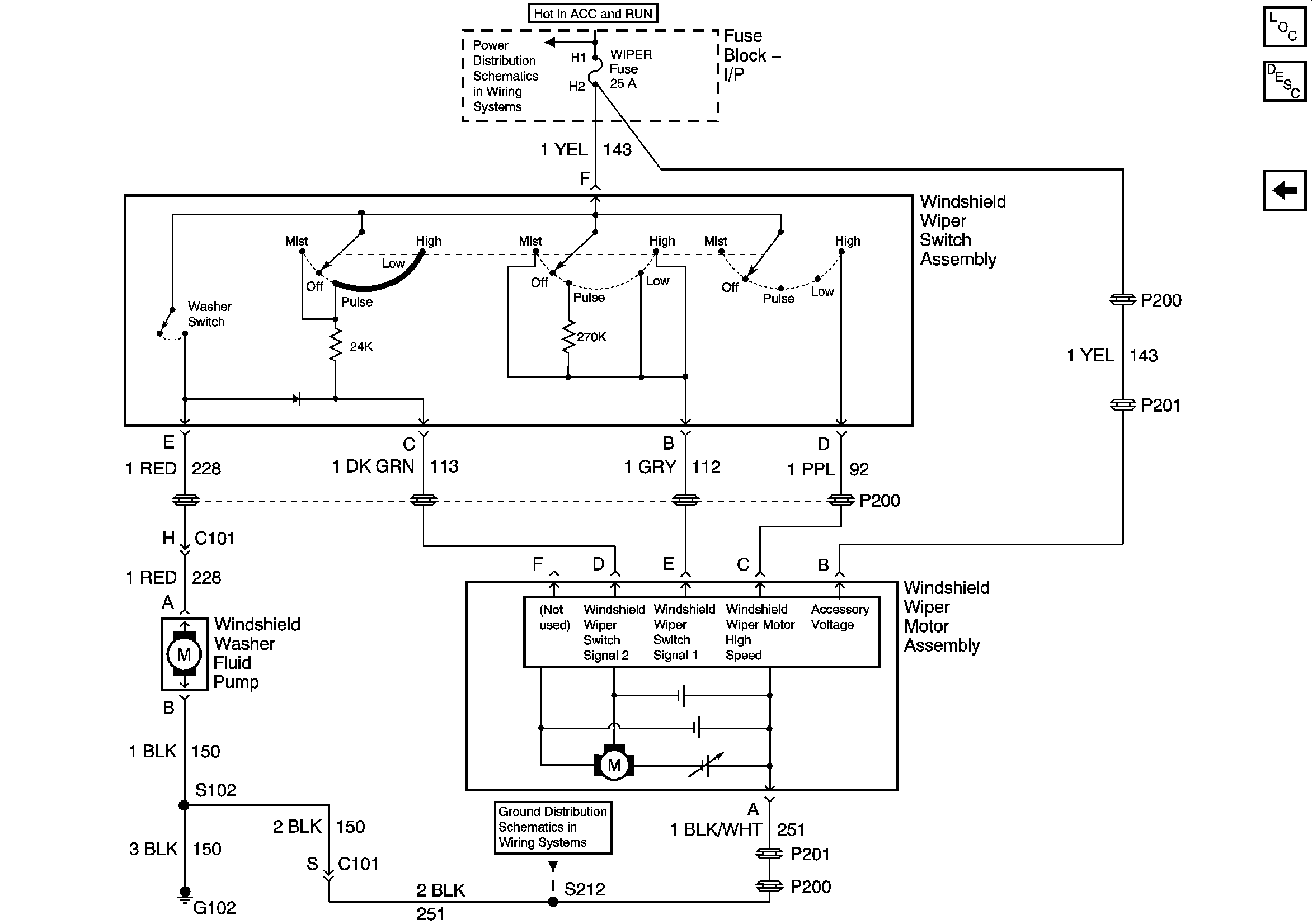
Wiper/Washer w/o CD4
Fuse Block - I/P WIPER, BCM, HAVC, 02 HTR Fuses and PWR WDO Circuit Breaker
G102, G201, G303
Figure
2:
w/o CD4
Master Electrical Component List
Wiper/Washer System Description and Operation
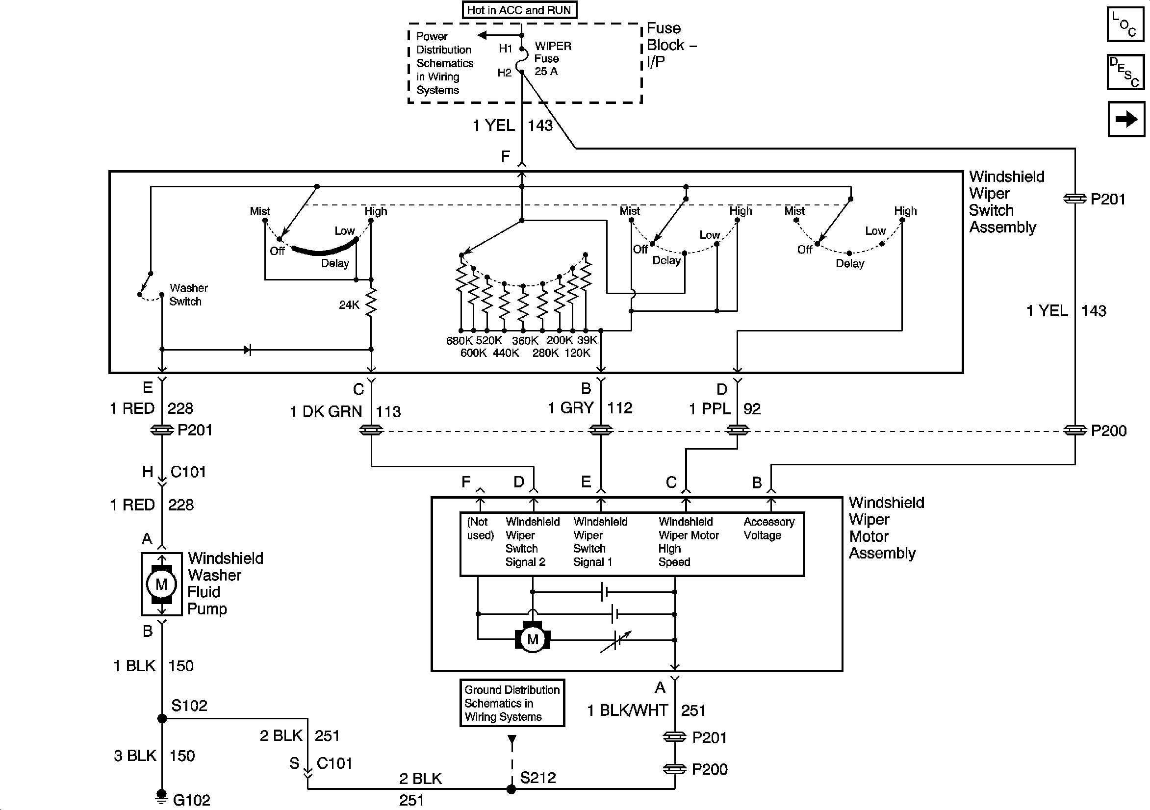
Wiper/Washer w/CD4
Fuse Block - I/P WIPER, BCM, HAVC, 02 HTR Fuses and PWR WDO Circuit Breaker
G102, G201, G303