- Ensure that the cruise
control release switch is fully seated in the bracket.
- Slowly pull the brake pedal rearward until the audible clicking
is no longer heard.
The switch will be moved in the retainer providing
adjustment.
- Release the brake pedal.
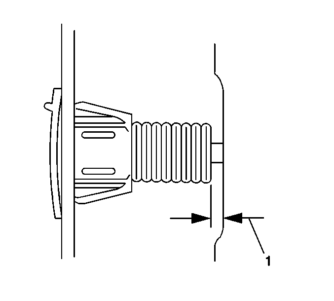
- Ensure that the following
contacts open at 25.4 mm (1 in) or less of pedal travel:
| 4.1. | The release switch (1) |
| 4.2. | The stoplamp and torque converter clutch (TCC) switch. |
- Ensure the switches open simultaneously or before the onset of
braking.
- The brake pedal may travel up to 25.4 mm (1 in)
before the cruise control system disengages.