GM Service Manual Online
For 1990-2009 cars only
Figure 1:

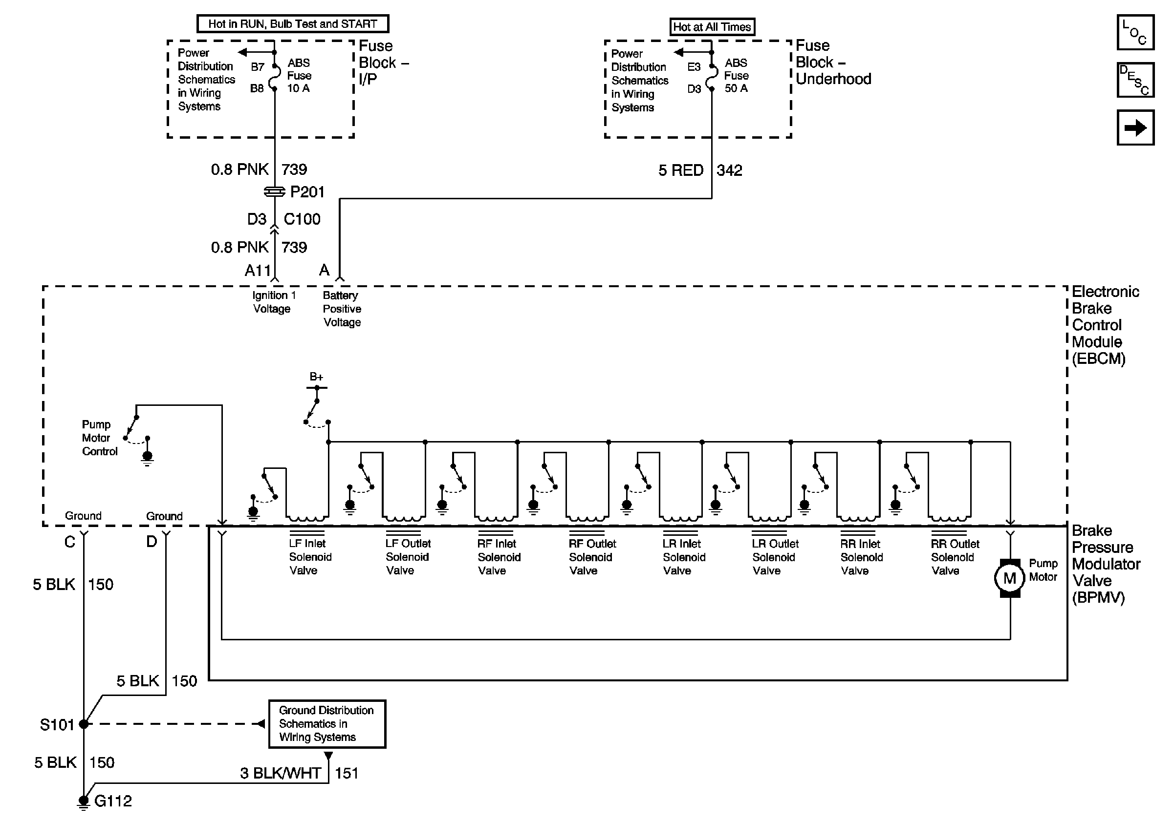
Module Power and Ground


Object Number: 787953  Size: FS
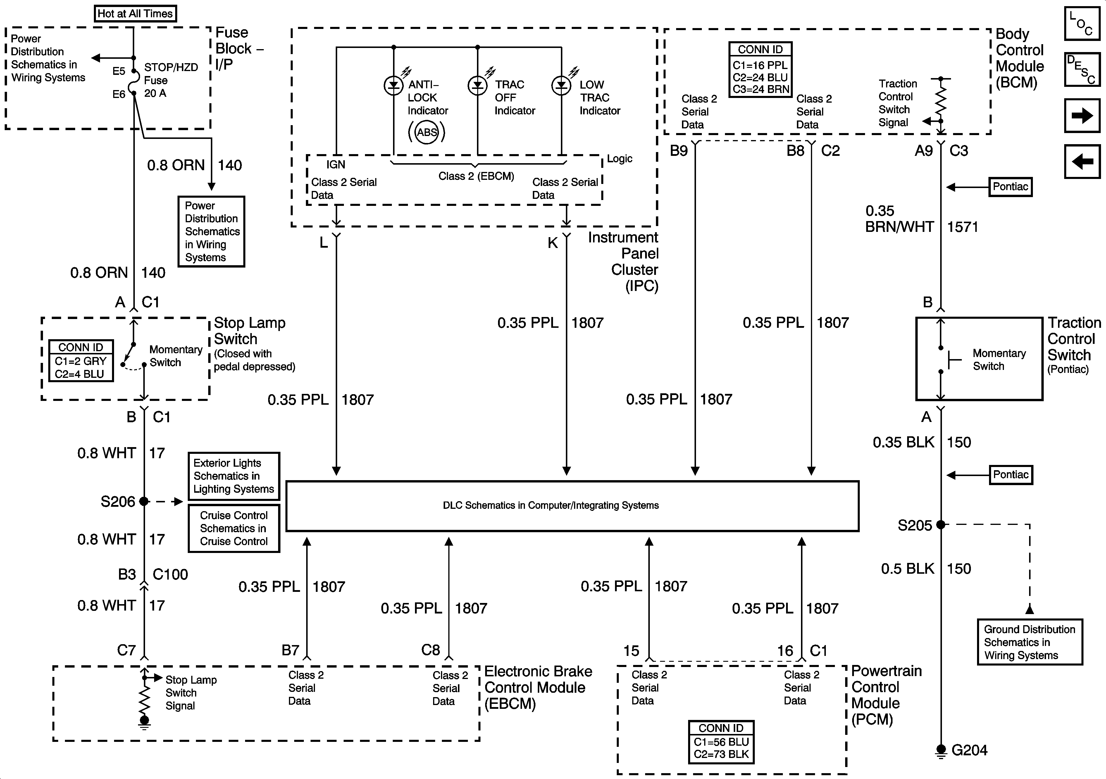
Figure 2:

Indicators and Switches


Object Number: 1400606  Size: FS
Figure 3:

Wheel Speed Sensors


Object Number: 787955  Size: FS