GM Service Manual Online
For 1990-2009 cars only
Makes
🢒
Chevrolet
🢒
2005
🢒
Cavalier
🢒
Transmission/Transaxle
🢒
Automatic Transaxle - 4T40-E/4T45-E
🢒 Automatic Transmission Controls Schematics
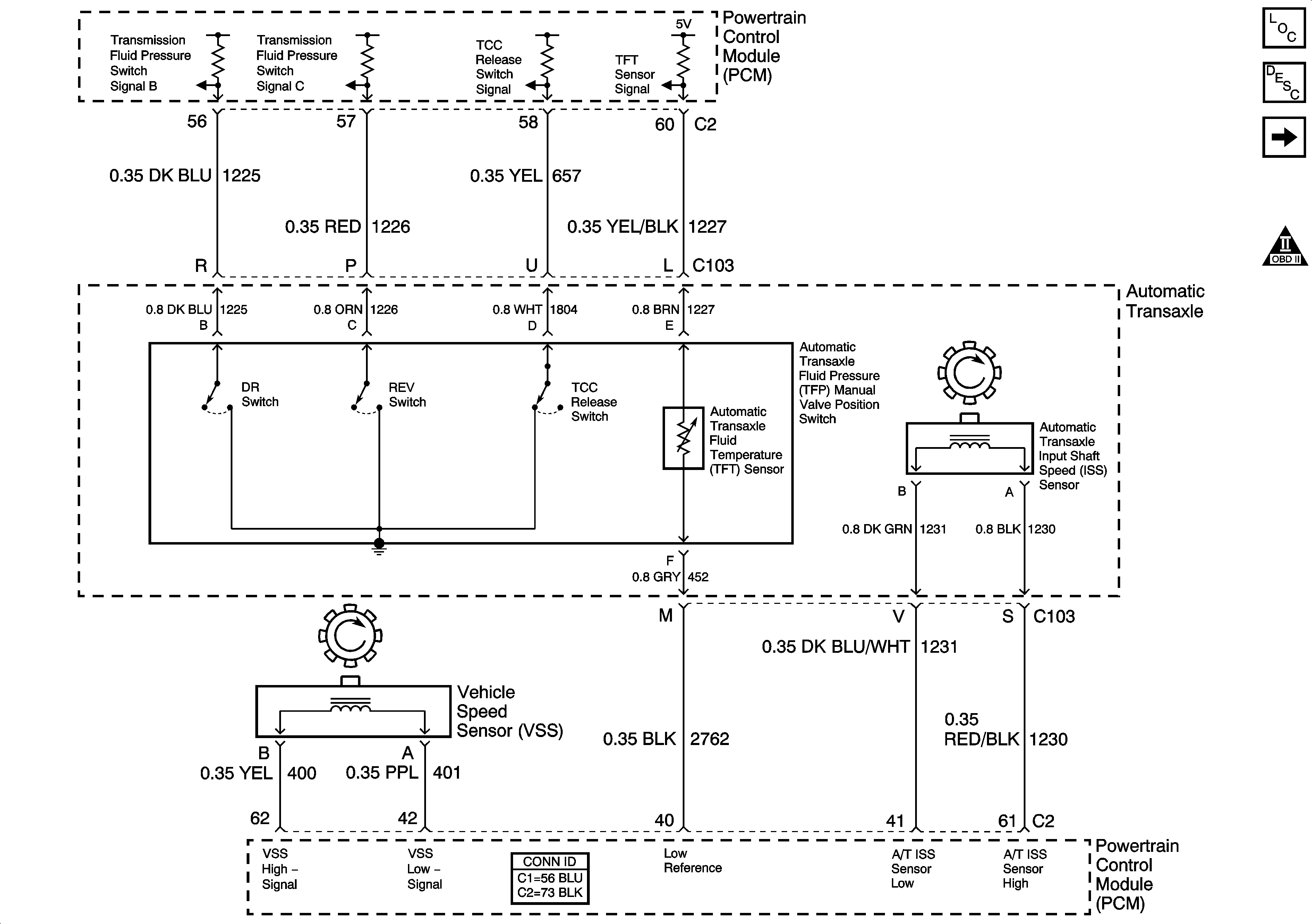
Figure
1:
TFP Manual Valve Position Switch
Master Electrical Component List
Transmission General Description
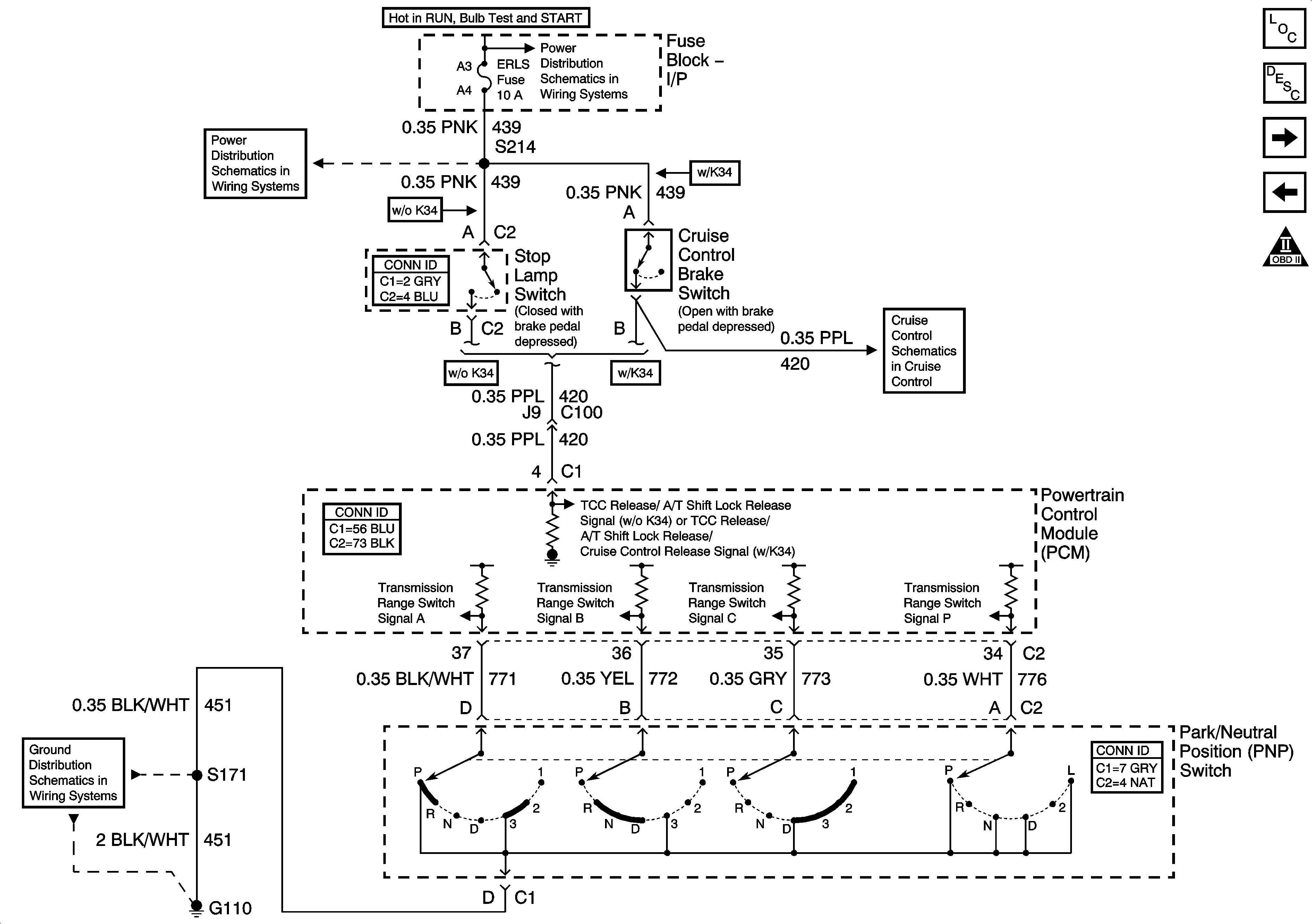
PNP Switch and TCC Release Signal
Automatic Transmission Schematic Icons
Figure
2:
PNP Switch and TCC Release Signal
Master Electrical Component List
Transmission General Description
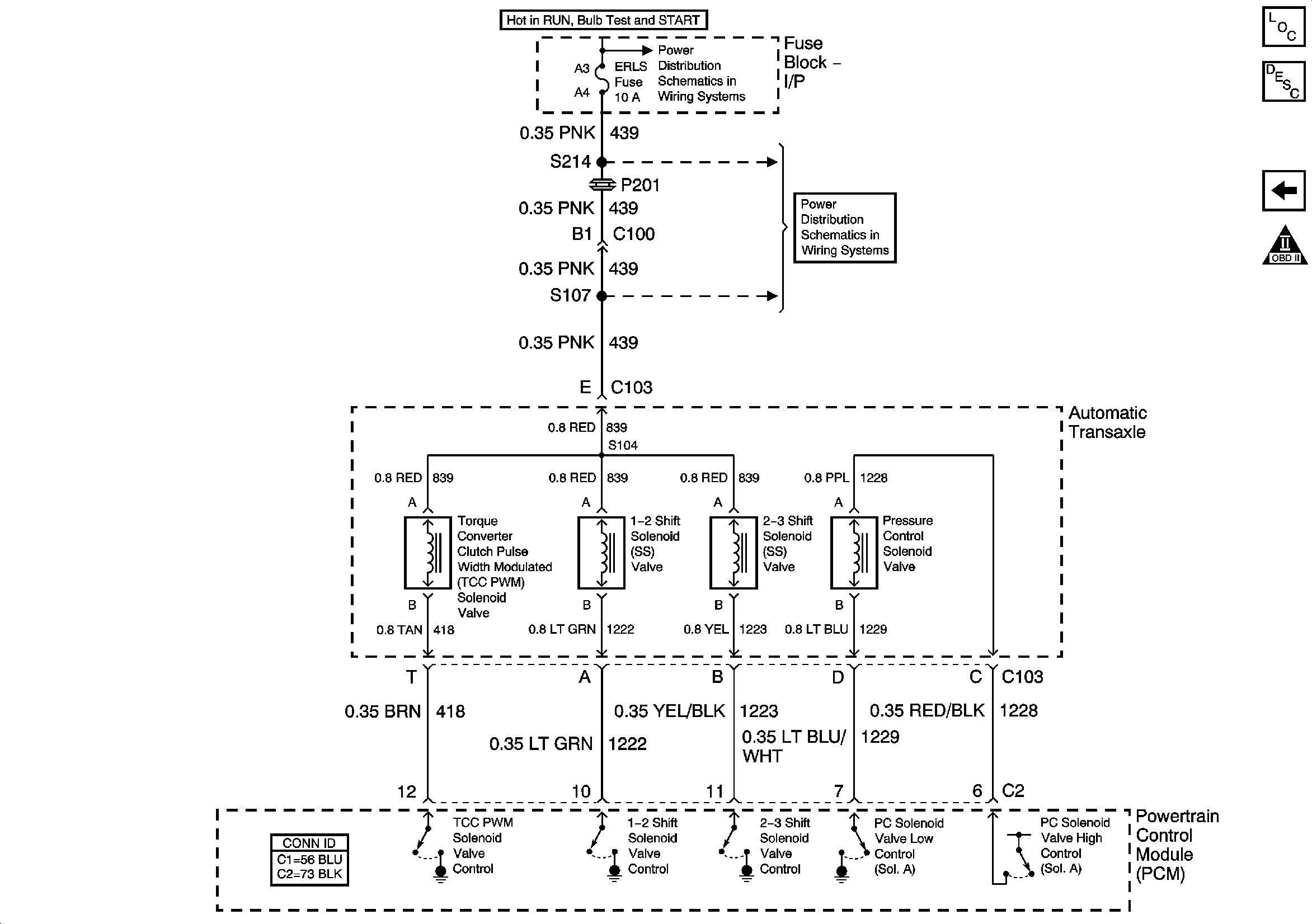
Solenoid Controls
TFT Sensor and TFP Manual Valve Position Switch
Automatic Transmission Schematic Icons
Fuse Block - I/P ERLS Fuses
Fuse Block - I/P ERLS Fuses
Cruise Control Release Signals
G110
Figure
3:
Solenoid Controls
Master Electrical Component List
Transmission General Description
PNP Switch and TCC Release Signal
Automatic Transmission Schematic Icons
Fuse Block - I/P ERLS Fuses
Fuse Block - I/P ERLS Fuses