GM Service Manual Online
For 1990-2009 cars only

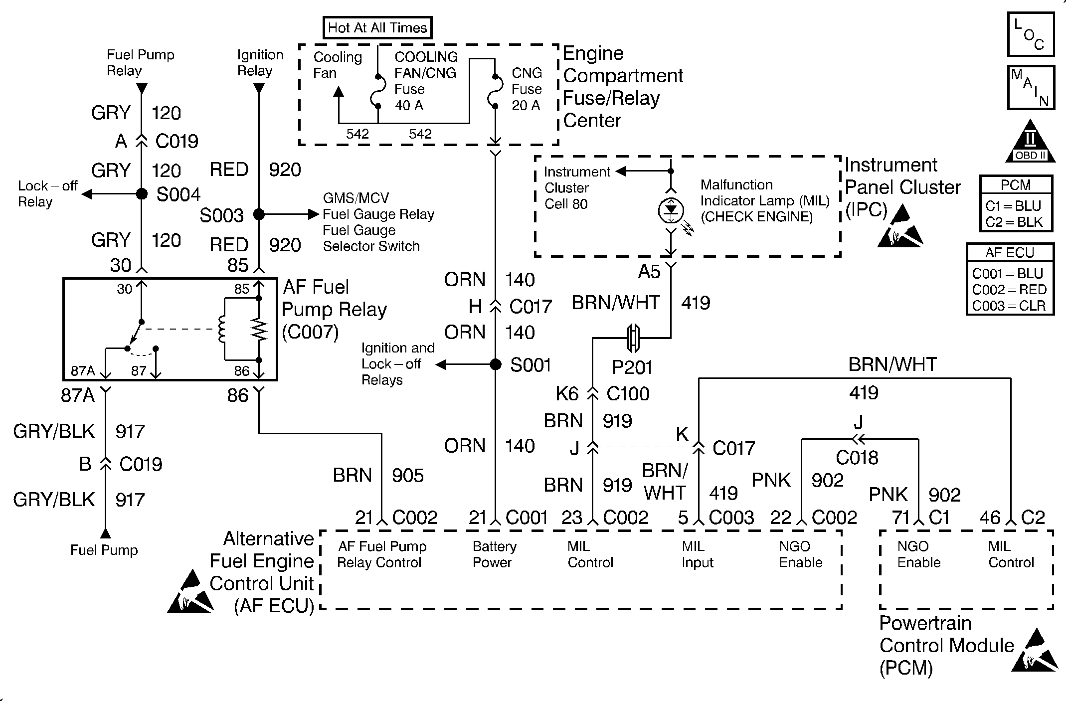
Object Number: 384474  Size: MF
Handling Electrostatic Discharge Sensitive Parts Notice
Handling Electrostatic Discharge Sensitive Parts Notice
Handling Electrostatic Discharge Sensitive Parts Notice
Engine Controls Components
CNG Fuel Controls (2 of 3)
OBDII Symbol Description Notice

Circuit Description

While the engine is running on either gasoline or CNG, the ECU monitors the Natural Gas Operation (NGO) enable circuit, Malfunction Indicator Lamp (MIL) circuit and AF fuel pump relay control circuit for a short to ground or for an open or a short to power. A failure of the NGO enable circuit may cause driveability complaints caused by the PCM delivering gasoline spark timing while operating on CNG. A failure of the MIL circuit may not result in loss of MIL operation but only a loss of the ability of the Alternative Fuel Engine Control Unit (AF ECU) to control the MIL. A failure of the AF fuel pump relay control circuit may result in either no gasoline operation or premature fuel pump failure depending on the nature of the fault. This is a type D DTC.

Conditions for Setting the DTC

The following conditions will set DTC 27:

    • The ignition is ON.
    • The ECU MIL output circuit is open, shorted to ground or shorted to power.
    • The NGO enable circuit is open, shorted to ground or shorted to power.
    • The AF fuel pump relay control circuit is open, shorted to ground or shorted to power.

Action Taken When the DTC Sets

The ECU will set DTC  27 after one driving trip with the fault active.

Conditions for Clearing the MIL/DTC

The ECU turns the MIL OFF after three consecutive driving trips without a fault condition present. A DTC will clear if no fault conditions have been detected for 40 warm-up cycles (coolant temperature has risen 40°C (72°F) from the start-up coolant temperature, and the engine coolant temperature exceeds 70°C (160°F) during that same ignition cycle) or the code clearing procedure has been used.

Diagnostic Aids

This diagnostic will not detect a fault in a circuit shorted to ground if the active state of the circuit should be grounded. This also applies to circuits which are open or shorted to power.

    • Diagnose all other PCM and ECU diagnostic trouble codes before beginning this diagnostic procedure.
    • Verify that the vehicle has a sufficient quantity of fuel to start on CNG.
    • Verify that the vehicle starts and runs on CNG:
       - Monitor the fuel mode indicator lamp.
       - Depress the fuel gauge selector switch and observe the fuel gauge movement.

Inspect any circuitry that is suspected of causing an intermittent complaint for the following conditions:

    • Backed out terminals
    • Improper mating
    • Broken locks
    • Improperly formed or damaged terminals
    • Poor terminal wiring connections
    • Physical damage to the wiring harness

Test Description

The number(s) below refer to the step number(s) on the diagnostic table.

  1. This step determines if the MIL circuit is shorted to ground.

  2. This step determines if the NGO enable circuit is shorted to ground.

  3. This step determines if the fuel pump relay control circuit is open.

  4. This step determines if the fuel pump relay control circuit is shorted to ground.

DTC 27 -- Quad Driver Output

Step

Action

Value(s)

Yes

No

1

Was the Alternative Fuels (AF) Powertrain On-Board Diagnostic (OBD) System Check performed?

--

Go to Step 2

Go to Alternative Fuels (AF) Powertrain On Board (OBD) System Check

2

  1. Turn the ignition OFF for 15 seconds.
  2. Turn ON the ignition. Leave the engine OFF.

Is the MIL ON?

--

Go to Step 3

Go to Malfunction Indicator Lamp Circuit Check

3

  1. Install a scan tool
  2. Clear any ECU diagnostic trouble codes using the fuel gauge selector switch.
  3. Command the MIL OFF.

Does the MIL turn OFF when commanded?

--

Go to Step 4

Go to Malfunction Indicator Lamp Circuit Check

4

  1. Turn OFF the ignition for 10 seconds.
  2. Start the engine.
  3. Observe the fuel indicator lamp in the fuel gauge selector switch.

Is the fuel indicator lamp OFF?

--

Go to Step 5

Go to Diagnostic Aids

5

Monitor the status of the natural gas operation (NGO) circuit using a scan tool.

Does the NGO circuit display ENABLED?

--

Go to Step 6

Go to Step 7

6

  1. Turn OFF the ignition.
  2. Remove the 20A CNG fuse from the engine compartment fuse/relay center.
  3. Start the engine.
  4. Monitor the status of the NGO circuit using a scan tool.

Does the NGO circuit display DISABLED?

--

Go to Step 10

Go to Step 9

7

  1. Turn OFF the ignition.
  2. Disconnect the RED ECU connector C002.
  3. Disconnect the BLU PCM connector C1.
  4. Inspect for continuity of the NGO enable circuit between the BLU PCM connector and RED ECU connector C002 using a DVOM.

Is there continuity?

--

Go to Step 8

Go to Step 21

8

Measure the NGO enable circuit for a short to power using a DVOM.

Is a problem found?

--

Go to Step 21

Go to Step 17

9

  1. Turn OFF the ignition.
  2. Disconnect ECU connector C002.
  3. Measure for continuity of the NGO enable circuit to ground using a DVOM.

Is there continuity?

--

Go to Step 21

Go to Step 19

10

  1. Turn OFF the ignition.
  2. Reinstall the fuse in the engine compartment fuse/relay center.
  3. Disconnect the AF fuel pump relay connector C007.
  4. Connect a test light to battery power.
  5. Probe pin 86 in connector C007.

Is the test lamp illuminated?

--

Go to Step 14

Go to Step 11

11

  1. Start the engine.
  2. Verify that the engine started on CNG.
  3. Connect a test light to battery power.
  4. Probe pin 86 in connector C007.

Is the test lamp illuminated?

--

Go to Step 12

Go to Step 15

12

  1. Connect the test light to ground.
  2. Probe pin 85 of connector C007.

Is the test lamp illuminated?

--

Go to Step 13

Go to Ignition Relay Diagnosis

13

Inspect for an open in the AF fuel pump relay between pin 85 and pin 86.

Is a problem found?

--

Go to Step 16

Go to Intermittent Conditions

14

  1. Turn OFF the ignition.
  2. Disconnect ECU connector C002.
  3. Measure pin 86 of connector C007 for continuity to ground using a DVOM.

Is there continuity to ground?

--

Go to Step 21

Go to Step 22

15

  1. Turn OFF the ignition.
  2. Disconnect ECU connector C002.
  3. Measure for continuity of the fuel pump relay control circuit between connector C007 and connector C002 using a DVOM.

Is there continuity?

--

Go to Step 19

Go to Step 21

16

Replace the AF fuel pump relay.

Is the action complete?

--

Go to Step 23

--

17

Inspect for faulty PCM connections.

Is a problem found?

--

Go to Step 21

Go to Step 18

18

  1. Verify the PCM software revision level.
  2. Replace the PCM if the PCM has the correct software.

Important::  Reprogram the PCM if it is faulty. Refer to PCM Replacement/Programming in Engine Controls - 2.2L in the J Platform Service Manual.

Is the action complete?

--

Go to Step 23

--

19

Inspect for faulty ECU connections.

Is a problem found?

--

Go to Step 21

Go to Step 20

20

Inspect for faulty connections at connector C007.

Is a problem found?

--

Go to Step 21

Go to Step 22

21

Repair the circuit as necessary. Refer to Wiring Repairs in Engine Controls - 2.2L in the J Platform Service Manual.

Is the action complete?

--

Go to Step 23

--

22

Replace the ECU. Refer to Engine Control Unit Replacement .

Is the action complete?

--

Go to Step 23

--

23

  1. Allow the engine to idle until normal operating temperature is reached.
  2. Verify that no other DTCs are set.

Are any DTCs displayed that have not been diagnosed?

--

Go to the applicable DTC table

System OK