GM Service Manual Online
For 1990-2009 cars only

Removal Procedure


    Object Number: 384627  Size: SH
  1. Relieve the CNG fuel system pressure. Refer to Fuel Pressure Relief .
  2. Lower the rear seat.
  3. Loosen the lower vent hose clamp.
  4. Pull the vent hose from the HPR.
  5. Disconnect the HPR to the HPL fuel line from the HPR.

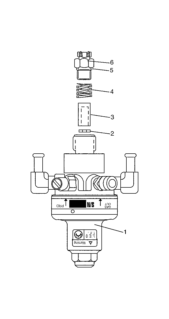
  6. Object Number: 401933  Size: LH
  7. Remove the HPR inlet fitting (6).
  8. Remove the spring (4).
  9. Remove the filter (3).
  10. Remove the seal (2).

Installation Procedure

Tools Required

J 41416 Ultrasonic Leak Detector


    Object Number: 401933  Size: LH
  1. Install a new seal (2).
  2. Install a new filter (3).
  3. Install a new spring (4).
  4. Notice: Use the correct fastener in the correct location. Replacement fasteners must be the correct part number for that application. Fasteners requiring replacement or fasteners requiring the use of thread locking compound or sealant are identified in the service procedure. Do not use paints, lubricants, or corrosion inhibitors on fasteners or fastener joint surfaces unless specified. These coatings affect fastener torque and joint clamping force and may damage the fastener. Use the correct tightening sequence and specifications when installing fasteners in order to avoid damage to parts and systems.

  5. Install the HPR inlet fitting (6) using a new O-ring (5). Lubricate the O-ring with petroleum jelly or the equivalent.
  6. Tighten
    Tighten the HPR inlet fitting to 48 N·m (35 lb ft).


    Object Number: 384627  Size: SH
  7. Connect the HPL to HPR fuel line to the HPR using a new O-ring face seal. Lubricate the O-ring with petroleum jelly or the equivalent.
  8. Tighten
    Tighten the fuel line fitting to 24 N·m (18 lb ft).

  9. Connect the HPL power electrical connector.
  10. Start the engine. Inspect for CNG fuel leaks at each serviced fitting using the J 41416 Ultrasonic Leak Detector.
  11. Install the vent hose to the HPR.
  12. Tighten
    Tighten the vent hose clamp to 2 N·m (18 lb in).

  13. Raise the rear seat.