GM Service Manual Online
For 1990-2009 cars only

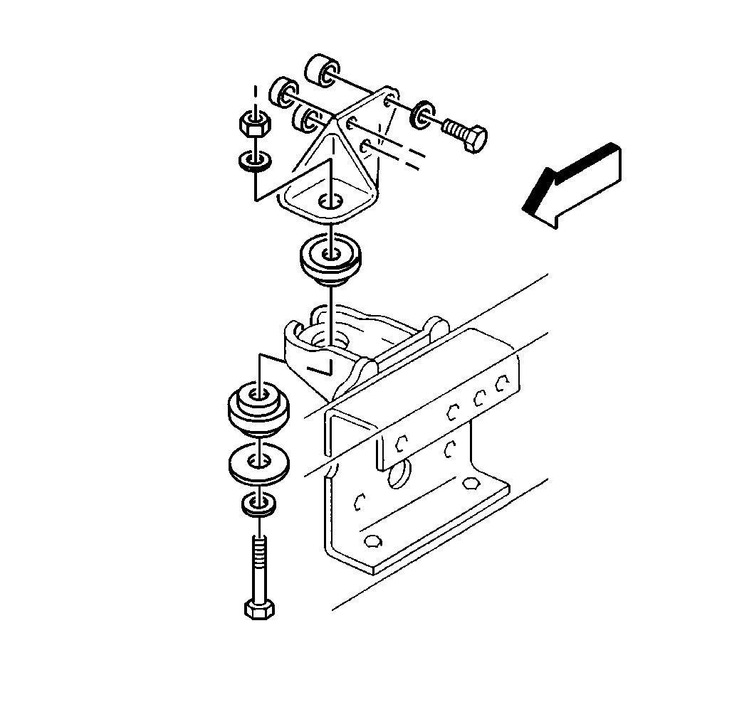
Engine Mount Replacement Front

Removal Procedure


    Object Number: 168649  Size: SH
  1. Remove the upper fan shroud. Refer to Fan Shroud Replacement in Engine Cooling.
  2. Remove the right front wheel housing panel. Refer to Wheelhouse Panel Replacement in Body Front End.
  3. Remove the engine mount through bolt.
  4. Raise the engine.
  5. Block the engine into position.


    Object Number: 168657  Size: SH
  6. Remove the engine mount frame bolt.
  7. Remove the engine mount.

Installation Procedure


    Object Number: 168649  Size: SH
  1. Install the engine mount to the frame.

  2. Object Number: 168657  Size: SH

    Notice: Use the correct fastener in the correct location. Replacement fasteners must be the correct part number for that application. Fasteners requiring replacement or fasteners requiring the use of thread locking compound or sealant are identified in the service procedure. Do not use paints, lubricants, or corrosion inhibitors on fasteners or fastener joint surfaces unless specified. These coatings affect fastener torque and joint clamping force and may damage the fastener. Use the correct tightening sequence and specifications when installing fasteners in order to avoid damage to parts and systems.

  3. Install the frame bolts and the nuts to the engine mount.
  4. Tighten
    Tighten the nuts to 48 N·m (36 lb ft).

  5. Lower the engine.
  6. Install the engine mount through bolt.
  7. Tighten
    Tighten the engine mount through bolt to 95 N·m (70 lb ft).

  8. Install the nut for the engine mount.
  9. Tighten
    Tighten the nut for the engine mount to 70 N·m (50 lb ft).

  10. Install the left or right front wheel housing panel. Refer to Wheelhouse Panel Replacement in Body Front End.
  11. Install the upper fan shroud. Refer to Fan Shroud Replacement in Engine Cooling.

Engine Mount Replacement Rear Automatic

Removal Procedure


    Object Number: 168661  Size: SH
  1. Remove the nuts and the washers that hold the mount to the crossmember.
  2. Support the rear of the engine in order to relieve the weight on the rear mount.
  3. Notice: When raising or supporting the engine for any reason, do not use a jack under the oil pan, any sheet metal, or the crankshaft pulley. Due to the small clearance between the oil pan and the oil pump screen, jacking against the oil pan may cause the pan to be bent against the pump screen. This will result in a damaged oil pickup unit.

    Important: Lift the engine only high enough to replace the engine mount.

  4. Raise the rear of the engine.
  5. Remove the mount.

  6. Object Number: 168660  Size: SH
  7. Remove the engine mount bracket from the transmission assembly.

Installation Procedure


    Object Number: 168660  Size: SH
  1. Install the engine mount bracket to the transmission assembly.

  2. Object Number: 168661  Size: SH
  3. Install the mount.
  4. Lower the rear of the engine.
  5. Notice: Use the correct fastener in the correct location. Replacement fasteners must be the correct part number for that application. Fasteners requiring replacement or fasteners requiring the use of thread locking compound or sealant are identified in the service procedure. Do not use paints, lubricants, or corrosion inhibitors on fasteners or fastener joint surfaces unless specified. These coatings affect fastener torque and joint clamping force and may damage the fastener. Use the correct tightening sequence and specifications when installing fasteners in order to avoid damage to parts and systems.

  6. Install the nuts and the washers.
  7. Tighten
    Tighten the nuts to 47 N·m (35 lb ft).

Engine Mount Replacement Rear Manual

Removal Procedure


    Object Number: 168662  Size: SH
  1. Remove the bolt and the washer that holds the mount to the crossmember.
  2. Support the rear of the engine to relieve the weight on the rear mount.
  3. Notice: When raising or supporting the engine for any reason, do not use a jack under the oil pan, any sheet metal, or the crankshaft pulley. Due to the small clearance between the oil pan and the oil pump screen, jacking against the oil pan may cause the pan to be bent against the pump screen. This will result in a damaged oil pickup unit.

    Important: Lift the engine only high enough to replace the engine mount.

  4. Raise the rear of the engine.
  5. Remove the mount.

Installation Procedure


    Object Number: 168662  Size: SH
  1. Install the mount.
  2. Lower the rear of the engine.
  3. Notice: Use the correct fastener in the correct location. Replacement fasteners must be the correct part number for that application. Fasteners requiring replacement or fasteners requiring the use of thread locking compound or sealant are identified in the service procedure. Do not use paints, lubricants, or corrosion inhibitors on fasteners or fastener joint surfaces unless specified. These coatings affect fastener torque and joint clamping force and may damage the fastener. Use the correct tightening sequence and specifications when installing fasteners in order to avoid damage to parts and systems.

  4. Install the bolt and the washer.
  5. Tighten
    Tighten the bolt to 47 N·m (35 lb ft).