GM Service Manual Online
For 1990-2009 cars only

Exhaust Pipe Replacement Front 7.2L Diesel

Removal Procedure


    Object Number: 206280  Size: SH
  1. Loosen the heat shield clamps. Slide off and remove the clamps from around the heat shield.
  2. Remove the heat shield.
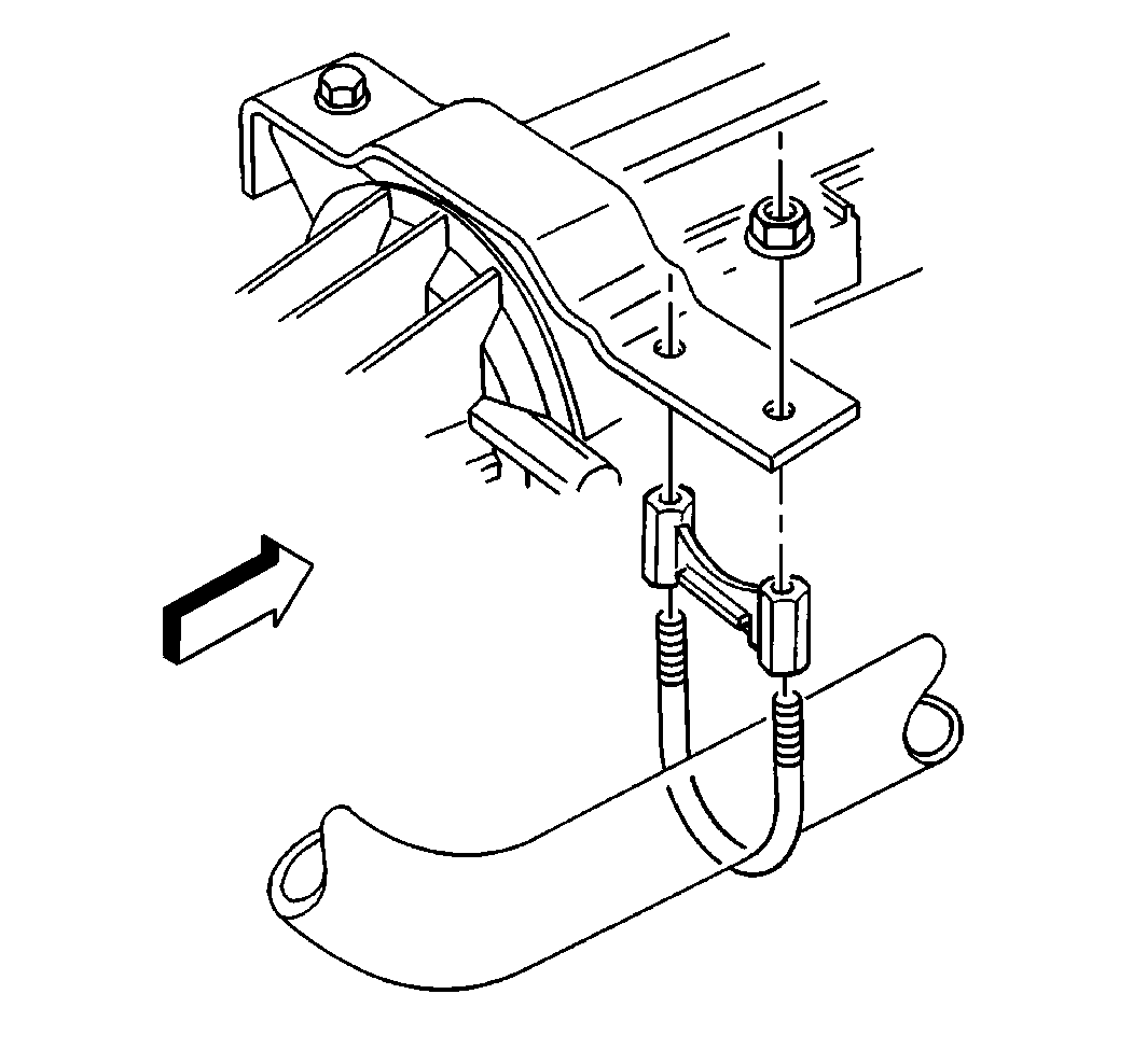
  3. Remove the following components:
  4. • The nuts
    • The washers
    • The U-bolt

    Object Number: 206268  Size: SH
  5. Remove the clamp assemblies from the front exhaust pipe. Refer to Exhaust Clamps Replacement
  6. Remove the front exhaust pipe.
  7. Inspect all of the components for the following conditions:
  8. • Cracks
    • Bends
    • Stripped threads
    • Corrosion damage
    • Leaks
  9. Replace any damaged components as necessary.

Installation Procedure


    Object Number: 206268  Size: SH
  1. Slide the proper clamp assemblies onto the front exhaust pipe.
  2. Install the front exhaust pipe.
  3. Notice: Use the correct fastener in the correct location. Replacement fasteners must be the correct part number for that application. Fasteners requiring replacement or fasteners requiring the use of thread locking compound or sealant are identified in the service procedure. Do not use paints, lubricants, or corrosion inhibitors on fasteners or fastener joint surfaces unless specified. These coatings affect fastener torque and joint clamping force and may damage the fastener. Use the correct tightening sequence and specifications when installing fasteners in order to avoid damage to parts and systems.

  4. Tighten the clamp assemblies that secure the front exhaust pipe.
  5. Tighten

        • Tighten the turbocharger clamp nut to 9 N·m (79 lb in).
        • Tighten the bolts on the wide band clamp to 73 N·m (54 lb ft).

    Object Number: 206280  Size: SH
  6. Install the heat shield.
  7. Slide the clamps over the ends of the heat shield and align the clamps.
  8. Tighten
    Tighten the heat shield exhaust clamps to 8 N·m (70 lb in).

Exhaust Pipe Replacement Front 6.5L Diesel

Removal Procedure


    Object Number: 206293  Size: SH
  1. Remove the nuts from the exhaust manifold.

  2. Object Number: 206297  Size: SH
  3. Remove the clamp from the exhaust pipe bracket.

  4. Object Number: 206303  Size: SH
  5. Remove the bolts that attach the exhaust pipe to the muffler.

Installation Procedure


    Object Number: 206293  Size: SH
  1. Install the nuts to the exhaust manifold.

  2. Object Number: 206297  Size: SH
  3. Install the clamp to the exhaust pipe bracket.

  4. Object Number: 206303  Size: SH
  5. Install the bolts to the exhaust pipe and to the muffler.
  6. Notice: Use the correct fastener in the correct location. Replacement fasteners must be the correct part number for that application. Fasteners requiring replacement or fasteners requiring the use of thread locking compound or sealant are identified in the service procedure. Do not use paints, lubricants, or corrosion inhibitors on fasteners or fastener joint surfaces unless specified. These coatings affect fastener torque and joint clamping force and may damage the fastener. Use the correct tightening sequence and specifications when installing fasteners in order to avoid damage to parts and systems.

  7. Tighten the fasteners.
  8. Tighten

        • Tighten the nuts that secure the exhaust pipe to the engine to 29 N·m (21 lb ft).
        • Tighten the nuts that secure the exhaust pipe to the exhaust pipe bracket to 42 N·m (31 lb ft).
        • Tighten the nuts that secure the exhaust pipe to the muffler to 24 N·m (18 lb ft).

Exhaust Pipe Replacement Rear 7.2L Diesel

Removal Procedure


    Object Number: 206309  Size: SH
  1. Loosen the heat shield clamps. Slide off and remove the clamps from around the heat shield.
  2. Remove the heat shield.
  3. Remove the clamp assemblies from the rear exhaust pipe. Refer to Exhaust Clamps Replacement .
  4. Remove the rear exhaust pipe.
  5. Inspect all of the components for the following conditions:
  6. • Cracks
    • Bends
    • Stripped threads
    • Corrosion damage
    • Leaks
  7. Replace any damaged components as necessary.

Installation Procedure


    Object Number: 206309  Size: SH
  1. Slide the clamp assemblies over the rear exhaust pipe.
  2. Install the rear exhaust pipe.
  3. Notice: Use the correct fastener in the correct location. Replacement fasteners must be the correct part number for that application. Fasteners requiring replacement or fasteners requiring the use of thread locking compound or sealant are identified in the service procedure. Do not use paints, lubricants, or corrosion inhibitors on fasteners or fastener joint surfaces unless specified. These coatings affect fastener torque and joint clamping force and may damage the fastener. Use the correct tightening sequence and specifications when installing fasteners in order to avoid damage to parts and systems.

  4. Tighten the clamp assemblies on the rear exhaust pipe.
  5. Tighten
    Tighten the bolts on the wide band clamp to 73 N·m (54 lb ft).

  6. Install the heat shield.
  7. Slide the clamps over the ends of the heat shield.
  8. Align the clamps.

    Tighten
    Tighten the nuts on the exhaust clamps to 8 N·m (70 lb in).

Exhaust Pipe Replacement Gasoline

Removal Procedure


    Object Number: 206324  Size: SH
  1. Loosen the heat shield clamps. Slide off and remove the clamps from around the heat shield.
  2. Remove the heat shield.
  3. Remove the following components from the front of the exhaust pipe:
  4. • The nuts
    • The springs
    • The washers
    • The seals

    Object Number: 206330  Size: SH
  5. Remove the following components from the rear of the exhaust pipe:
  6. • The nuts
    • The bolts
    • The washers

    Object Number: 206327  Size: SH
  7. Remove the exhaust pipes.
  8. Inspect the components for the following conditions:
  9. • Cracks
    • Bends
    • Stripped threads
    • Corrosion damage
    • Leaks
  10. Replace any damaged components as necessary.

Installation Procedure


    Object Number: 206328  Size: SH
  1. Install the heat shield.
  2. Slide the clamps over the heat shield.

  3. Object Number: 206327  Size: SH
  4. Install the exhaust pipes.

  5. Object Number: 206330  Size: SH
  6. Install the following components to the rear of the exhaust pipe:
  7. • The nuts
    • The bolts
    • The washers

    Object Number: 206324  Size: SH
  8. Install the following components to the front of the exhaust pipe:
  9. • The nuts
    • The springs
    • The seals

    Notice: Use the correct fastener in the correct location. Replacement fasteners must be the correct part number for that application. Fasteners requiring replacement or fasteners requiring the use of thread locking compound or sealant are identified in the service procedure. Do not use paints, lubricants, or corrosion inhibitors on fasteners or fastener joint surfaces unless specified. These coatings affect fastener torque and joint clamping force and may damage the fastener. Use the correct tightening sequence and specifications when installing fasteners in order to avoid damage to parts and systems.

  10. Tighten the fasteners.
  11. Tighten

        • Tighten the nuts on the exhaust manifold studs to 38 N·m (28 lb ft).
        • Tighten the heat shield clamp nuts to 8 N·m (70 lb in).
        • Tighten the nuts that secure the exhaust pipes to the muffler to 24 N·m (18 lb ft).