GM Service Manual Online
For 1990-2009 cars only
Makes
🢒
Chevrolet
🢒
1998
🢒
Chevrolet C-Series Medium Duty Truck B7
🢒
Engine
🢒
Engine Controls - 6.0L and 7.0L
🢒 Fuel Pump Relay Replacement
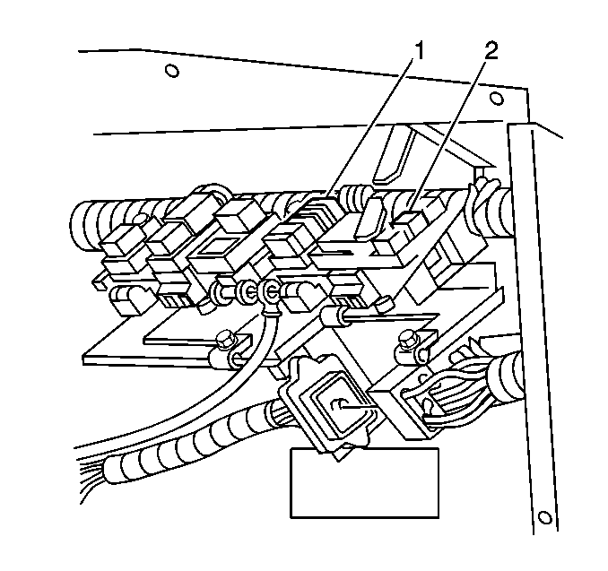
Removal Procedure
Remove the relay (2) from the relay center (1).
Installation Procedure
Install the relay (2) in the relay center (1).