GM Service Manual Online
For 1990-2009 cars only

Object Number: 317127  Size: SH

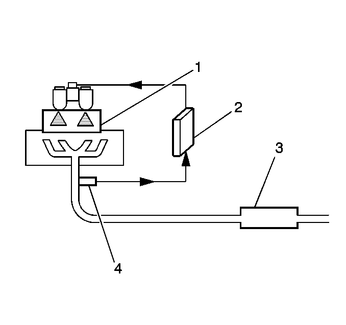
The fuel system delivers the correct amount of fuel to the engine under all operating conditions. The Engine Control Module (2 ECM) controls the fuel. The Throttle Body Injection (TBI) unit (1), mounted to the intake manifold, delivers the fuel to the engine

The main control sensor is the Oxygen Sensor (4 O2S), which is located in the exhaust manifold. The O2S sensor tells the ECM the amount of oxygen in the exhaust gas. The ECM changes the air/fuel ratio to the engine by controlling the fuel injectors. Efficient catalytic converter (3) operation requires a 14.7:1 air/fuel ratio. Because of the constant measuring and adjusting of the air/fuel ratio, the fuel injection system is a Closed Loop system.