GM Service Manual Online
For 1990-2009 cars only
Makes
🢒
Chevrolet
🢒
1998
🢒
Chevrolet C-Series Medium Duty Truck B7
🢒
Engine
🢒
Engine Controls - 6.0L and 7.0L
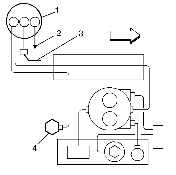
🢒 Emission Hose Routing Diagram
(1)
EVAP Canister
(2)
To the Fuel Tank
(3)
To the Vent
(4)
Manifold Vacuum