GM Service Manual Online
For 1990-2009 cars only

Purpose

The Exhaust Gas Recirculation (EGR) system lowers the NOx (Nitrogen Oxides) emission levels caused by the high combustion temperatures. The EGR valve feeds small amounts of exhaust gas back into the combustion chamber in order to decrease the combustion temperature.

The main element of the system is an EGR valve operated by a vacuum and mounted on the intake manifold.

Operation

A vacuum opens the EGR valve in order to let the exhaust gas flow into the intake manifold. The exhaust gas then moves with the air/fuel mixture into the combustion chamber. If too much exhaust gas enters, the combustion will not occur. For this reason, the system allows very little exhaust gas to pass through the valve, especially at idle. The system usually opens the EGR valve under the following conditions:

    • Warm engine operation
    • Above idle speed

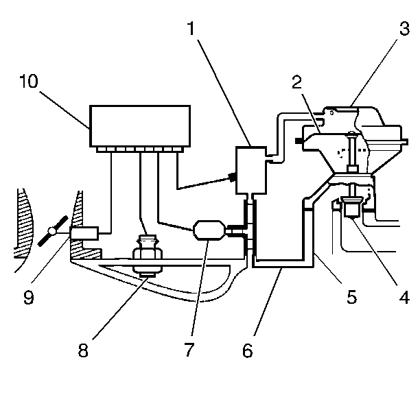
EGR Control


Object Number: 312244  Size: SH
(1)Electronic Vacuum Regulator Valve (EVRV) Solenoid
(2)Diaphragm
(3)EGR Valve
(4)Exhaust Gas
(5)Intake Gas
(6)Manifold Vacuum
(7)MAP Sensor
(8)Engine Coolant Temperature Sensor
(9)Throttle Position Sensor
(10)Control Module

In order to regulate the EGR flow, the system uses an ECM controlled Electronic Vacuum Regulator Valve (EVRV) solenoid in the vacuum line. The ECM uses the information from the following sensors in order to regulate the solenoid:

    • The Engine Coolant Temperature (ECT)
    • The Throttle Position (TP) sensor
    • The Neutral switch
    • The Distributor ignition (RPM)

The EVRV solenoid uses a pulse width modulation. The ECM turns the solenoid ON and OFF many times a second and varies the amount of the ON time (pulse width) in order to vary the amount of EGR.

Port EGR Valve


Object Number: 312249  Size: SH

A flexible diaphragm (3) which is spring (2) loaded to hold the valve closed (5) controls the port EGR valve (1). The vacuum (port 8) applied to the top side of the diaphragm overcomes the spring pressure and opens (4) the valve in the exhaust gas port. This allows the exhaust gas (6) to be pulled into the intake (air 7) manifold and to enter the engine cylinders.

EGR Valve Identification


Object Number: 312251  Size: SH
(1)Assembly Plant Code
(2)Part Number
(3)Look Here For Letter: P is Positive Back Pressure, N is Negative Back Pressure, Blank is Port Valve
(4)Date Built
    • The positive backpressure EGR valves will have a P stamped on the top side of the valve after the part number.
    • The negative backpressure EGR valves will have a N stamped on the top side of the valve after the part number.
    • The port EGR valves have no identification stamped after the part number.