GM Service Manual Online
For 1990-2009 cars only
Makes
🢒
Chevrolet
🢒
1998
🢒
Chevrolet C-Series Medium Duty Truck B7
🢒
Engine
🢒
Engine Controls - 6.0L and 7.0L
🢒 Exhaust Gas Recirculation Filter Cleaning/Replacement
Cleaning and Replacement Procedure
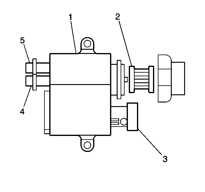
Remove the EVRV solenoid. Refer to
EVRV Solenoid Replacement
.
Pull the filter (2) off with a rocking motion.
Push the new filter on making sure the cut-out for the wires is properly aligned.