GM Service Manual Online
For 1990-2009 cars only

The governor throttle drive assembly was lubricated at the factory with a special synthetic grease.


Object Number: 319661  Size: SH

Important: Relubricate the moving component parts only when there is no apparent sign of grease or the replacement parts require lubricating.

The service repair kits include a small vial of the special synthetic of grease.

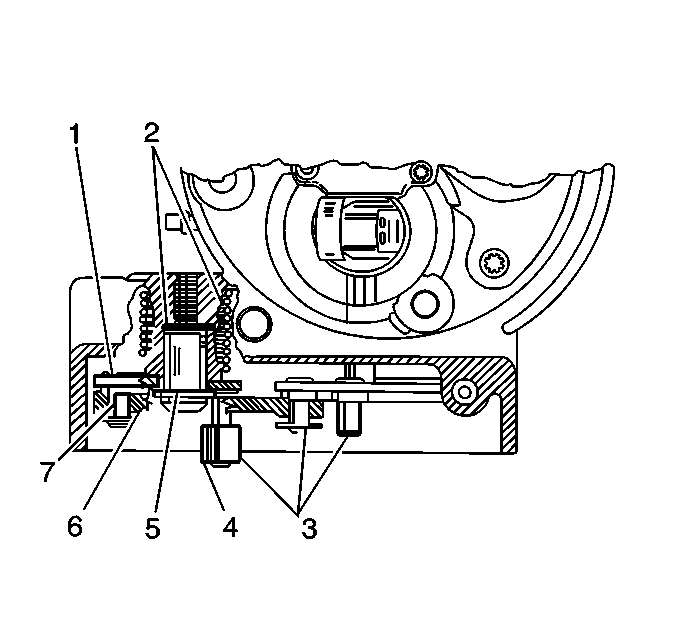
The following areas need lubrication:

    • Lever and Bearing Assembly (1)
    • Lubrication Points (2)
    • Lubrication Points (3)
    • Shock Absorber (4)
    • Lubrication Points (5)
    • Throttle to Motor Link (6)
    • Lubrication Points (7)