GM Service Manual Online
For 1990-2009 cars only
Figure 1:

Engine View


Object Number: 209389  Size: MF
(1)ECT Sensor
(2)ITS Motor
(3)Boost Sensor
(4)IAT Sensor
(5)Wastegate Solenoid
(6)Glow Plug Relay
Figure 2:

Engine View II


Object Number: 263363  Size: LF
(1)Air Cleaner
(2)A/C Compressor
(3)IAT Sensor
(4)Injection Line
(5)CDR Valve
(6)Intake Duct
Figure 3:

Glow Plugs


Object Number: 192951  Size: MF
(1)Glow Plugs
(2)Cylinder Head
Figure 4:

Injection Nozzles


Object Number: 192965  Size: MF
(1)Cylinder Head
(2)Injection Nozzles
(3)Seal
Figure 5:

Oil Pressure Switch (OPS)


Object Number: 192947  Size: LF
(1)Oil Pressure Switch (OPS)
(2)Engine Block
Figure 6:

CDR Valve


Object Number: 209398  Size: MF
(1)CDR Valve Grommet
(2)Rocker Cover
(3)CDR Valve
Figure 7:

Fuel Injection Pump and Lines


Object Number: 192955  Size: MF
(1)Optical/Fuel Temperature Sensor
(2)Fuel Injection Pump
(3)Fuel Solenoid
(4)Injection Lines
(5)Fuel Solenoid Driver
(6)Engine Shut Off (ESO) Solenoid
Figure 8:

ECT Sensor, ITS Motor, and Optical/Fuel Temperature Sensor


Object Number: 192956  Size: LF
(1)ECT Sensor
(2)Fuel Injection Pump
(3)Ignition Timing Stepper (ITS) Motor
(4)Fuel Solenoid
(5)Optical/Fuel Temperature Sensor
Figure 9:

Crankshaft Position (CKP) Sensor


Object Number: 192948  Size: SF
(1)Front Engine Cover
(2)Crankshaft Position (CKP) Sensor
(3)Mounting Bolt
Figure 10:

Powertrain Control Module (PCM)


Object Number: 352769  Size: SF
(1)Powertrain Control Modulte (PCM)
(2)Center Dash Panel
(3)Engine Harness
(4)Mounting Tray
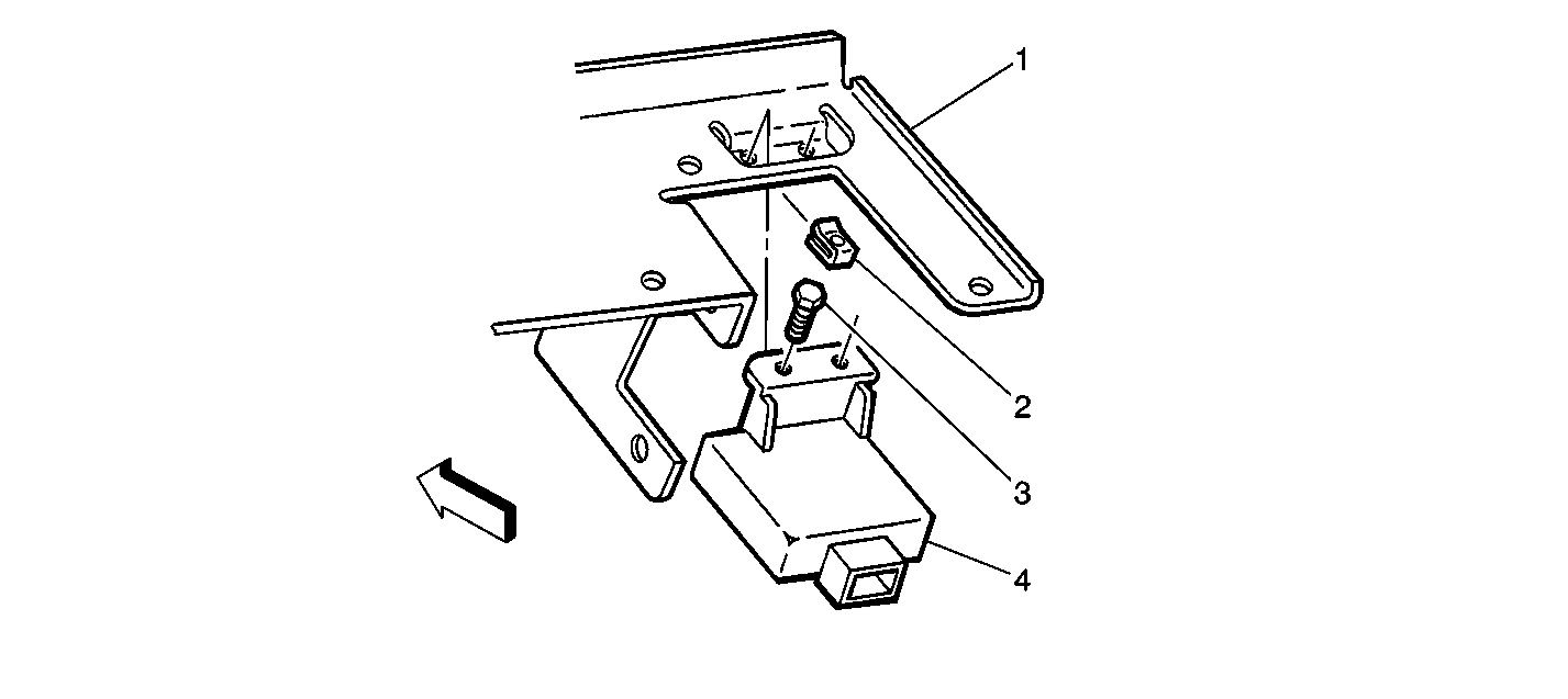
Figure 11:

VSS Buffer Module


Object Number: 263364  Size: SF
(1)Instrument Panel
(2)Nut
(3)Bolt
(4)VSS Buffer Module
Figure 12:

APP Module


Object Number: 192941  Size: SF
(1)APP Module
(2)Accelerator Pedal
(3)Brake Pedal
Figure 13:

Fuel Tank


Object Number: 263356  Size: MF
(1)Fuel Sender
(2)Fuel Tank
(3)Frame
(4)Rear Brace
(5)Mounting Strap