GM Service Manual Online
For 1990-2009 cars only

Removal Procedure

    Caution: Unless directed otherwise, the ignition and start switch must be in the OFF or LOCK position, and all electrical loads must be OFF before servicing any electrical component. Disconnect the negative battery cable to prevent an electrical spark should a tool or equipment come in contact with an exposed electrical terminal. Failure to follow these precautions may result in personal injury and/or damage to the vehicle or its components.

  1. Disconnect the negative battery cable.

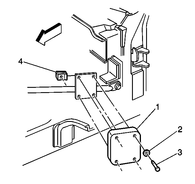
  2. Object Number: 370398  Size: SH
  3. Remove the electrical connector bolt from EBCM.
  4. Remove the electrical connector from EBCM.
  5. Remove the four EBCM mounting bolts (3) and four washers (2).
  6. Remove the EBCM (1) from the bracket.

Installation Procedure


    Object Number: 370398  Size: SH
  1. Install EBCM to bracket.
  2. Notice: Use the correct fastener in the correct location. Replacement fasteners must be the correct part number for that application. Fasteners requiring replacement or fasteners requiring the use of thread locking compound or sealant are identified in the service procedure. Do not use paints, lubricants, or corrosion inhibitors on fasteners or fastener joint surfaces unless specified. These coatings affect fastener torque and joint clamping force and may damage the fastener. Use the correct tightening sequence and specifications when installing fasteners in order to avoid damage to parts and systems.

  3. Install the EBCM (1) to the bracket.
  4. Install the four EBCM mounting bolts (3) and four washers (2).
  5. Tighten
    Tighten the four bolts to 8 N·m (71 lb in).

  6. Install the EBCM electrical connector.
  7. Install the EBCM electrical connector bolt.
  8. Tighten
    Tighten the EBCM electrical connector bolt to 2 N·m (18 lb in)

  9. Connect the negative battery cable.
  10. Return to Diagnostic System Check. Refer to Air ABS Diagnostic System Check .