GM Service Manual Online
For 1990-2009 cars only

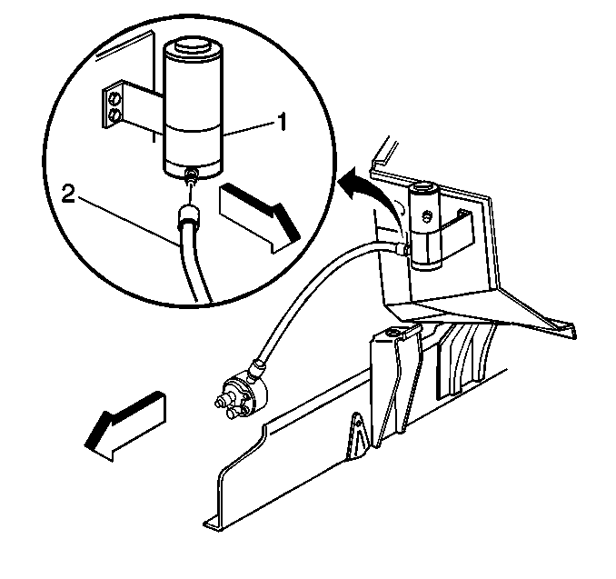
Removal Procedure


    Object Number: 219124  Size: SH
  1. Install a drain pan under the reservoir.
  2. Notice: Avoid contaminating the power steering system. Cap open hoses and ports to prevent dirt and debris from entering system. Contaminated power steering fluid and dirt can cause early parts failure.

    Important: Cap the hoses to prevent dirt from entering the system.

  3. Drain the reservoir (1) (Typical).

  4. Object Number: 367219  Size: SH
  5. Remove the hoses (2, 3) from the reservoir (1).
  6. Remove the following components:
  7. 4.1. The bolts (4)
    4.2. The washers (5)
  8. Remove the reservoir from the vehicle (Typical)).

Installation Procedure


    Object Number: 367219  Size: SH
  1. Install the reservoir (1) to the vehicle.
  2. Notice: Use the correct fastener in the correct location. Replacement fasteners must be the correct part number for that application. Fasteners requiring replacement or fasteners requiring the use of thread locking compound or sealant are identified in the service procedure. Do not use paints, lubricants, or corrosion inhibitors on fasteners or fastener joint surfaces unless specified. These coatings affect fastener torque and joint clamping force and may damage the fastener. Use the correct tightening sequence and specifications when installing fasteners in order to avoid damage to parts and systems.

  3. Install the following components:
  4. 2.1. The washer (5)
    2.2. The bolt (4)

    Tighten
    Tighten the reservoir mounting bolts to 28 N·m (21 lb ft). 

  5. Connect the hoses (2, 3) to the reservoir (1).
  6. Bleed the system. Refer to Power Steering System Bleeding .