GM Service Manual Online
For 1990-2009 cars only

Tools Required

J 42971 Quick Connect Release Tool


    Object Number: 219040  Size: SH

    Important: Always clean the connectors and lubricate the tool end in power steering fluid when inserting into the coupling in each procedure.

  1. Disconnect the fluid hose (3) (Gasoline Engines with Saginaw Power Steering and Hydraulic Brakes).

  2. Object Number: 219095  Size: MH
  3. Disconnect the fluid hoses (2, 6, 15) (Gasoline Engines with Saginaw Power Steering and Air Brakes).

  4. Object Number: 219104  Size: LH
  5. Disconnect the fluid hose (1) (Gasoline Engines with TRW Ross Power Steering Gear).

  6. Object Number: 219115  Size: MH
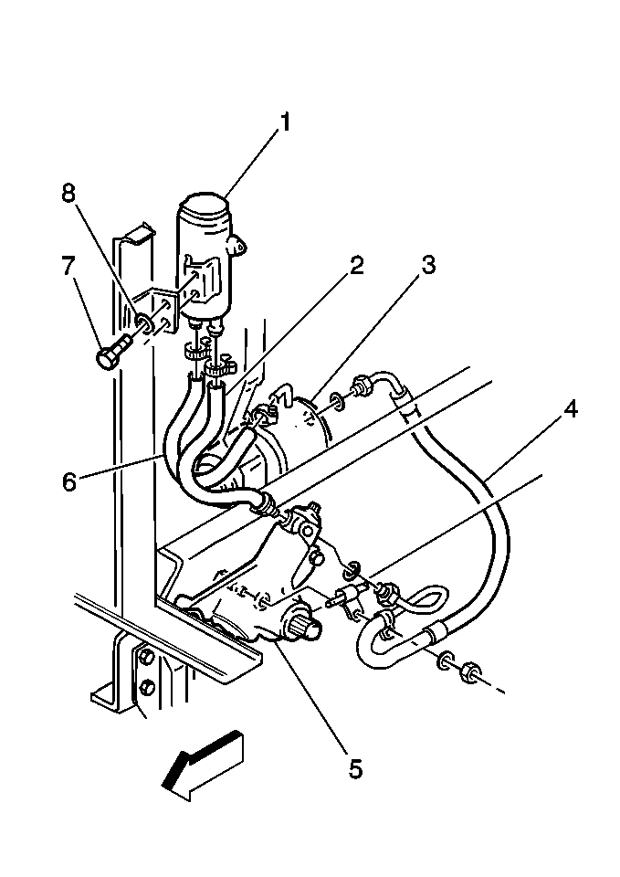
  7. Disconnect the fluid hoses (2, 4) (Gasoline Engines with TRW Ross Power Steering Gear, Remote Reservoir, Hydraulic Brakes).

  8. Object Number: 219346  Size: MH
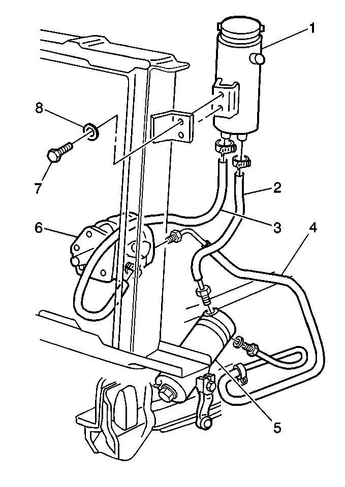
  9. Disconnect the fluid hoses (3, 6) (Gasoline Engines with TRW Ross Power Steering Gear, Remote Reservoir, Air Brakes).

  10. Object Number: 219116  Size: MH
  11. Disconnect the fluid hoses (4, 6) (Caterpillar® 3126 Engine with TRW Ross Power Steering Gear, Remote Reservoir, Hydraulic Brakes).

  12. Object Number: 219117  Size: MH
  13. Disconnect the fluid hoses (1, 9) (Caterpillar® 3126 Engine with TRW Ross Power Steering Gear, Remote Reservoir, Air Brakes).

  14. Object Number: 218240  Size: SH
  15. Disconnect the fluid hoses (1, 3, 5, 6, 7 ) (Caterpillar® 3126 Engine with TRW Ross Power Steering Gear, and Slave Steering Gear).
  16. Drain the power steering system.
  17. Raise the front of the vehicle.
  18. Important: Inspect that the engine is off.

  19. Turn the steering wheel from wheel stop to steering stop.

  20. Object Number: 219040  Size: SH
  21. Remove the fluid hose (3) (Gasoline Engines with Saginaw Power Steering and Hydraulic Brakes).

  22. Object Number: 219095  Size: MH
  23. Remove the fluid hoses (2, 6, 15) (Gasoline Engines with Saginaw Power Steering and Air Brakes).

  24. Object Number: 219104  Size: LH
  25. Remove the fluid hose (1) (Gasoline Engines with TRW Ross Power Steering Gear).

  26. Object Number: 219115  Size: MH
  27. Remove the fluid hoses (2, 4) (Gasoline Engines with TRW Ross Power Steering Gear, Remote Reservoir, Hydraulic Brakes).

  28. Object Number: 219346  Size: MH
  29. Remove the fluid hoses (3, 6) (Gasoline Engines with TRW Ross Power Steering Gear, Remote Reservoir, Air Brakes).

  30. Object Number: 219116  Size: MH
  31. Remove the fluid hoses (4, 6) (Caterpillar® 3126 Engine with TRW Ross Power Steering Gear, Remote Reservoir, Hydraulic Brakes).

  32. Object Number: 219117  Size: MH
  33. Remove the fluid hoses (1, 9) (Caterpillar® 3126 Engine with TRW Ross Power Steering Gear, Remote Reservoir, Air Brakes).

  34. Object Number: 218240  Size: SH
  35. Remove the fluid hoses (1, 3, 5, 6, 7) (Caterpillar® 3126 Engine with TRW Ross Power Steering Gear, and Slave Steering Gear).
  36. Drain all of the hoses.
  37. Use compressed air in order to blow out the hoses.
  38. Use NEW power steering fluid in order to flush the hoses.
  39. Drain the hoses.
  40. Use compressed air in order to blow out the hoses.

  41. Object Number: 219040  Size: SH
  42. Install the fluid hose (3) (Gasoline Engines with Saginaw Power Steering and Hydraulic Brakes).

  43. Object Number: 219095  Size: MH
  44. Install the fluid hoses (2, 6, 15) (Gasoline Engines with Saginaw Power Steering and Air Brakes).

  45. Object Number: 219104  Size: LH
  46. Install the fluid hose (1) (Gasoline Engines with TRW Ross Power Steering Gear).

  47. Object Number: 219115  Size: MH
  48. Install the fluid hoses (2, 4) (Gasoline Engines with TRW Ross Power Steering Gear, Remote Reservoir, Hydraulic Brakes).

  49. Object Number: 219346  Size: MH
  50. Install the fluid hoses (3, 6) (Gasoline Engines with TRW Ross Power Steering Gear, Remote Reservoir, Air Brakes).

  51. Object Number: 219116  Size: MH
  52. Install the fluid hoses (3, 6) (Caterpillar® 3126 Engine with TRW Ross Power Steering Gear, Remote Reservoir, Hydraulic Brakes).

  53. Object Number: 219117  Size: MH
  54. Install the fluid hoses (1, 9) (Caterpillar® 3126 Engine with TRW Ross Power Steering Gear, Remote Reservoir, Air Brakes).

  55. Object Number: 218240  Size: SH
  56. Install the fluid hoses (1, 3, 5, 6, 7) (Caterpillar® 3126 Engine with TRW Ross Power Steering Gear, and Slave Steering Gear).
  57. Set the parking brake.
  58. Place the transmission in neutral.
  59. Start the engine. Run the vehicle at idle.
  60. Caution: Do not touch the inner edge of spokes of steering wheel when testing. If power steering hoses have been crossed by mistake, the steering wheel may spin violently when it is turned, causing injury to hands. To stop the steering wheel from spinning, turn off the engine and make the necessary corrections.

  61. Turn the steering wheel.
  62. Be sure to contact the wheel from the outside only when turning the wheel.