GM Service Manual Online
For 1990-2009 cars only

Removal Procedure

    Caution: Unless directed otherwise, the ignition and start switch must be in the OFF or LOCK position, and all electrical loads must be OFF before servicing any electrical component. Disconnect the negative battery cable to prevent an electrical spark should a tool or equipment come in contact with an exposed electrical terminal. Failure to follow these precautions may result in personal injury and/or damage to the vehicle or its components.

  1. Disconnect the negative battery cable. Refer to Battery Replacement in Engine Electrical.
  2. Remove the steering wheel. Refer to Steering Wheel Replacement .
  3. Disconnect the shift cable from the column control lever, if the vehicle is equipped.

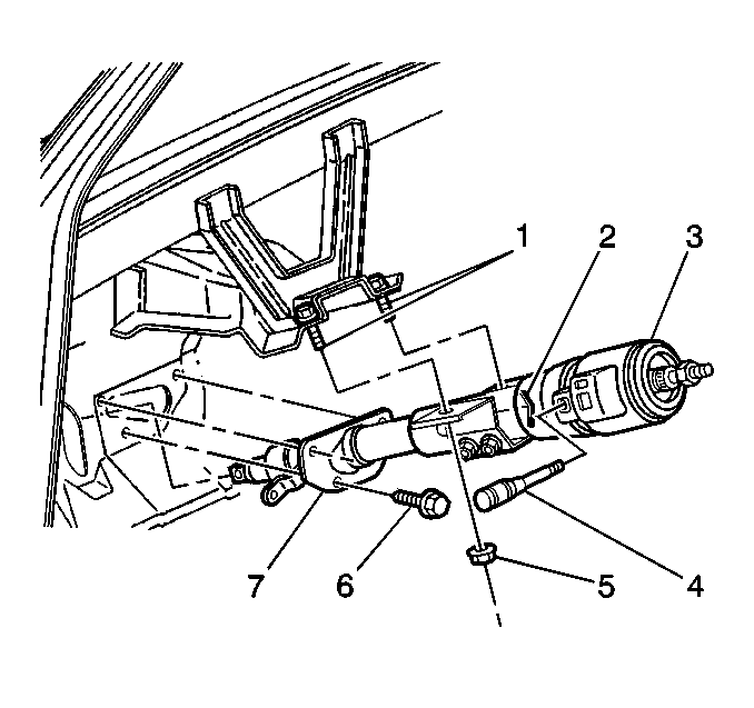
  4. Object Number: 306393  Size: SH
  5. Remove the pot joint bolt (1) from the steering shaft (2).
  6. Mark the relationship of the pot joint (4) to the steering shaft (2).

  7. Object Number: 215724  Size: SH
  8. Remove the screws/bolts (6) from the toe plate.
  9. Remove the support bracket cover screws and the cover.
  10. Remove the steering column harness at the connectors.
  11. For B models equipped with the column shifters follow the additional steps for the lower steering column:

    8.1. Disconnect the electrical switch.
    8.2. Remove the electrical switch and cover.
    8.3. Remove the column support bracket bolts, nuts (5), and washers.
  12. Remove the steering column assembly (3).

Installation Procedure


    Object Number: 215724  Size: SH
  1. Install the lower end of the steering column (3) through the dash opening.
  2. Install the bolts (6) and the nuts (5).
  3. Finger tighten the bolts (6) and the nuts (5).

  4. Object Number: 306393  Size: SH
  5. Guide the steering shaft (2) into the pot joint (4).
  6. Align the marks which were made at the removal.
  7. Notice: Use the correct fastener in the correct location. Replacement fasteners must be the correct part number for that application. Fasteners requiring replacement or fasteners requiring the use of thread locking compound or sealant are identified in the service procedure. Do not use paints, lubricants, or corrosion inhibitors on fasteners or fastener joint surfaces unless specified. These coatings affect fastener torque and joint clamping force and may damage the fastener. Use the correct tightening sequence and specifications when installing fasteners in order to avoid damage to parts and systems.

  8. Install the pot joint bolt (1). The bolt must pass through the shaft undercut.
  9. Tighten

        • Tighten the pot joint nut to 62 N·m (45 lb ft).
        • Tighten the steering column bracket bolt/screws (3) to 13 N·m (115 lb in).
        • Tighten the steering column support bracket nuts (1, 4) to 27 N·m (20 lb ft).
  10. Install the wiring connectors to the steering column harness.
  11. Install the column bracket cover.
  12. Install the steering wheel. Refer to Steering Wheel Replacement .
  13. Connect the shift cable to the column control lever, if the vehicle is equipped.
  14. Connect the negative battery cable.