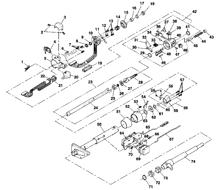
|
| (1) | Dimmer Switch Rod Actuator |
| (2) | Round
Washer Head Screw |
| (3) | Transmission Indicator Dial Housing Assembly |
| (4) | Steering
Column Lock Cylinder Set |
| (5) | Lock Housing Cover Assembly |
| (6) | Lock Retaining
Screw |
| (7) | Pan Head Soc Tap Screw |
| (8) | Inner Race |
| (9) | Upper Bearing Inner Race Seat |
| (10) | Turn
Signal Switch Assembly |
| (11) | Signal Switch Arm Assembly |
| (12) | Round Washer
Head Screw |
| (13) | Binding Head Cross Recess Screw |
| (14) | Upper Bearing Spring |
| (15) | Turn Signal
Cancel Cam Assembly |
| (16) | Steering Shaft Spacer |
| (17) | Bearing Retainer |
| (18) | Hexagon Jam
Nut |
| (19) | Wiring Protector |
| (20) | Steering Column Housing Cover End Cap |
| (21) | Pivot
and Pulse Switch Assembly |
| (22) | Switch Actuator Pivot Pin |
| (23) | Steering Shaft
Assembly |
| (24) | Lower Steering Shaft Assembly |
| (25) | Centering Sphere |
| (26) | Joint Preload
Spring |
| (27) | Centering Sphere |
| (28) | Race and Upper Shaft Assembly |
| (29) | Bearing Assembly |
| (30) | Shoe Release Lever |
| (31) | Release Lever Pin |
| (32) | Release Lever Spring |
| (33) | Shoe Spring |
| (34) | Pivot Pin |
| (35) | Dowel Pin |
| (36) | Drive Shaft |
| (37) | Wire Protector Shield |
| (38) | Steering Wheel Lock Shoe |
| (39) | Steering Wheel Lock Shoe |
| (40) | Steering
Column Housing |
| (41) | Bearing Assembly |
| (42) | Steering Column Housing Assembly |
| (43) | Spring Retainer |
| (44) | Tilt Spring |
| (45) | Spring Guide |
| (46) | Switch Actuator Sector |
| (47) | Pivot Pin |
| (48) | Switch Actuator Rack |
| (49) | Rack Preload
Spring |
| (50) | Steering Column Jacket Assembly |
| (51) | Gearshift Bowl Shroud |
| (52) | Gearshift Lever
Bowl Assembly |
| (53) | Shift Lever Spring |
| (54) | Transmission Indicator Pointer |
| (55) | Oval Head Cross Recess Screw |
| (56) | Shift Lever Gate |
| (57) | Support Screw |
| (58) | Steering
Column Housing Support Assembly |
| (59) | Steering Column Housing Support |
| (60) | Shift Tube
Retaining Ring |
| (61) | Thrust Washer |
| (62) | Lock Plate |
| (63) | Wave Washer |
| (64) | Ignition Switch Assembly |
| (65) | Ignition Switch Acutator Assembly |
| (66) | Washer Head Screw |
| (67) | Dimmer Switch
Actuator Rod |
| (68) | Hexagon Nut |
| (69) | Dimmer Switch Assembly |
| (70) | Dimmer and Ignition Switch Mounting Stud |
| (71) | Lower Bearing Adapter Clip |
| (72) | Bearing Adapter Retainer |
| (73) | Lower Bearing Adapter |
| (74) | Shift Tube Assembly |