GM Service Manual Online
For 1990-2009 cars only

Removal Procedure


    Object Number: 397987  Size: SH
  1. Lift the latch handle.
  2. Remove the bolt and nut from the latch.
  3. Remove the latch from the vehicle.

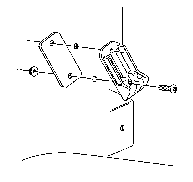
  4. Object Number: 397981  Size: SH
  5. Remove the following components from the latch catch:
  6. • The bolts
    • The nuts
  7. Remove the latch catch.

Installation Procedure


    Object Number: 397981  Size: SH

    Notice: Use the correct fastener in the correct location. Replacement fasteners must be the correct part number for that application. Fasteners requiring replacement or fasteners requiring the use of thread locking compound or sealant are identified in the service procedure. Do not use paints, lubricants, or corrosion inhibitors on fasteners or fastener joint surfaces unless specified. These coatings affect fastener torque and joint clamping force and may damage the fastener. Use the correct tightening sequence and specifications when installing fasteners in order to avoid damage to parts and systems.

  1. Use the bolts and nuts in order to install the latch catch.
  2. Tighten
    Tighten the nuts to 12 N·m (106 lb in).


    Object Number: 397987  Size: SH
  3. Use the bolt and the nut in order to install the latch.
  4. Tighten
    Tighten the bolt to 12 N·m (106 lb in).