GM Service Manual Online
For 1990-2009 cars only

Diagnosis will be much easier once you have identified a vibration as first-order of driveline rotation during the road test. Then identify the exact area that the vibration is coming from and take proper action.

In most cases, vibration may be reproduced in the stall. In the stall the vibration may be better or worse than that experienced during the road test.

The objective is to reduce the vibration to the lowest point possible in the stall, than evaluate the results on a road test. Many times, a vibration you were able to reduce drastically in the stall will be completely eliminated on the road.

The cause of first-order drive line vibration is usually excessive runout or an imbalanced component.

The following procedure offers a systematic process of elimination in order to determine which component is at fault:

  1. Raise the vehicle to curb height. Support the vehicle on a hoist or heavy stands. Refer to Lifting and Jacking the Vehicle in General Information.
  2. Remove the rear tire/wheel assemblies.
  3. • Refer to Wheel Removal
    •  Wheel Removal
    •  Wheel Removal
    •  Wheel Removal
    •  Wheel Removal in Tires and Wheels.
  4. Remove the air drums. Refer to Brake Drum Replacement
  5. Inspect the propeller shaft. The propeller shaft should be free of undercoating before continuing this diagnosis.
  6. Inspect the propeller shaft or U-joints for any obvious dents or damage. Dents or damage will contribute to first-order driveline vibrations.
  7. Start the engine.
  8. Place the transmission in gear.
  9. Run the vehicle up to the speed at which the vibration was most severe. Do not step on the brake while the air drums are removed.
  10. Note the vibration present, and at what speed.
  11. If the vibration is not present, refer to First-Order Driving Vibration Testing (Torque Sensitive) in the Road Testing Diagnosis.
  12. If the vibration is present, determine which end of the driveshaft is vibrating the most. Hold your hand against the pinion nose and the transmission tailshaft, or hold an EVA vibration sensor up to each component.
  13. If the vehicle is equipped with a two-piece propeller shaft, inspect the center support bearing for vibration.
  14. If the transmission tail is vibrating, touch the transmission crossmember under the transmission mount. If there is no vibration on the crossmember, then the transmission mount is working properly.
  15. Note which end of the driveshaft is the worst, and how severe the vibration is. The inspection will be a reference by which to judge future progress.

Helpful Hints

Do not fill the propeller shaft with foam, oil, or any other substance in order to correct a vibration. Filling the propeller shaft is only effective in reducing an unrelated condition called Torsional Rattle. Filling the propeller shaft should only be done in strict adherence to the procedure outlined in corporate bulletins that address Torsional Rattle. Failure to follow the correct procedure will induce a vibration and/or affect the structural integrity of the propeller shaft. The propeller shaft will then have to be replaced.

Propeller Shaft Runout

A propeller shaft or pinion (companion) flange with excessive runout causes first-order driveline vibrations. Use the following procedure in order to measure runout of the propeller shaft (2). The tolerances are critical for smooth operation of the driveline.

    • Remove excess corrosion of the propeller shaft surface before checking runout. Also inspect for damage and dents. Replace dented propeller shafts. Remove any undercoating from the propeller shaft before proceeding.
    • The measurement procedure that follows applies to all one-piece and two-piece propeller shaft assemblies.
        The splined end (1) of a propeller shaft is critical to the smooth operation of a two-piece propeller shaft. When checking stub-shaft runout, ensure that the dial indicator readings are accurate.

Measuring Propeller Shaft Runout

Tools Required

    • J 8001 Dial Indicator
    • J 7872 Magnetic Base Dial Indicator Set

    Object Number: 182256  Size: SH
  1. Raise the vehicle on a suitable hoist. Refer to Lifting and Jacking the Vehicle in General Information.
  2. Allow the wheels to spin freely.
  3. Attach J 8001 andJ 7872
  4. Place the transmission in Neutral. Rotate the pinion flange or transmission yoke by hand while taking the measurements for runout. The propeller shaft will turn easier in one direction than in the other. Removing the wheels and drums will also help.
  5. For one piece propeller shafts, if the runout exceeds the tolerances at one or more points:
  6. 5.1. Rotate the propeller shaft 180 degrees in the pinion flange. Reinstall the propeller shaft and recheck the measurement.
    5.2. If the runout still exceeds the tolerance, double-check the pinion flange runout before replacing the propeller shaft.
    5.3. Do not include fluctuations on the dial indicator due to welds or surface irregularities.
  7. For two-piece propeller shafts, if the runout exceeds the tolerances at one or more points:
  8. 6.1. Measure the rear propeller shaft.
    6.2. Mark the position of the rear shaft in the pinion flange, then remove the rear shaft.
    6.3. Measure the front propeller shaft runout on the tube and the stub shaft.
    6.4. Replace the propeller shaft if either measurement is out of tolerance.

Important: When you replace a propeller shaft, check the new shaft for runout. Double-check the pinion flange runout if the replacement shaft runout is also out of tolerance.

Measuring Pinion Flange Runout

Tools Required

    • J 8001 Dial Indicator Set
    • J 23409 Dial Indicator Extension
    • J 35819 Pinion Flange Runout Gauge
  1. Place the vehicle on a suitable hoist. Refer to Lifting and Jacking the Vehicle in General Information. Allow the wheels to rotate freely.
  2. Remove the propeller shaft from the pinion flange.

  3. Object Number: 176029  Size: SH
  4. Install the J 35819 Pinion Flange Runout Gauge
  5. Important: The dial indicator will have inverted readings. You are measuring the inside diameter of the flange, and not the outside diameter. The highest reading on the dial indicator is the low spot. The lowest reading is the high spot.

  6. Rotate the pinion shaft 360 degrees and zero the dial indicator on the low spot.
  7. Rotate the pinion flange again and record the total runout.
  8. If the pinion flange runout is 0.15 mm (0.006 in) or less, remove the pinion flange balance weight.
  9. If the pinion flange runout is over 0.15 mm (0.006 in) but no less than 0.28 mm (0.011 in), and the runout compensation weight is at or near the low spot, then no further action is necessary. Remove the weight if the runout compensation weight is not at or near the low spot.
  10. If the pinion flange runout is more than 0.28 mm (0.011 in) but no greater than 0.38 mm (0.015 in), and the balance weight is at or near the low point, then no further action is necessary. Remove the weight and re-index the pinion flange until the runout is 0.25 mm (0.010 in) or less if the runout compensation weight is not at or near the low spot.
  11. Replace the pinion shaft when the runout is 0.25 mm (0.010 in) or less. Then, recheck the runout. Service replacement flanges do not have balance weights.

Helpful Hints

    • Use a J 35819 Pinion Flange Runout Gauge
   • 
Object Number: 182274  Size: SH
  • If necessary, add compensation weights on the face of the pinion flange dust slinger. These weights are tack-welded onto the slinger. You may remove the weights with a die-grinder.
  •    • 
  • Carefully remove the spot weld at either end of the weight.
  •    • 
  • Do not remove the weight unless you have inspected the pinion flange runout and the procedure calls for weight removal.
  •    • 
  • Do not remove any weights on the outboard edge of the dust slinger. These weights are present in order to internal axle components. The weights are not related to the pinion flange runout.
  • Correcting Vibration at the Pinion Nose

    Most first-order driveline vibrations originate at the pinion nose end of the driveshaft. Ensure that the vibrations are at a minimum at this location in order to achieve acceptable results. Reduce the runout of the components to a minimum. Balance the driveline as a system when necessary.

    1. Measure the runout of the propeller shaft and check the tolerance.
    2. If the tolerance is excessive, mark the position of the shaft for future reference and rotate the shaft 180 degrees.
    3. Reinstall the shaft and recheck the runout. Inspect the level of vibration in order to determine if the vibration is lower or corrected.
    4. If the runout is still excessive, or if the vibration is still present, refer to Measuring Pinion Flange Runout. Replace the pinion flange or re-index the flange 180 degrees if the pinion flange runout exceeds the tolerance.
    5. Remove and reinstall the pinion flange only once on axles utilizing a "crush" type sleeve. Replace the sleeve with a new sleeve if the sleeve is "crushed". Removing the sleeve requires removal of the ring and pinion set. Therefore, replace flanges with excessive runout. Regardless of the method used, measure the pinion flange runout in order to ensure that the flange is within tolerance.

    6. Recheck the propeller shaft runout if the vibration is present after the pinion flange runout is corrected. If the propeller shaft runout is still excessive, correct the runout before doing a driveline system balance. Either replace the shaft with a shaft that is within tolerance or sublet the shaft to a reputable independent for straightening and re-balance. Ensure that the new or rebuilt shaft is within runout tolerance before you continue.
    7. Once the propeller shaft and pinion flange are within runout tolerances, check if the vibration is gone. If the level of the vibration is still unacceptable, perform a driveline system balance procedure.

    Correcting Vibration at the Transmission Tailshaft

    First-order driveline vibrations that originate at the transmission end of the propeller shaft are rare. If the tailshaft of the transmission is vibrating, inspect the tailshaft housing bushing for wear or damage. A leaky transmission tailshaft oil seal indicates bushing problems.

    Feel for vibration at the crossmember underneath the transmission mount. If there is no vibration, the transmission mount is doing its job of isolating the vibration from the structure of the vehicle. The transmission mount is therefore probably not cause of vibration.

    Use the following procedure if you can feel vibration on the crossmember and the tailshaft bushing, and if transmission output is normal:


      Object Number: 182281  Size: SH
    1. Measure the propeller shaft runout. If the runout is excessive, replace the shaft with one that has acceptable runout. Alternatively, sublet the shaft to a reputable independent service shop in order to have the shaft rebalanced and the runout corrected.
    2. Test drive the vehicle. If the vibration is still unacceptable, balance the shaft on the vehicle. Refer to Classifying the Vibration

    Correcting Vibration at the Center Support Bearing

    These guidelines apply to the two-piece propeller or three-piece shafts only. First-order driveline vibrations that occur mainly at the center support bearing (2) are usually the result of excessive runout at the stub (splined) shaft (3).

    Unlike other first-order driveline vibrations, these vibrations can appear at unusually low speeds of 40 km/h (25 mph) and up.

    Follow the following procedure to correct this type of vibration:

    1. Mark the position of the rear propeller shaft at both ends for proper reassembly. Remove the rear propeller shaft form the vehicle.

    2. Object Number: 182285  Size: SH
    3. Measure the runout of the splines about 12.7 mm (0.5 in) from the end (1).
    4. Replace the shaft if the runout exceeds the tolerances.
    5. Stub shaft/spline runout 0.076 mm (0.003 in)

    Troubleshooting Hints

    Vibration is eliminated with the correction of the propeller shaft runout. If some vibration is still present, perform a vehicle road test. Then, determine if an on-vehicle system balance is necessary.

    Driveline System Balance with Electronic Vibration Analyzer (EVA)

    To pinpoint the source, you must reproduce the vibration in the service stall and then determine which component is vibrating the most using the EVA:

    1. Support the vehicle on a suitable hoist or on safety stands. Ensure that the rear of the rear axle is at curb height. Do not allow the axle to hang. Refer to Lifting and Jacking the Vehicle
    2. Remove the rear tire/wheel assemblies
    3. • Refer to Wheel Removal
      •  Wheel Removal
      •  Wheel Removal
      •  Wheel Removal
      •  Wheel Removal in Tires and Wheels.
    4. Remove the air drums. Refer to Brake Drum Replacement
    5. Ensure that the propeller shaft is free of undercoating. Check for dents or damage to the propeller shaft or U-joints.
    6. Start the engine. Place the transmission in gear and run at the vehicle speed at which the vibration occurs at.

    Determine which end of the propeller shaft is vibrating the most. Hold the EVA's sensor against the pinion nose and the transmission tailshaft assembly. The higher the amplitude reading, the greater the vibration.

    If the vehicle has a two-piece propeller shaft, check the center support bearing.

    If the transmission tailshaft vibrates, check the transmission crossmember under the transmission mount. The vibration should not be present if the mount is doing its job.

    Runout and Balance Testing with the Electronic Vibration Analyzer (EVA)

    Ensure that the runout of the various driveline components are within specifications. If the runouts are within specifications, strobe balance the driveline. The EVA is able to simplify the balancing process, using the following procedure:

    1. Use the EVA in order to determine which end of the propeller shaft has the most vibration.

    2. Object Number: 182137  Size: SH
    3. Mark the end of the propeller shaft (1) that has the most vibration at four points, 90 degrees apart. Number the marks 1 through 4 (2).
    4. Mount the EVA sensor onto the bottom of the following components:
    5. • The differential housing
      • The center bearing support (for two-piece or three-piece propeller shafts)
      • The transmission tailshaft assembly
    6. Position the sensor as close to the propeller shaft as possible. Ensure that the UP side of the sensor faces up. Ensure that the sensor is horizontal.
    7. Start the engine.
    8. Turn off all engine accessories.
    9. Place the transmission in gear.
    10. Run the vehicle at the speed which causes the most vibration in the propeller shaft.
    11. Hook the timing light clip to the trigger wire.
    12. Plug the vibration sensor into Input A of the EVA. Input B does not have strobe light capability.
    13. Verify that the predominant frequency on the EVA display matches the frequency of the original vibration. Use the strobe light only if the rotation speed of the propeller shaft is the predominant frequency.
    14. The EVA displays a series of questions in order to select the correct filter. Press YES in order to select the desired filter. Ensure that the frequency is in the middle of the filter range. Use the full range only as a last resort.
    15. The display shows the test frequency, the amplitude and the filter range. The driveline is balanced when the amplitude is near two. In some cases a slightly higher amplitude will provide adequate balance.
    16. Point the timing light at the propeller shaft. The strobe effect will appear to freeze the propeller shaft. Note which of the numbered marks is at the bottom of the propeller shaft, or the 6  o'clock position. This position is the light spot.
    17. Turn the engine off.
    18. Install a weight directly on the light spot.
    19. Start the engine.
    20. Run the vehicle at peak vibration speed.
    21. Strobe the propeller shaft again.

    The propeller shaft is balanced if the strobe image is erratic and the amplitude is near two.

    The propeller shaft is not balanced if one of the following conditions exist:

       • 
  • The weight and the original light spot are at the 6 o'clock position.
  • The above condition means that there is not enough weight on the propeller shaft. In order to correct the balance, add a second weight next to the first weight. Inspect the balance again using the strobe light.


    Object Number: 182176  Size: SH
  • If the weights are now between 90 and 180 degrees off (between the 9 and the 3 o'clock positions) too much weight exists. In order to correct the balance, split the two weights equally on either side of the original light spot in order to produce a total weight between one and two weights (between 0 and 120 degrees apart). Inspect the balance again using the strobe light. Adjust the weights as necessary.
  •     • The weight and original light spot are 90 to 180 degrees off (between the 9 and the 3 o'clock positions).
            The above condition means that one weight is too much. In order to correct the balance, split the two weights equally on either side of the original light spot in order to produce a total weight less than one (between 120 and 180 degrees apart). Inspect the balance again using the strobe light. Adjust the weights as necessary.
        • The weight and the original light spot are within 180 degrees of the 6 o'clock position.
            Move weight towards the 6 o'clock position. Inspect the balance again using the strobe light. Adjust the weight as necessary. Refer to the previous two conditions.

    If the shaft will not balance using two weights, then place a third weight on the light spot. Split the first two weights in order to produce a total weight between two and three weights.

    If three weights fail to balance the driveline, then replace the propeller shaft.

    When the propeller shaft balances, road test the vehicle in order to verify that the vibration is eliminated.

    Driveline System Balance without the Electronic Vibration Analyzer

    The following procedure is designed to fine-tune the balance of the propeller shaft while it is mounted in the vehicle. The procedure also is able correct residual imbalance of the remaining driveline components.

    Prior to balancing the driveline system, verify that the propeller shaft and the pinion flange runout are within specification.

    Do not overheat the engine when performing this procedure.

    1. Raise the vehicle to curb height. Support the vehicle on a hoist or on safety stands. Do not allow the axle to hang. Refer to Lifting and Jacking the Vehicle in General Information.
    2. Remove the rear tire/wheel assemblies.
    3. • Refer to Wheel Removal
      •  Wheel Removal
      •  Wheel Removal
    4. Remove the air drums. Refer to Brake Drum Replacement
    5. Determine which end of the propeller shaft has the most vibration in order to identify where to begin installing the hose clamps.

    6. Object Number: 182137  Size: SH
    7. Mark the end of the propeller shaft (1) which has the most vibration at four points, 90 degrees apart. Number the marks 1 through 4 (2).

    Troubleshooting Hints

    The following procedure uses a trial and error method of determining where to place the hose clamps on the shaft. Use the following tips in order to help locate the clamps:

    1. Because the imbalance may be related to propeller shaft runout, begin installing the clamps at the low point of the propeller shaft runout.
    2. When the plant workers balance the propeller shaft, they use weights in graduated increments: 1/16 oz, 1/8 oz, etc. If the stock weight is too light or too heavy, place the hose clamp either directly in line with or opposite to the stock weight.

    The last method involves road testing the vehicle at a speed which the vibration is felt.

    1. Carefully hold a piece of chalk up to the very end of the propeller shaft. Barely touch the chalk to the shaft.
    2. Shut the engine off in order to stop the propeller shaft from rotating. Do not step on the brake pedal. Do not put the transmission in Park.
    3. Inspect the chalk mark.

    If you performed the above procedure correctly, the chalk mark will indicate the heavy spot on the shaft. The heavy spot deflected downward and touched the chalk. If the chalk mark circle the entire shaft, touch the chalk more gently to the shaft. Ensure that the chalk touches only the heavy spot. Once the heavy spot is located, place the hose clamp 180 degrees opposite to the chalk mark. Then perform the following steps:


      Object Number: 182176  Size: SH
    1. Place the hose clamp at the light spot, or at any of the four points marked previously.
    2. Test drive the vehicle at the speed at which the vibration occurred. Record any changes in the vibration.
    3. Move the clamp to the other positions.
    4. Test drive the vehicle each time the clamp is moved. Record any changes in vibration. Note which position gives the best balance.

    If the vibration does not change at all, or gets worse, then one clamp is too light or too heavy.

        • If the vibration did not change at all, then repeat the procedure using two clamps together.
        • If the vibration got worse, repeat the procedure using two clamps separated. Separate the clamps to reduce the spinning weight.

    Continue the trial and error procedure using different weights in different locations until you achieve the best balance. If more that three clamps aligned in the same position are required, then replace the propeller shaft.

    If you are able to reduce the vibration in the stall, but are unable to eliminate the vibration completely, perform a road test on the vehicle. A slight vibration noticeable in the stall may not be noticeable on the road.

    Propeller Shaft Balance Weights


    Object Number: 182176  Size: SH

    When using clamps in order to balance a propeller shaft with the total wight method, the correction weight required will often be a fraction or a multiple of one hose clamp. Use the following phasing procedure with two hose clamp in order to accurately place any required amount between zero weights (0.0 total weight) to two weights (2.0 total weight).

    Ensure that the clamps are located with even spaces on either side of the light spot, or 180 degrees opposite the heavy spot.

    The following table contains the weight amounts in terms of the total weight and the included angle (spread) between the clamps.

    The main objective of this section is to correct the conditions that interfere with the proper cancellation effect of the U-joints (1). The most common condition, especially where the where launch shudder is concerned, is incorrect driveline working angles. However, other factors may aggravate the condition.

    Address these factors before you attempt to measure or correct driveline working angles:

        • Worn, failed, damaged, or improperly installed U-joints (2)
        • Worn, collapsed, or improper powertrain mounts
        • Incorrect vehicle trim height adjustment for the front suspension. This condition aggravates launch shudder.
        • Incorrect trim height adjustment for the rear suspension.
        • Trim height inspection includes trim heights that are too low or too high. Vehicles equipped with aftermarket lift kits, vehicles that are constantly loaded with cargo, and custom conversion vans all fit in this category. On rear drive vehicles, the pinion nose tilts upward as the rear trim height is lowered.

    If a second-order driveline vibration exists after these conditions are corrected, measure and correct the driveline angles.

    If the complaint is present only with cargo in the vehicle, perform the measurements with the vehicle fully loaded. Once a second-order driveline vibration has been corrected with the vehicle loaded, the vibration may reappear with the vehicle unloaded. The reverse of this is also true. You may have to reach a compromise with the customer in this case.

    Driveline Working Angles

    Tools Required

        • J 38460 Digital Inclinometer
        • J 23498-A Driveshaft Inclinometer
        • J 23498-20 Driveshaft Inclinometer Adapter

    Object Number: 6498  Size: SH

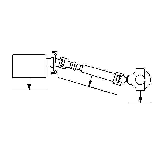
    Driveline working angle does not refer to the angle of any one shaft, but to the angle that is formed by the intersection of two shafts, as shown.

    The procedure for measuring and correcting driveline working angles depends on whether the vehicle is equipped with a one or two-piece propeller shaft.

    You need a J 38460 Digital Inclinometer

        • The J 23498-A Driveshaft Inclinometer
        • The J 38460 Digital Inclinometer
        • Use J 23498-20 Driveshaft Inclinometer Adapter

    To verify the accuracy of the adapter, check the angle of an angle of an accessible joint with the inclinometer prior to assign it on an inaccessible joint.

    Preliminary Checks

    Raise the vehicle on a suitable hoist or on safety stands. Ensure that the rear axle is supported at curb height and that the wheels are free to spin. Refer to Lifting and Jacking the Vehicle in General Information. Place the transmission in Neutral. Make sure the vehicle has a full tank of fuel or the equivalent amount of weight in the rear to simulate a full tank. 3.8 liters of gasoline (one gallon) weighs approximately 2.8 kg (6.2 lb).

    Checking Phasing of U-joints

    Inspect the propeller shaft for correct phasing. This means that the front and rear U-joints are directly in line or parallel with each other so that proper cancellation takes place.


      Object Number: 182316  Size: SH
    1. Rotate the propeller shaft so that the propeller shaft rear U-joint bearing cap (1) is vertical as shown.

    2. Object Number: 182325  Size: SH
    3. Ensure that the front bearing cap (1) is also vertical.
    4. Place the inclinometer on the propeller shaft rear U-joint bearing cap in order to ensure that both U-joints are vertical.
    5. Set the indicator line above the sight glass on 15 (the horizontal reference) and rotate the propeller shaft until the bubble centers in the sight glass. This brings the rear U-joint to vertical.
    6. Remove the inclinometer without disturbing the setting. Leave the setting on 15 and install the inclinometer on the front U-joint. The bubble should remain centered plus or minus 3 degrees if the shaft is properly phased.

    The out of phasing of the single-piece propeller shaft is very unusual. If the shaft is visibly out of place, the end yokes are welded on in the wrong position, or the shaft is damaged due to twisting. In either case, replace the propeller shaft before continuing with this procedure.

    Measuring the Working Angles

    The working angle of a U-joint is the difference between the angles formed when two shafts intersect. One piece propeller shaft systems have two working angles, the front and the rear.

        • The two working angles should be equal within 1/2 of a degree.
        • The working angles themselves should not exceed 4 degrees.
        • The working angles themselves should not be equal to zero because a zero working angle will cause premature U-joint wear due to lack of rotation of the U-joints.

    Object Number: 301898  Size: SH

    The angle of the propeller shaft and the rear axle pinion form the rear working angle (2). The angle of the propeller shaft and the transmission output shaft form the front working angle (1).

    The angles of these components are most accurately measured from the U-joint bearing caps. The bearing caps should be free of corrosion or foreign material to ensure accurate readings. Remove any snap rings that may interfere wit the correct placement of the inclinometer. Do not forget to reinstall them after you take the measurements.

    Take the measurements from the same side of the propeller shaft to maintain consistent angle measurements (either driver or passenger side).


    Object Number: 302013  Size: SH

    It is extremely helpful to record the readings on a diagram like the one shown as you proceed through the measurements.

    Evaluation

    The two working angles in a one-piece propeller shaft system should be equal to within 1/2 of a degree for effective cancellation.

    Measuring Two-Piece Propeller Shaft System Working Angles

    Two-piece propeller shaft systems have three working angles instead of two as in one-piece systems.

       • 
    Object Number: 301900  Size: SH
  • The first angle is the front working angle (1). It is formed by the angle of the output shaft of the transmission and the angle of the front propeller shaft.
  •    • 
  • The second angle (2) is the middle working angle. It is formed by the angle of the front propeller shaft and the angle of the rear propeller shaft.
  •    • 
  • The third angle is the rear working angle. It is formed by the angle of the rear propeller shaft and the angle of the pinion yoke of the rear axle.
  • This system has an odd joint that does not have another joint to provide cancellation. Therefore, the rear working angle and the middle working angle act as a pair of joints to cancel each other out, like in one-piece propeller shaft systems.

    The front angle is considered the odd joint because it does not have another joint to provide cancellation. Because of this, the working angle of the odd joint must be kept at or under 1/2 or a degree.


    Object Number: 302012  Size: SH

    Keep the working angle of this odd joint to a minimum so that there are not any great fluctuations in speed that need to be canceled out. The front joint is used as the odd joint because the front joint angle does not change with suspension bounce, rebound, or axle windup. For this reason, think of the front propeller shaft of a two piece system as an extension of the transmission output shaft.

    Measuring Three-Piece Propeller Shaft System Working Angles


    Object Number: 301902  Size: SH

    Three-piece propeller shaft systems have four working angles instead of two as in one-piece systems.

        • The first angle is the front working angle. It is formed by the angle of the output shaft of the transmission and the angle of the front propeller shaft.
        • The second angle is the middle working angle. It is formed by the angle of the front propeller shaft and the angle of the rear propeller shaft.
        • The third angle is the rear working angle. It is formed by the angle of the rear propeller shaft and the angle of the pinion yoke of the rear axle.

    Object Number: 302009  Size: SH

    This system has an odd joint that does not have another joint to provide cancellation. Therefore, the rear working angle and the middle working angle act as a pair of joints to cancel each other out, like in one-piece propeller shaft systems.

    The front angle is considered the odd joint because it does not have another joint to provide cancellation. Because of this, the working angle of the odd joint must be kept at or under 1/2 or a degree.

    Keep the working angle of this odd joint to a minimum so that there are not any great fluctuations in speed that need to be canceled out. The front joint is used as the odd joint because the front joint angle does not change with suspension bounce, rebound, or axle windup. For this reason, think of the front propeller shaft of a two piece system as an extension of the transmission output shaft.

    Propeller Shaft Phasing

    The setup and measurement techniques are identical to that of all propeller shaft systems. First, check for proper phasing:


      Object Number: 301817  Size: SH
    1. Turn the rear shaft so the rear U-joint is straight up and down. Ensure that the front U-joint of the (1) propeller shaft is also straight up and down.
    2. Rotate the shafts 90 degrees so that the front propeller shaft front U-joint is straight up and down. Ensure that the propeller shaft is also straight up and down (actually part of the slip yoke on the shaft) (1). If the two U-joints of the propeller shaft are not in this phase (2), the two halves of the propeller shaft may have been assembled incorrectly.

    Propeller Shaft(s) Lateral Alignment

    The procedure for lateral alignment of a propeller shaft(s) is used for launch shudder or any second-order, driveline vibrations. Adjust the lateral alignment before you measure and adjust the driveline angles.

    1. Raise and suitably support the vehicle on a hoist. Refer to Lifting and Jacking the Vehicle in General Information.
    2. Look down the front of the propeller shaft.

    3. Object Number: 182343  Size: SH
    4. If the propeller shaft is not straight, or if the center bearing support, if equipped, is off to one side, relocate center support bearing, if equipped, to make the propeller shaft assembly as straight as possible. Ensure that you do not create a ground-out condition against the exhaust or another component.

    If launch shudder or second-order driveline vibration is still present, measure and correct the driveline angles.

    Measuring Propeller Shaft Working Angles

    This procedure is essentially the same, for all propeller shaft(s). You must, however, take into account the third angle if you have more than one propeller shaft.


      Object Number: 6499  Size: SH
    1. Place the inclinometer on the propeller shaft bearing cap.

    2. Object Number: 6502  Size: SH
    3. Center the bubble in the sight glass and record the measurement. The bearing cap must be straight up and down to obtain accurate measurement. Enter the measurements on your diagram.
    4. Rotate the propeller shaft 90 degrees and place the inclinometer on the transmission output yoke bearing cap. Again, the bearing cap must be straight up and down to obtain an accurate measurement.
    5. Center the bubble in the sight glass and record the measurement.
    6. Subtract the smaller reading from the larger reading to obtain the front U-joint working angle.

    Evaluation

    The working angle is within tolerance, following the rule that the working angle of an odd joint in a two-piece joint system is 1/2 degree or less. Notice that in each of the good examples that the front working angle (FWA) is 1/2 degree or less and is treated as a separate joint. The middle working angle (MWA) and rear working angle (RWA) are subtracted and the difference (DIFF) is 1/2 degree or less. The middle and rear joints may cancel each other.

    Correcting Working Angles

    In order to change the working angles, shim the components up or down. Look closely at the existing angles. Use the existing angles and the shims in order to achieve the correct working angles.

    Compared to horizontal or true level, the components located at the rear of the vehicle are usually lower than the components located at the front of the vehicle. This condition is called "down in the rear". If a component with a down in the rear angle is shimmed up at the rear, then the shim will bring the component closer to the horizontal (zero). Alternately, if a component with a down in the rear angle is shimmed down, then the component will move farther from the horizontal (zero).

    Rear Axle Wind-Up

    Rear axle wind-up may cause launch shudder even when all of the working angles are within specifications. Rear axle wind-up occurs when heavy torque during acceleration causes the pinion nose to point upward. In order to compensate for axle wind-up, tip the pinion nose downward. Install the axle shims incrementally, performing a road test after each shim. Add shims until the road test indicates that the shudder is eliminated.

    Rear Axle Shims

    Wedge shims of different sizes are available through GM SPO and independent suppliers for the purpose of shimming the rear axle angle. GM shims are available in two, three and four degrees.


    Object Number: 182361  Size: SH

    Caution: Never attempt to shim a rear axle using anything except shims that are designed for this purpose. Failure to do so will result in the shims falling out and a loss of vehicle control and that could cause personal injury.

    Install the shims (5) in order to increase or decrease the angle of the rear axle pinion. Install the shims between the leaf spring (3) and the spring seat. Depending on the design of the suspension (leaf spring on top or underneath the axle), and the direction of the desired change, install the shims with either the thick side toward the front of the vehicle or toward the rear of the vehicle.

    Important: After installing the shims, ensure that the U-bolt has two or three threads above the nut. Ensure also that the center bolt, located in the spring seat, is long enough to seat in the locator hole. If these two conditions do not exist, use longer U-bolts and center bolts. Longer U-bolts and center bolts are available through local spring shops.

    Transmission Shims


    Object Number: 182364  Size: SH

    If a transmission requires shims, order the shims.

    Installing most shims will change the transmission angle approximately 1/2 degree.

    When shimming transmissions, use a shim made from steel stock at the necessary thickness. Ensure that the shim contacts the full width of the area to be shimmed. Do not use washers.