GM Service Manual Online
For 1990-2009 cars only
Makes
🢒
Chevrolet
🢒
1998
🢒
Chevrolet C-Series Medium Duty Truck B7
🢒 Cell 22: Engine Data Sensors
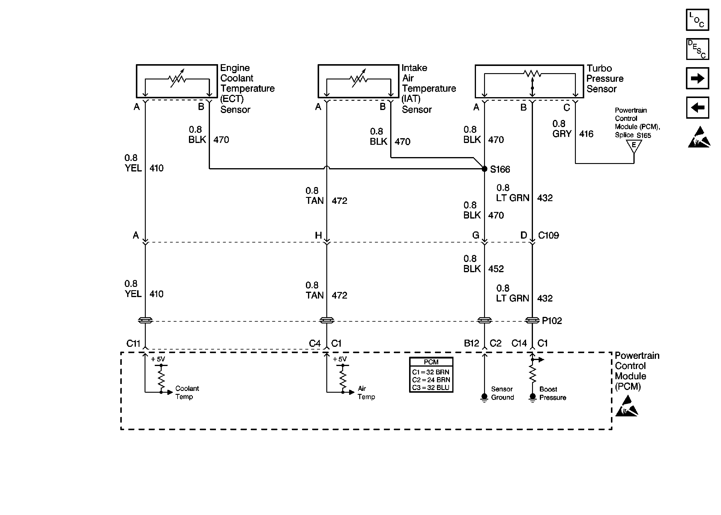
Cell 22: Engine Data Sensors
Cell 22: Engine Data Sensors
Engine Controls Components
Cell 22: Instrument Panel Cluster (IPC), Speedo Adapter and Vehicle Speed Sensor
Cell 22: Electronic Fuel Injection Pump and Powertrain Control Module
Handling ESD Sensitive Parts Notice