GM Service Manual Online
For 1990-2009 cars only

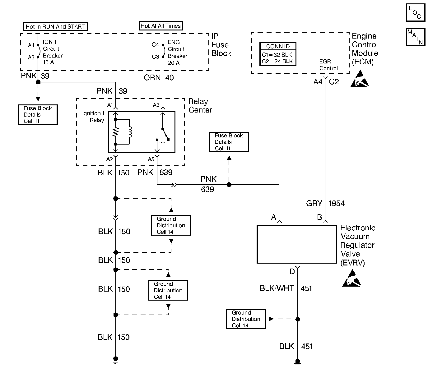
Object Number: 344226  Size: LF
Engine Controls Components
Cell 20: EGR, EOP Gauge and Sensor, Indicators, PCM, HI IDLE and Neutral Switch
Handling ESD Sensitive Parts Notice
Handling ESD Sensitive Parts Notice

Circuit Description

The ECM operates a solenoid in order to control the Exhaust Gas Recirculation (EGR) valve. This solenoid is normally closed. By providing a ground path, the ECM energizes the solenoid which allows the vacuum to pass to the EGR valve.

Conditions for Setting the DTC

The ECM monitors the EGR effectiveness by de-energizing the EGR control solenoid shutting OFF vacuum to the EGR valve diaphragm. With the EGR valve closed, the fuel integrator counts will be greater than they were during the normal EGR operation. If the change is not within the calibrated window, a DTC 32 will be set.

The ECM will check the EGR operation when:

    • The engine vacuum is between 40 and 51 kPa.
    • The TP signal is between 5% and 60% with no change in throttle position while the test is running.
    • The engine speed is above 2,000 RPM.
    • The EGR duty cycle is above 50%.

Action Taken When the DTC Sets

The Malfunction Indicator Lamp (MIL) will illuminate.

Conditions for Clearing the MIL/DTC

The conditions for the fault are no longer present and 50 ignition cycles have passed with no further faults or the ignition switch is turned OFF and the battery feed voltage is removed for 10 seconds.

Diagnostic Aids

The electrical check cannot diagnose the EVRV solenoid because of the solid state circuitry involved.

Check the vacuum lines thoroughly for proper routing. Refer to Vehicle Emission Control Information Label located on engine air cleaner.

Test Description

The numbers below refer to the step numbers on the Diagnostic Table.

  1. With the ignition ON and the engine OFF, the solenoid should not be energized and the vacuum should not pass to the EGR valve. Grounding the diagnostic terminal will energize the solenoid and allow the vacuum to pass to EGR valve.

  2. Checks for plugged EGR passages. If passages are plugged, the engine may have severe detonation on acceleration.

  3. Drive the vehicle must be driven during this test in order to produce sufficient engine load in order to operate the EGR. Lightly accelerating (approximately 1/4 throttle) will produce a large and stable enough reading in order to determine if the ECM is commanding the system ON.

DTC 32 - Exhaust Gas Recirculation (EGR) Error

Step

Action

Value(s)

Yes

No

1

Did you perform the On-Board Diagnostic (OBD) System Check?

--

Go to Step 2

Go to Powertrain On Board Diagnostic (OBD) System Check

2

  1. If the vehicle exhibits a rough or incorrect idle, repair the idle complaint first. Refer to Rough, Unstable, or Incorrect Idle and Stalling .
  2. Disconnect the EVRV solenoid vacuum hose (manifold side).
  3. Check vacuum source to EVRV solenoid and repair if necessary.
  4. Check the vacuum hose at the EVRV solenoid for restrictions.
  5. Install a hand held vacuum pump with the gauge on the manifold side of the EVRV solenoid.
  6. Turn the ignition ON leaving the engine OFF.
  7. Install a scan tool.
  8. Ground the diagnostic terminal at the DLC.
  9. Apply the vacuum.
  10. Observe the EGR valve.

Does the EGR valve move?

--

Go to Step 3

Go to Step 7

3

  1. Plug the vacuum hose from throttle body.
  2. Remove the ground from the diagnostic terminal.
  3. Make sure EGR valve is in a normally closed position.
  4. Start the engine and allow the engine to idle.
  5. Lift up on the EGR diaphragm. Observe the idle.

Does the idle roughen?

--

Go to Step 4

Go to Step 5

4

  1. Reconnect the EVRV solenoid.
  2. Connect vacuum gauge to the vacuum hose at the EGR valve.
  3. Make sure the engine is at the normal operating temperature.
  4. Place the transmission in gear.
  5. Lightly accelerate from a stop.
  6. Observe the vacuum gauge.

Is the EGR vacuum less than the specified value?

34 kpa (10 in Hg)

Go to Intermittent Conditions

Go to Step 6

5

  1. Remove the EGR valve.
  2. Check the passages for being plugged.
  3. If you find a problem, repair as necessary.

Did you find a problem?

--

Go to Step 16

Go to Step 11

6

Replace the EGR filter.

Is the action complete?

--

Go to Step 16

--

7

  1. Disconnect the EVRV solenoid connector.
  2. Probe the ignition feed harness connector with a test lamp to ground.

Is the lamp ON?

--

Go to Step 8

Go to Step 12

8

Connect a test lamp between the ignition feed and the EVRV solenoid assembly ground circuit.

Is the lamp ON?

--

Go to Step 9

Go to Step 13

9

  1. Connect a test lamp between the ignition feed and the EGR control circuit.
  2. Ground the diagnostic terminal at the DLC.

Is the test lamp ON?

--

Go to Step 10

Go to Step 14

10

Replace the EVRV solenoid.

Is the action complete?

--

Go to Step 16

--

11

Replace the EGR valve. Refer to Exhaust Gas Recirculation (EGR) System Diagnosis .

Is the action complete?

--

Go to Step 16

--

12

Repair the open in the ignition feed circuit.

Is the action complete?

--

Go to Step 16

--

13

Repair the open in the ground circuit.

Is the action complete?

--

Go to Step 16

--

14

  1. Check for an open in the EGR control circuit.
  2. If you find a problem, repair as necessary.

Did you find a problem?

--

Go to Step 16

Go to Step 15

15

Replace the ECM. Refer to Engine Control Module Replacement .

Is the action complete?

--

Go to Step 16

--

16

  1. Clear the DTCs. Refer to Clearing DTCs.
  2. Start the engine and idle it at the normal operating temperature.
  3. Operate the vehicle within the conditions for setting this DTC as specified in the supporting text.

Did the DTC reset?

--

Go to Step 2

Go to Step 17

17

Are any DTCs stored which you have not diagnosed?

--

Go to the Applicable DTC Table

System OK