GM Service Manual Online
For 1990-2009 cars only

Removal Procedure


    Object Number: 399459  Size: SH
  1. Remove the engine mount through bolt.
  2. Raise the engine just enough to remove the engine mount.
  3. Remove the engine mount from the engine assembly.

  4. Object Number: 399461  Size: SH
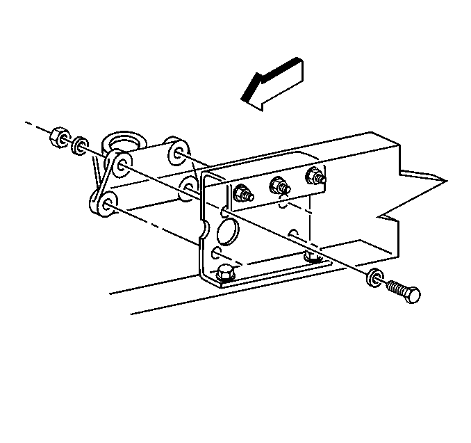
  5. Remove the bolt from the frame to the engine mount bracket.
  6. Remove the engine mount bracket from the frame.

Installation Procedure


    Object Number: 399461  Size: SH
  1. Install the engine mount bracket to the frame.

  2. Object Number: 399459  Size: SH

    Notice: Use the correct fastener in the correct location. Replacement fasteners must be the correct part number for that application. Fasteners requiring replacement or fasteners requiring the use of thread locking compound or sealant are identified in the service procedure. Do not use paints, lubricants, or corrosion inhibitors on fasteners or fastener joint surfaces unless specified. These coatings affect fastener torque and joint clamping force and may damage the fastener. Use the correct tightening sequence and specifications when installing fasteners in order to avoid damage to parts and systems.

  3. Install the frame bolts and the nuts to the engine mount.
  4. Tighten
    Tighten the nuts to 48 N·m (36 lb ft).

  5. Install the engine mount to the engine assembly.
  6. Lower the engine.
  7. Install the engine mount through bolt.
  8. Tighten
    Tighten the engine mount through bolt to 95 N·m (70 lb ft).

  9. Install the nut for the engine mount.
  10. Tighten
    Tighten the nut for the engine mount to 70 N·m (50 lb ft).