GM Service Manual Online
For 1990-2009 cars only

Removal Procedure

    Caution: Before removing or installing any electrical unit, or when a tool or equipment could easily come in contact with exposed electrical terminals, make sure the engine control switch is in the "OFF" position. In cases where the circuit would still be "live" or "hot at all times", disconnect the negative battery cable. This is to help prevent personal injury and/or damage to the vehicle or components.

  1. Remove the hydraulic lines or the air lines, as equipped, from the radiator shutter control valve. Refer to Shutter Control Valve Hose Replacement .

  2. Object Number: 203612  Size: SH
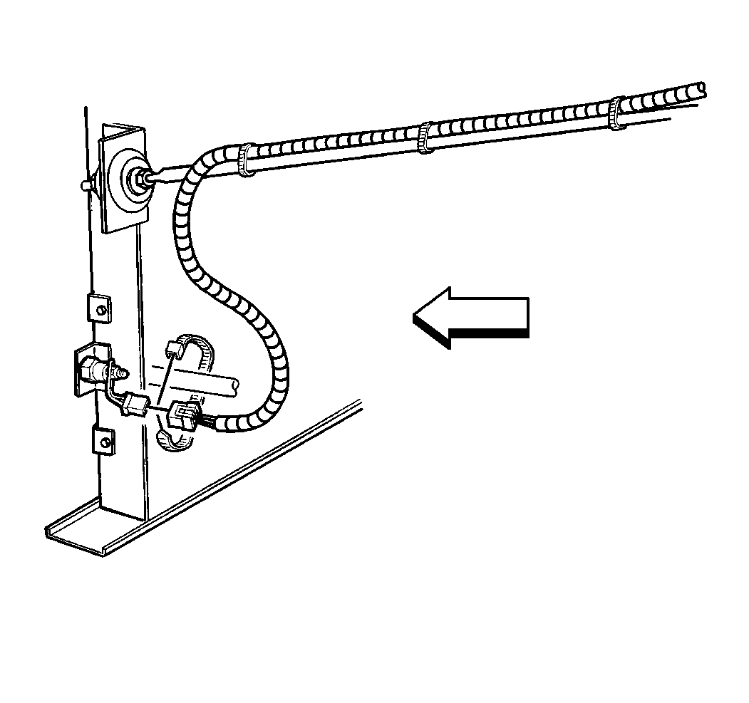
  3. Remove the electrical connector to the radiator shutter control valve.

  4. Object Number: 203623  Size: SH
  5. Remove the fittings from the control valve.

  6. Object Number: 203612  Size: SH
  7. Remove the radiator shutter control valve mounting nut.

  8. Object Number: 203617  Size: SH
  9. Remove the radiator shutter control valve from the radiator lower mounting panel.

Installation Procedure


    Object Number: 203617  Size: SH
  1. Install the radiator shutter control valve to the radiator lower mounting panel.

  2. Object Number: 203612  Size: SH

    Notice: Use the correct fastener in the correct location. Replacement fasteners must be the correct part number for that application. Fasteners requiring replacement or fasteners requiring the use of thread locking compound or sealant are identified in the service procedure. Do not use paints, lubricants, or corrosion inhibitors on fasteners or fastener joint surfaces unless specified. These coatings affect fastener torque and joint clamping force and may damage the fastener. Use the correct tightening sequence and specifications when installing fasteners in order to avoid damage to parts and systems.

  3. Install the radiator shutter control valve mounting nut.
  4. Tighten
    Tighten the radiator shutter control valve mounting nut to 13 N·m (115 lb in).

  5. Install the electrical connector to the radiator shutter control valve.

  6. Object Number: 203623  Size: SH
  7. Install the fittings to the control valve.
  8. Tighten

        • Tighten the air fitting to 6 N·m (53 lb in).
        • Tighten the hydraulic fitting to 20 N·m (15 lb ft).
  9. Install the hydraulic lines or the air lines, as equipped, to the radiator shutter control valve.