GM Service Manual Online
For 1990-2009 cars only

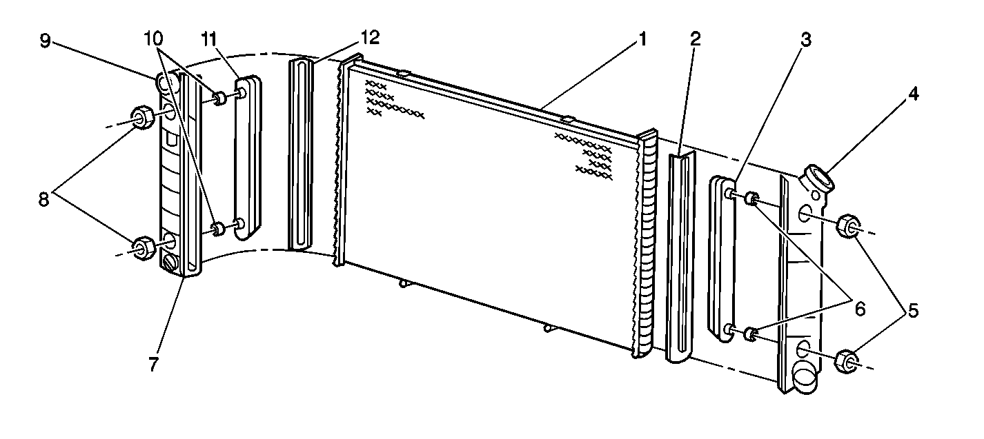
Radiator


Object Number: 236154  Size: SF
(1)Core
(2)Side Tank Gasket
(3)Transmission Oil Cooler
(4)Outlet Tank
(5)Cooler Retaining Nut
(6)Cooler Gasket
(7)Drain Cock
(8)Cooler Retaining Nut
(9)Inlet Tank
(10)Cooler Gasket
(11)Engine Oil Cooler
(12)Side Tank Gasket

This radiator uses an aluminum core (1) with plastic core tanks (4, 9).

The core tanks house the automatic transmission coolers (3) and the engine oil coolers (11), if equipped.

The drain cock (7) is located in the lower tank. The drain cock is serviceable.

Core

This core is made of aluminum. The core is constructed with a crossflow design. The crossflow design uses large tubes, which resist plugging. Clinched tabs on the core attach the core to the tank.

Tanks

Clinched tabs attach the tanks (4, 9) to the core. The clinched tabs are attached to the sides of the core. The clinched tabs can be bent back in order to allow removal of the tanks. Bend the tabs back only enough to remove the tank. Excessive bending weakens the tabs.

A high-temperature rubber gasket (2, 12) seals the mating surface between the core and the tank. Replace the gasket when a tank is removed from the core.

Drain Cock


Object Number: 198896  Size: SH

The aluminum/plastic radiator uses the following components:

    • A two-piece plastic drain cock .
        The drain cock is serviceable.
    • A rubber seal.