GM Service Manual Online
For 1990-2009 cars only

Removal Procedure


    Object Number: 204724  Size: SH
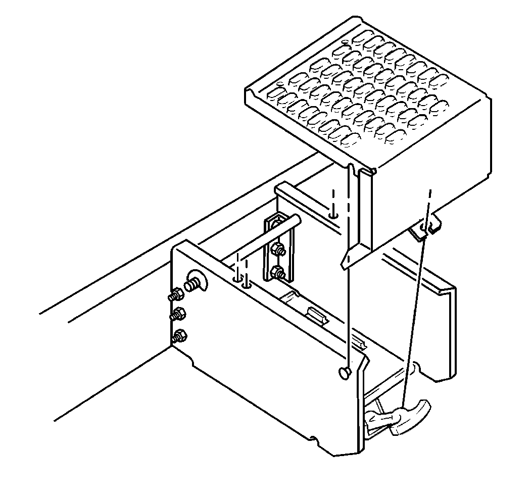
  1. Remove the battery carrier cover.

  2. Object Number: 204727  Size: SH

    Caution: Unless directed otherwise, the ignition and start switch must be in the OFF or LOCK position, and all electrical loads must be OFF before servicing any electrical component. Disconnect the negative battery cable to prevent an electrical spark should a tool or equipment come in contact with an exposed electrical terminal. Failure to follow these precautions may result in personal injury and/or damage to the vehicle or its components.

  3. Disconnect the negative cable from the negative battery terminal.
  4. Disconnect the positive cable from the positive battery terminal.

  5. Object Number: 204720  Size: SH
  6. Remove the battery hold-down retainer nut or bolt.
  7. Remove the battery from the carrier.
  8. Inspect the following components for damage:
  9. • The battery
    • The cables and the connectors
    • The carrier
  10. Clean the components as necessary.

Installation Procedure

  1. Install the battery into the cleaned carrier.
  2. Install the battery hold-down retainer or top bar.

  3. Object Number: 204720  Size: SH
  4. Install the hold-down nut or bolt.
  5. Notice: Use the correct fastener in the correct location. Replacement fasteners must be the correct part number for that application. Fasteners requiring replacement or fasteners requiring the use of thread locking compound or sealant are identified in the service procedure. Do not use paints, lubricants, or corrosion inhibitors on fasteners or fastener joint surfaces unless specified. These coatings affect fastener torque and joint clamping force and may damage the fastener. Use the correct tightening sequence and specifications when installing fasteners in order to avoid damage to parts and systems.

  6. Install the hold-down nut or bolt.
  7. Tighten
    Tighten the battery hold-down bolt to 23 N·m (17 lb ft).

    Tighten the top bar nut to 17 N·m (13 lb ft).


    Object Number: 204727  Size: SH
  8. Connect the positive cable to the positive battery terminal. Refer to Battery Cable Replacement .
  9. Connect the negative cable to the negative battery terminal. Refer to Battery Cable Replacement .
  10. Tighten

        • Tighten the side post terminal bolt to 17 N·m (13 lb ft).
        • Tighten the top post terminal nut to 23 N·m (17 lb ft).

    Object Number: 204724  Size: SH
  11. Install the battery carrier cover.