GM Service Manual Online
For 1990-2009 cars only

Starter Inspection 37-MT

Cleaning and Inspection Procedure

  1. Wipe all of the components clean with a dry cloth.
  2. Do not clean the components in a degreasing tank or with grease dissolving solvents.
  3. Inspect the armature bushing fit in the following components:
  4. • The end frame
    • The lever housing
    • The nose housings
  5. Perform the following procedure if the bushings are worn:
  6. If the bushings are not worn proceed to armature shaft inspection.

    4.1. Replace the bushings.
    4.2. Puncture a small hole in the oil cup.
    4.3. Pry out the oil cup and remove the old wick.
    4.4. Install a new wick and a new oil cup.
    4.5. Lubricate the new oil wicks and the new bushings before assembling the starter motor. Refer to Lubrication Procedure.
  7. Inspect the armature shaft for runout or scoring.
  8. Replace the armature assembly if the armature assembly is not in proper condition.

  9. Inspect the commutator for runout.
  10. If the commutator exhibits any of the following conditions, cut the commutator on a lathe until the commutator is true:
  11. • Wear
    • Dirt
    • Out of round
    • High insulation
    • Do not undercut the commutators on these starter motors.
  12. Deburr the commutator by lightly sanding the commutator with 400 grit sandpaper. Never use emery cloth in order to clean the commutator.

  13. Object Number: 1033  Size: SH
  14. Perform the following procedure in order to inspect the armature for short circuits:
  15. 9.1. Use a steel strip, such as a hacksaw blade, held on the armature parallel to the shaft in order to rotate the armature in a growler.
    9.2. Inspect steel strip for vibration.

    The steel strip will vibrate on the area of the short circuit.

  16. Clean the commutator if a short exists between the commutator bars.
  17. Brush dust or copper dust may cause a short.

  18. Inspect the armature for loose connections where the conductors join the commutator bars.
  19. Poor connections cause arcing and burning of the commutator.

  20. If the bars are not extensively burned, use resin core solder in order to reattach the leads.
  21. Remove burned material by turning the commutator down in a lathe.

  22. Object Number: 1034  Size: SH
  23. Use a self-powered test lamp in order to inspect the armature for grounds.
  24. The armature is grounded if the test lamp lights when one test probe is placed on the commutator and the other on the armature core or shaft. Brush dust between the commutator bars and the steel commutator ring may cause grounding.

  25. Inspect the motor housing and the solenoid housing for oil and water.
  26. The presence of oil or water indicates one of the following conditions:

    • Broken O-ring seals
    • Leaking gaskets
    • Oil seal wear
    • A torn solenoid rubber boot.
  27. Replace all seals and gaskets as necessary.
  28. Inspect the brushes for wear.
  29. New brushes measure about 25 mm (0.9 in) in length.

  30. Replace the brushes if the brushes are worn to half the size of a new brush.
  31. Inspect the brush holders for cleanliness or damage.
  32. Verify that the brushes are not binding the holders.

  33. Inspect the brush springs for the following conditions:
  34. • Weakness
    • Distortion
    • Discoloring
    • Replace the brush springs if any of the above conditions exist.
  35. Inspect the field coils for the following conditions:
  36. • Burned or damaged insulation
    • Damaged connections
    • Loose poles
    • Replace the field coils if any of the above conditions exist.
  37. Perform the following procedure in order to inspect the field frame assembly for grounds:
  38. 22.1. Inspect the field coil brush lead connectors.

    Verify that the field coil brush lead connectors are not touching any ground source.

    22.2. Connect a ohmmeter between the field frame and the field connector.

    If the ohmmeter field coil is grounded.

    22.3. Replace the field coil if the field coil is grounded.
  39. Connect a ohmmeter from the field connector to each of the field coil brush leads in order to inspect the field coils for opens
  40. The ohmmeter should read at each lead. If the ohmmeter does not read at each lead, the field coil is open.

  41. Inspect the field coils for shorts.
  42. Poor motor performance after all other possibilities have been evaluated indicates a short.

    Important: Tighten the inner nuts (next to the cap) on each of the solenoid terminals before making any electrical tests. Electrical tests may appear erratic or give incorrect indications of open circuits if the following conditions occur:

       • The inner nuts are loosened as the leads are removed.
       • The terminals are loose in the cap.

  43. Disconnect all of the leads from the solenoid

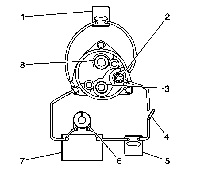
  44. Object Number: 203367  Size: SH
  45. Make the test connections shown in the above figure in order to test the solenoid hold-in winding on a type 300 solenoid.

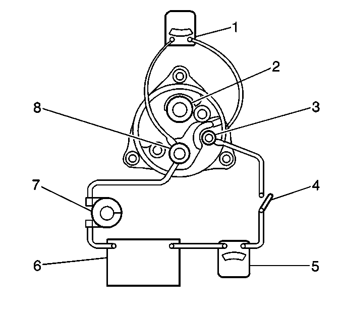
  46. Object Number: 203368  Size: SH
  47. Make the test connections shown in the above figure in order to test the solenoid hold-in winding on a type 350 solenoid.
  48. Turn the solenoid switch to the ON position.
  49. Adjust the carbon pile in order to lower the battery voltage to the specified value. Refer to 37-MT Starter Motor Specifications in Starter Motor Usage .
  50. Measure the ampere reading. Compare the ampere reading with the specified hold-in winding value. Refer to 37-MT Starter Motor Specifications in Starter Motor Usage .
  51. A high ampere reading indicates a shorted or grounded winding. A low ampere reading indicates excessive resistance. Use a digital ohmmeter that can measure tenths of an ohm in order to measure the winding resistance.


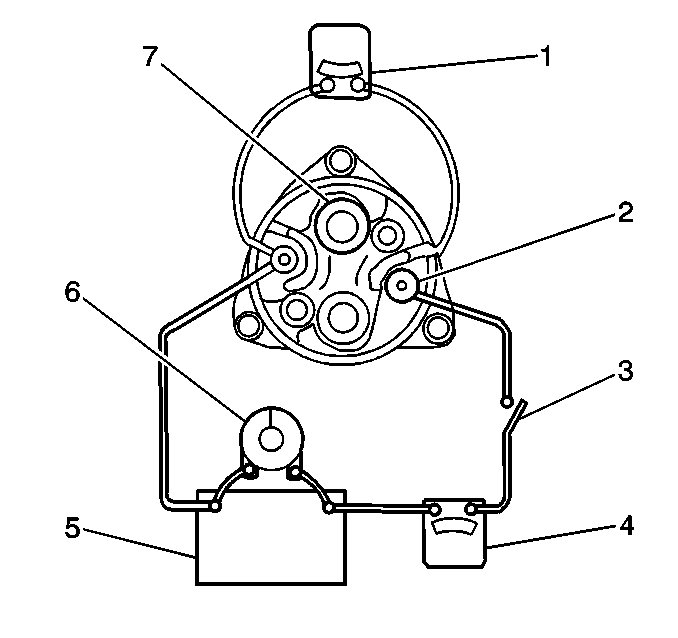
    Object Number: 203369  Size: SH

    Notice: To prevent overheating of the solenoid pull-in winding, do not leave the winding energized for more than 15 seconds. The current draw will decrease as the winding temperature increases.

  52. Make the test connections shown in the above figure in order to test the solenoid pull-in winding on type 300 and type 350 solenoids.
  53. Compare the reading to the specified pull-in winding value. Refer to 37-MT Starter Motor Specifications in Starter Motor Usage .
  54. A high reading indicates a shorted pull-in winding. A low reading indicates excessive resistance.

    Important: Use this test on four-terminal solenoids only. These solenoids hold in windings are grounded through the fourth terminal and the windings are insulated from the case. The three-terminal solenoid hold in windings is normally grounded to the case. The three-terminal solenoid cannot be tested in this manner.

  55. Disconnect all of the other solenoid leads in order to test the four-terminal solenoid for grounds.
  56. Connect a self-powered test lamp between the solenoid S terminal and a clean metal ground on the solenoid case.
  57. The lamp should not light on a four-terminal solenoid.

  58. Inspect the drive assembly by turning the drive pinion in the cranking direction.
  59. Replace the clutch assembly if the drive pinion turns roughly or slips in the cranking direction.

Lubrication Procedure

Periodic lubrication of the 37-MT starter motor is not required. The supply of oil provided by the tangential oil wicks is sufficient to last through the engine overhaul interval. The tangential oil wicks are located in the housings at each of the three armature shaft bushings. Install new wicks with a fresh oil supply any time one of the following conditions occurs:

    • Engine overhaul
    • Bushing replacement

Lubricate new bushings and wicks as described before installing the bushings and wicks into the starter. Also lubricate the spacer between the armature and lever housing any time the starter motor is disassembled to the point of removing the armature.


    Object Number: 205403  Size: MH
  1. Lubricate the armature/lever housing spacer (24) lightly with Delco Remy Lubricant No. DC 33 or the equivalent.
  2. Lubricate the three bushings prior to installation by dipping the bushings in SAE 20 non-detergent oil.
  3. The sintered bronze bushings used in the 37-MT starter motor are porous. The oil from the oil wicks will soak through the bushings in order to lubricate the armature shaft. Do not perform any of the following actions to the bushings:

    • Cross-drill
    • Ream
    • Machine
  4. Lubricate the three oil wicks prior to installation by soaking the new wicks for at least one hour in SAE 20 non-detergent oil. SAE 20 non-detergent oil may also be added to previously installed wicks at other times if desired.
  5. Use the following procedure in order to remove the wicks from the oil wells:

    3.1. Drill small holes in the cups.
    3.2. Use a screw or a hook in order to pull the wicks out of the cups.
    3.3. Pull the wick from the oil well in the housing.
    3.4. Discard the old wicks and the cups.
    3.5. Replace the wicks and the cups with new components.

Thermostat Test (Overcrank Protection)

  1. Verify that the motor is cool.
  2. The circuit should be closed.


    Object Number: 203352  Size: SH
  3. Connect an ohmmeter to the two thermostat terminals (4) on the starter motor.
  4. The ohmmeter should read zero (continuity). If the ohmmeter does not read zero then the thermostat has an open circuit.
  5. Replace the thermostat (2) and the lead terminal assembly if an open exists.