GM Service Manual Online
For 1990-2009 cars only

Power and Grounding Component Views Power Distribution

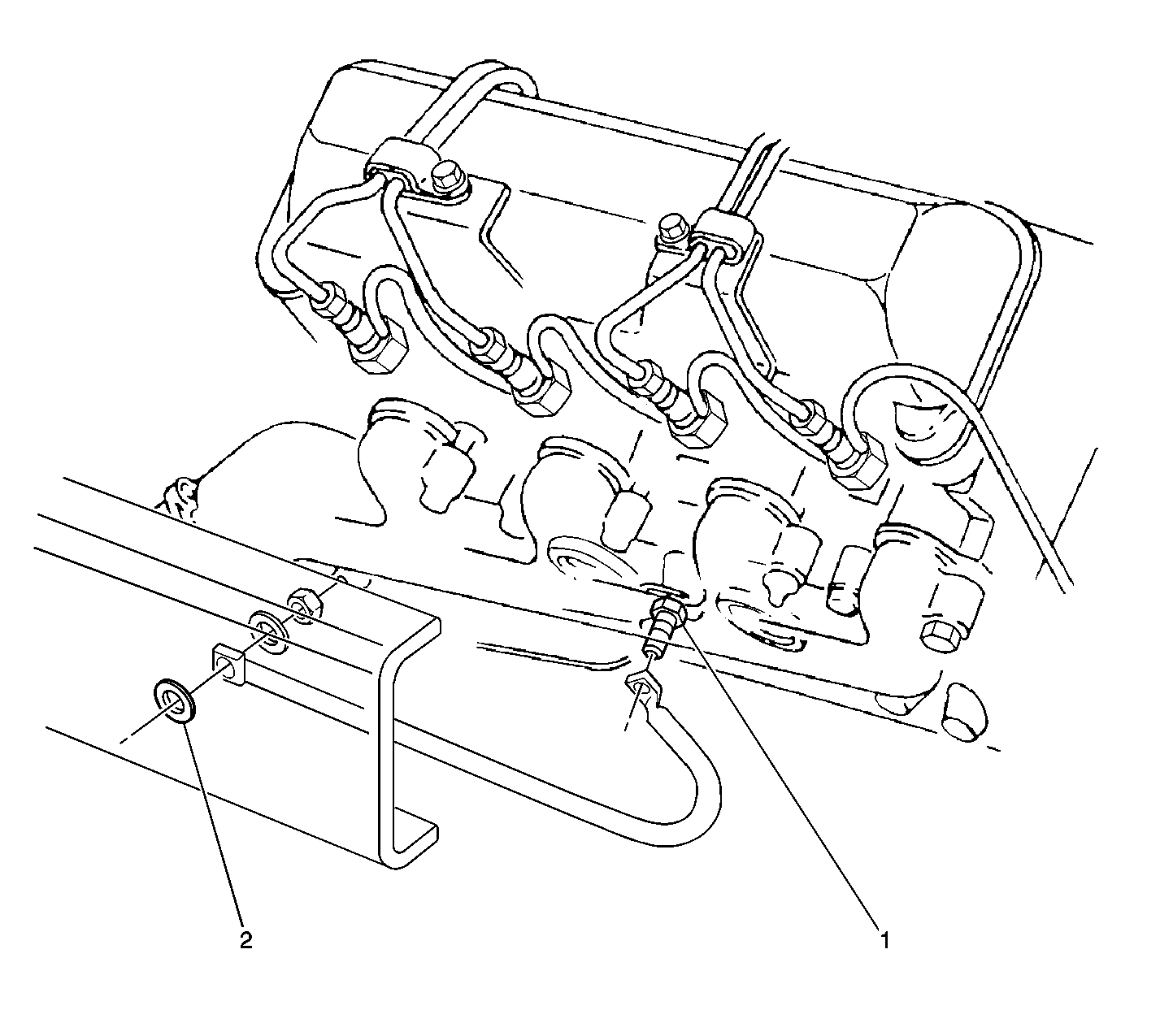
Figure 1:

IP Harness to Dash Panel, Right Forward


Object Number: 230863  Size: LF
(1)Relay Center
(2)Vehicle Speed Sensor (VSS) Buffer
(3)Fuse Block 2
(4)Fuse Block 1
(5)IP Fuse Block/Mini-Relay Center
(6)Flasher/Relay Center, Position 3
(7)Flasher/Relay Center, Position 2, Exhaust Brake Relay
(8)Flasher/Relay Center
(9)Flasher/Relay Center, Position 1
Figure 2:

Batteries and Battery Cables, Left Front View


Object Number: 235956  Size: LF
(1)Negative Battery Cable to Battery Cable
(2)Negative Battery to Battery Cable
(3)Battery Cable Harness
(4)Left Battery (Triple Batteries)
(5)Center Battery (Triple Batteries)
(6)Right Battery (Triple Batteries)
(7)Positive Battery to Battery Cable
(8)Positive Battery to Battery Cable
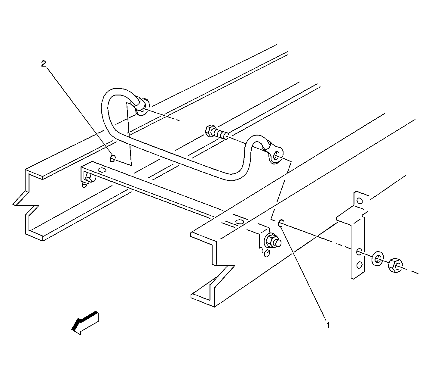
Figure 3:

Negative Battery Cable Extension


Object Number: 204742  Size: SH
Figure 4:

Body Ground Strap to Frame Rail, Left Front View


Object Number: 230864  Size: LF
(1)Body Ground Strap
Figure 5:

Engine to Frame Ground Cable, Left Front View (LP4/L21)


Object Number: 235951  Size: LF
(1)Left Engine Ground Cable
Figure 6:

Engine Harness and Battery Cable to Starter (LP4/L21), Upper Right Front


Object Number: 220294  Size: MF
(1)Starter Solenoid
(2)Starter Motor
(3)Starter SW Terminal
(4)Starter BATT Terminal
(5)Starter Solenoid C1 (ring terminal)
(6)Starter Solenoid C4 (ring terminal)
(7)Starter Solenoid C2 (ring terminal)
(8)Fusible Link M
(9)Positive Battery Cable
Figure 7:

Generator to Engine Ground Strap Components, Upper Right Forward View (LG5)


Object Number: 216267  Size: LF
(1)Generator
(2)Generator Ground Strap
Figure 8:

Generator to Engine Ground Strap Wiring, Upper Right Side Forward View (LP4/L21)


Object Number: 216268  Size: LF
(1)Generator
(2)Generator Ground Strap
Figure 9:

Engine Harness to Generator Components, Upper Right Forward View


Object Number: 220302  Size: MF
(1)Generator B+ Terminal
(2)Generator
(3)Generator Connector
(4)Generator Ground Strap
Figure 10:

IP, Right Forward View


Object Number: 230753  Size: LF
(1)IP Fuse Block
Figure 11:

Steering Column, Left Forward View


Object Number: 227483  Size: LF
(1)Ignition Switch
(2)Headlamps Dimmer Switch
Figure 12:

IP Harness to Dash Panel (JE5 Shown, JE3 Similar), Center Front View


Object Number: 216172  Size: LF
(1)Hourmeter
(2)Automatic Transmission (A/T) Selector Connector (I/P Mounted)
(3)Turn Signal Switch
(4)Low Air Pressure Switch
(5)Ignition Switch C1 (5 cavities)
(6)Ignitions Switch C2 (4 cavities)
(7)Stoplamps Switch C1 (4 cavities)
Figure 13:

Engine Harness and Battery Cables to Starter (LG5), Upper Right Front (Components)


Object Number: 220297  Size: MF
(1)Starter Solenoid
(2)Starter BATT Terminal
(3)Starter SW Terminal
(4)Starter Solenoid C4 (ring terminal)
(5)Starter Solenoid C2 (ring terminal)
(6)Starter Motor
(7)Positive Battery Cable
Figure 14:

Left Side of IP (Components), Forward


Object Number: 220291  Size: MF
(1)IP Lamps Dimmer Switch
(2)Instrument Cluster
(3)Exhaust Brake Clutch Switch Jumper Plug
(4)Exhaust Brake Clutch Switch
(5)Upfitter Connector (23 cavities)
(6)Upfitter Connector Jumper (23 cavities)
(7)Upfitter IP (+) Junction Block
(8)Daytime Running Lamp (DRL) Control Module
(9)Driver Information Center
(10)Headlamps Switch
Figure 15:

Starter Motor Ground, Right View (KQR, LG5)


Object Number: 235957  Size: LF
(1)Starter Solenoid
(2)Negative Battery Cable
(3)Engine Harness
(4)Starter Motor
(5)Starter Motor Ground Cable
(6)Starter Motor Ground Cable
Figure 16:

Starter Ground, Right View (LG5)


Object Number: 235953  Size: LF
(1)Starter Solenoid
(2)Starter Motor
(3)Negative Battery Cable
(4)Engine Harness Ground
(5)Starter Motor Ground Cable
Figure 17:

Starter Ground Cable, Right View


Object Number: 206103  Size: SH
Figure 18:

Engine Harness to Dash Panel, Right Forward View (LP4/L21)


Object Number: 230774  Size: LF
(1)Engine Control Module (ECM)
(2)ECM C2 (24 cavities)
(3)ECM C1 (32 cavities)
(4)MaxiFuse® Block Power Feed
Figure 19:

Engine Harness to Dash Panel, Right Forward View


Object Number: 230768  Size: LF
(1)Powertrain Control Module (PCM) C3 (32 cavities)
(2)PCM C2 (24 cavities)
(3)PCM C1 (32 cavities)
(4)PCM
(5)Maxifuse® Block/Mini-Relay Center
(6)Flasher Relay Center
(7)Upfitter Provision for Windshield Washer Motor
Figure 20:

Forward Lamps, Left Front View


Object Number: 229995  Size: LF
(1)C102 (7 cavities)
Figure 21:

Engine Harness, Left Forward View (LG5)


Object Number: 229879  Size: LF
(1)C104 (2 cavities)
(2)C401 (2 cavities)
(3)C409 (8 cavities)
Figure 22:

Starter Harness Wiring, Right Front View (KQR, LG5)


Object Number: 232021  Size: LF
(1)G101, Starter End GND Terminal
(2)C106B (1 cavity)
(3)C106A (1 cavity)
Figure 23:

Engine Harness and Battery Cables to Starter, Upper Right Front View (Wiring) (LG5)


Object Number: 231594  Size: MF
(1)G101
(2)C106B (1 cavity)
(3)C106A (1 cavity)
(4)C406 (2 cavities)
(5)C404 (5 cavities)
(6)G101, Starter GND Terminal
Figure 24:

Engine Harness, Upper Left View


Object Number: 232035  Size: LF
(1)C109 (8 cavities)
(2)C110 (10 cavities)
(3)G102
(4)C108 (15 cavities)
Figure 25:

Battery Cable, Lower Right Front View


Object Number: 232033  Size: LF
(1)C109 (8 cavities)
Figure 26:

Engine Harness to Master Cylinder, Left Front View


Object Number: 232024  Size: LF
(1)C119 (7 cavities)
Figure 27:

Diesel Engine Wiring Harness, Right Forward View


Object Number: 232038  Size: LF
(1)C126 (6 cavities)
Figure 28:

IP, Right Forward View


Object Number: 230750  Size: LF
(1)C200 (56 cavities)
(2)P100
Figure 29:

IP Harness to Dash Panel, Left Front View


Object Number: 233462  Size: LF
(1)C113 (2 cavities)
(2)C107 (7 cavities)
(3)C104 (3 cavities)
(4)C105 (8 cavities)
(5)C123 (3 cavities)
Figure 30:

IP Harness to Dash Panel, Right Forward View


Object Number: 232055  Size: LF
(1)C209 (10 cavities)
(2)P102
(3)C208 (8 cavities)
Figure 31:

Left Side of IP (Wiring), Forward View


Object Number: 231588  Size: MF
(1)C227 (2 cavities)
Figure 32:

Battery Cables, Upper Right Forward View (LP4/L21)


Object Number: 232042  Size: LF
(1)C401 (2 cavities)
Figure 33:

Engine Harness Upper Right Front View


Object Number: 232030  Size: LF
(1)C404 (5 cavities)
(2)C401 (2 cavities)
Figure 34:

Fuel Tank Harness to Fuel Level Controls, Left Front View


Object Number: 230789  Size: LF
(1)C404 (5 cavities)
Figure 35:

Engine Harness and Battery Cables to Starter, Upper Right Front View (Wiring) (LG5)


Object Number: 231594  Size: MF
(1)G101
(2)C106B (1 cavity)
(3)C106A (1 cavity)
(4)C406 (2 cavities)
(5)C404 (5 cavities)
(6)G101, Starter GND Terminal
Figure 36:

Manual Transmission Harness, Left Forward View


Object Number: 229921  Size: LF
(1)C406 (3 cavities)
Figure 37:

Engine Harness Wiring, Upper Left Rear View (LP4/L21)


Object Number: 231348  Size: LF
(1)C401 (2 cavities)
(2)C401 (2 cavities)
(3)C409 (8 cavities)
(4)G102
(5)G401
Figure 38:

Engine Harness, Left Forward View (LG5)


Object Number: 229879  Size: LF
(1)C104 (2 cavities)
(2)C401 (2 cavities)
(3)C409 (8 cavities)
Figure 39:

Exhaust Brake Jumper Harness, Left View


Object Number: 232048  Size: LF
(1)C422 (2 cavities)
Figure 40:

Starter Motor Ground, Right View (KQR, LG5)


Object Number: 235962  Size: LF
(1)G103, Starter Side GND Terminal
(2)G101, Starter Side End GND Terminal
(3)G100
Figure 41:

Starter Ground Cable, Right View


Object Number: 235926  Size: LF
(1)G103
(2)G100
Figure 42:

Starter Ground, Right View (LG5)


Object Number: 235955  Size: LF
(1)G101
(2)G100
Figure 43:

Body Ground Strap to Frame Rail, Left Front View


Object Number: 230866  Size: LF
(1)G107
(2)G105
Figure 44:

Generator to Engine Ground Strap Wiring, Upper Right Forward View (LG5)


Object Number: 231356  Size: LF
(1)G117
(2)G119
Figure 45:

Generator to Engine Ground Strap Wiring, Upper Right Forward View (LP4/L21)


Object Number: 231357  Size: LF
(1)G119
(2)G117
Figure 46:

Engine Harness to Generator Wiring, Upper Right Forward View (LG5)


Object Number: 231584  Size: MF
(1)G117
(2)G118
Figure 47:

Engine to Frame Ground Cable, Left Front View (LP4/L21)


Object Number: 235952  Size: LF
(1)G121
(2)G120
Figure 48:

Steering Column, Left Forward View


Object Number: 229974  Size: LF
(1)G208
Figure 49:

Battery Cable, Upper Right Forward View


Object Number: 232043  Size: LF
(1)G101
Figure 50:

Negative Battery Cable Extension


Object Number: 235938  Size: LF
(1)G413
(2)G414
Figure 51:

Engine Harness to Dash Panel, Right Forward View


Object Number: 230771  Size: LF
(1)C200 (56 cavities)
(2)C208 (8 cavities)
(3)C209 (10 cavities)
(4)P102
(5)P100