GM Service Manual Online
For 1990-2009 cars only

Exhaust Clamps Replacement Wide Band Clamp

Removal Procedure


    Object Number: 206341  Size: SH
  1. Remove the bolts (4) from the wide band clamp.
  2. Remove the clamp assembly.
  3. Inspect all of the components for the following conditions:
  4. • Cracks
    • Bends
    • Stripped threads
    • Corrosion damage
    • Leaks
  5. Replace any damaged components as necessary.

Installation Procedure


    Object Number: 206341  Size: SH
  1. Insert the small pipe into the small end of the sleeve.
  2. Slide the sleeve back onto the pipe.
  3. Insert the small pipe into the large pipe.
  4. Install the pipes.

  5. Slide the sleeve (1) over the pipe joint.
  6. Install the block (2).
  7. Install the spacer bars (3).
  8. Notice: Use the correct fastener in the correct location. Replacement fasteners must be the correct part number for that application. Fasteners requiring replacement or fasteners requiring the use of thread locking compound or sealant are identified in the service procedure. Do not use paints, lubricants, or corrosion inhibitors on fasteners or fastener joint surfaces unless specified. These coatings affect fastener torque and joint clamping force and may damage the fastener. Use the correct tightening sequence and specifications when installing fasteners in order to avoid damage to parts and systems.

  9. Install the bolts (4).
  10. Tighten
    Tighten the bolts until the spacer bars (3) and the sleeve (1) are clamped to the block (2). Do not exceed 80 N·m (59 lb ft).

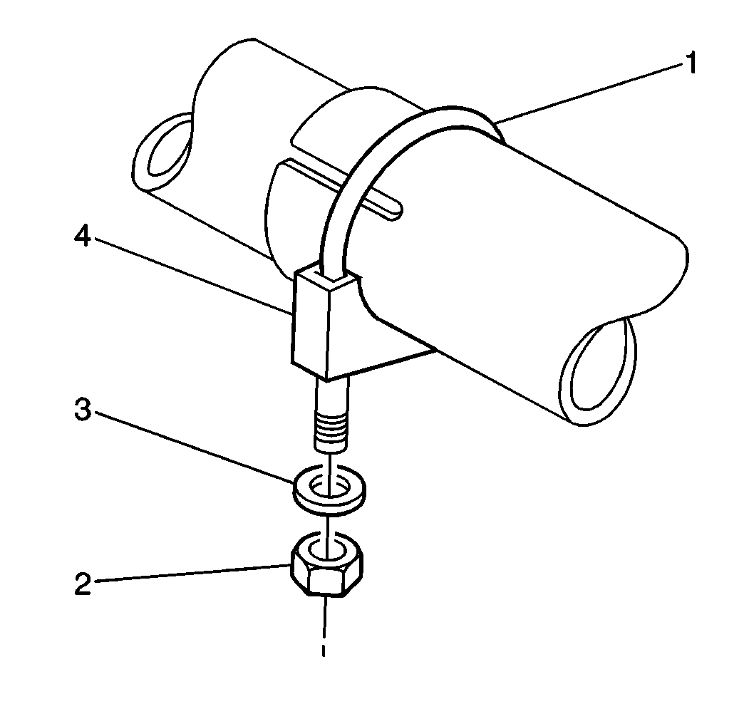
Exhaust Clamps Replacement Exhaust Clamp

Removal Procedure


    Object Number: 206344  Size: SH
  1. Remove the nuts (2) from the exhaust clamp (1).
  2. Remove the clamp from the exhaust pipe.
  3. Inspect all of the components for the following conditions:
  4. • Cracks
    • Bends
    • Stripped threads
    • Corrosion damage
    • Leaks
  5. Replace any damaged components as necessary.

Installation Procedure


    Object Number: 206344  Size: SH
  1. Install the exhaust clamp (1) through the muffler hanger assembly.
  2. Notice: Use the correct fastener in the correct location. Replacement fasteners must be the correct part number for that application. Fasteners requiring replacement or fasteners requiring the use of thread locking compound or sealant are identified in the service procedure. Do not use paints, lubricants, or corrosion inhibitors on fasteners or fastener joint surfaces unless specified. These coatings affect fastener torque and joint clamping force and may damage the fastener. Use the correct tightening sequence and specifications when installing fasteners in order to avoid damage to parts and systems.

  3. Install the nuts (2) on the exhaust clamp (1).
  4. Tighten
    Tighten the nuts to 50 N·m (37 lb ft).