GM Service Manual Online
For 1990-2009 cars only
Makes
🢒
Chevrolet
🢒
1999
🢒
Chevrolet C-Series Medium Duty Truck B7
🢒
Engine
🢒
Engine Exhaust
🢒 Engine Exhaust Brake Component Views
Figure
1:
Engine Harness (LG5), Left Forward
(1)
Air Intake Heater Control Module
(2)
Air Intake Heater Engine Oil Pressure Indicator Switch
(3)
Engine Oil Pressure Gauge Sensor
(4)
Low Engine Oil Pressure Indicator Switch
(5)
Fuel Shutoff Solenoid Valve
(6)
Exhaust Brake Accelerator Switch
Figure
2:
Left Side of IP (Components), Forward
(1)
IP Lamps Dimmer Switch
(2)
Instrument Cluster
(3)
Exhaust Brake Clutch Switch Jumper Plug
(4)
Exhaust Brake Clutch Switch
(5)
Upfitter Connector (23 cavities)
(6)
Upfitter Connector Jumper (23 cavities)
(7)
Upfitter IP (+) Junction Block
(8)
Daytime Running Lamp (DRL) Control Module
(9)
Driver Information Center
(10)
Headlamps Switch
Figure
3:
IP Harness to Dash Panel, Right Forward
(1)
Relay Center
(2)
Vehicle Speed Sensor (VSS) Buffer
(3)
Fuse Block 2
(4)
Fuse Block 1
(5)
IP Fuse Block/Mini-Relay Center
(6)
Flasher/Relay Center, Position 3
(7)
Flasher/Relay Center, Position 2, Exhaust Brake Relay
(8)
Flasher/Relay Center
(9)
Flasher/Relay Center, Position 1
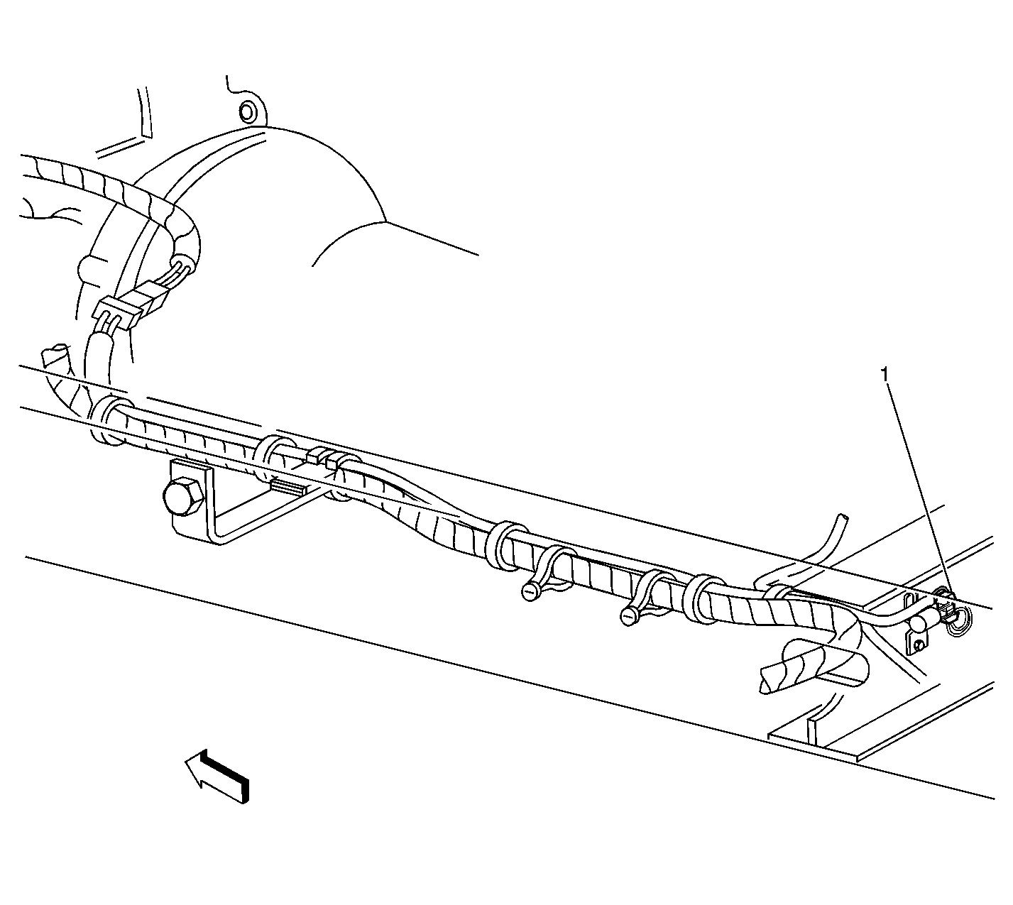
Figure
4:
Exhaust Brake Jumper Harness, Left
(1)
Exhaust Brake Solenoid Valve