GM Service Manual Online
For 1990-2009 cars only
Makes
🢒
Chevrolet
🢒
1999
🢒
Chevrolet C-Series Medium Duty Truck B7
🢒
Engine
🢒
Engine Controls - 7.4L
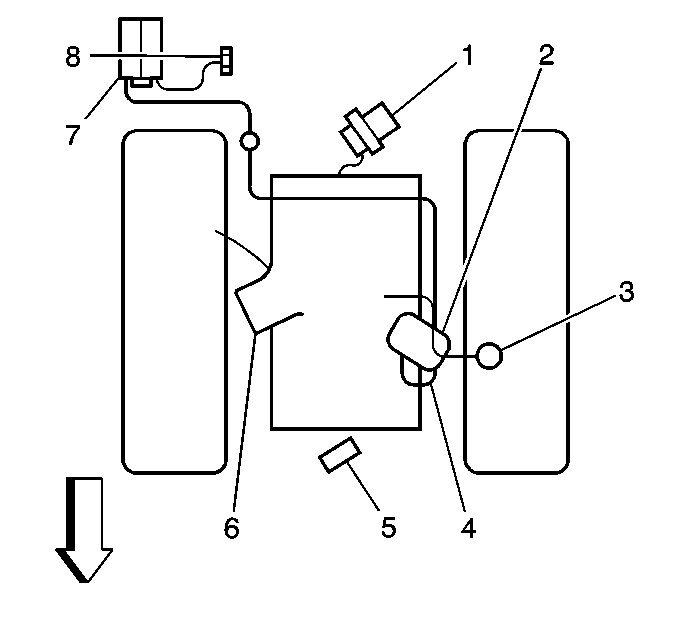
🢒 Emission Hose Routing Diagram
(1)
Fuel Pressure Regulator
(2)
EVAP Canister Purge Solenoid
(3)
PCV Valve
(4)
EVAP Canister Purge Hose
(5)
Manifold Absolute Pressure (MAP) Sensor
(6)
Throttle Body Assembly (TAC System)
(7)
EVAP Canisters
(8)
EVAP Canister Vent