GM Service Manual Online
For 1990-2009 cars only

Object Number: 397319  Size: MF
Engine Controls Components
Cell 20: Cruise Control Circuits, Electronic Throttle Actuator ContRol Module
Handling ESD Sensitive Parts Notice
Handling ESD Sensitive Parts Notice

Circuit Description

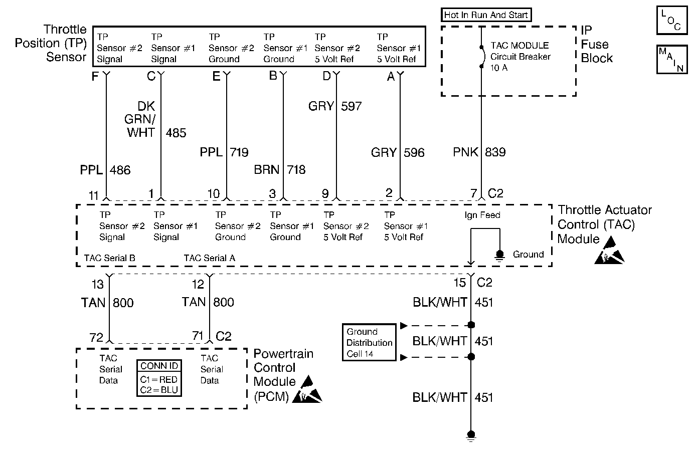
The Throttle Position (TP) sensor is mounted on the Air Control Valve assembly (throttle body). The sensor is actually two individual Throttle Position sensors within one housing. Two separate signal, ground and 5.0 volt reference circuits are used to connect the TP sensor assembly and the Throttle Actuator Control (TAC) Module. The two sensors have opposite functionality. The TP sensor 1 signal voltage increases as the throttle opens, from below 1.1 volts at 0 percent throttle to above 3.7 volts at 100 percent throttle. The TP sensor 2 signal voltage decreases from above 3.9 volts at 0 percent throttle to below 1.2 volts at 100 percent throttle. Observe also that the signal circuit for TP Sensor 1 is pulled up to 5.0 volts and that the signal circuit for TP Sensor 2 is pulled to ground within the TAC Module.

Conditions for Running the DTC

    • DTCs P1517, P1518 not set.
    • Ignition switch in the crank or run position.
    • Ignition voltage greater than 5.23 volts.

Conditions for Setting the DTC

    • TP sensor #2 voltage is less than 0.13 volts or greater than 4.87 volts.
    • All above conditions met for less than 1 second.

Action Taken When the DTC Sets

    • The PCM will illuminate the malfunction indicator lamp (MIL) and the Reduced Engine Power light will be on when the diagnostic fails.
    • The PCM will record operating conditions at the time the diagnostic fails. This information will be stored in the Freeze Frame and Failure Records.
    • If no other TAC System DTCs are set, the TAC System operates in Reduced Engine Power Mode. If certain TAC System DTCs are set at the same time, the TAC System either defaults to a more tightly restricted mode of operation if the TAC determines that limited safe operation is possible, or the TAC commands the engine to shut down.

Conditions for Clearing the MIL/DTC

    • The PCM turns the MIL OFF after 3 consecutive drive trips that the diagnostic runs and does not fail
    • A last test failed (current DTC) clears when the diagnostic runs and does not fail
    • A History DTC clears after 40 consecutive warm-up cycles, if this or any other emission related diagnostic does not report any failures
    • The PCM battery voltage is interrupted

       Important:: The clear DTC information function may have to be performed twice in order to clear a Throttle Actuator Control System DTC.

    • Using a scan tool

Diagnostic Aids

The following may cause an intermittent:

    • Poor connections. Check for adequate terminal tension. Refer to Intermittents and Poor Connections Diagnosis in Wiring Systems.
    • Corrosion
    • Mis-routed harness.
    • Rubbed through wire insulation.
    • Broken wire inside the insulation.
    • Inspect the TAC module connectors for signs of water intrusion. When this occurs, multiple DTCs should be set and no circuit or component problems can be located.
    • For an intermittent, refer to Symptoms .
    • If a repair is completed and the DTC was cleared using a scan tool on the same ignition cycle, the default action will not clear until an ignition cycle has occurred.

Test Description

The numbers below refer to the step numbers on the diagnostic table.

  1. Disconnect the Throttle Actuator connector before inserting fingers into the throttle bore. Re-install the air inlet duct after repairs are completed.

  2. The sensor voltage should drop to zero when you disconnect the sensor.

  3. Using a test lamp reduces the amount of current fed into the signal circuit. The scan tool should display the maximum value for this parameter (5.0V) even though the actual voltage is higher.

  4. The previous step found no voltage present on the signal circuit with the TP sensor harness disconnected at both ends. This rules out a short to voltage from outside the TAC System. This test isolates whether the short is to another TAC System circuit in the harness or within the TAC Module.

  5. When the TAC module detects a problem within the TAC System, more than one TAC System related DTC may set. This is due to the many redundant tests run continuously on this system. Locating and repairing one individual problem may correct more than one DTC. Keep this in mind when reviewing captured DTC info.

DTC P1220 - Throttle Position (TP) Sensor 2 Circuit

Step

Action

Values

Yes

No

1

Did you perform the Powertrain On-Board Diagnostic (OBD) System Check?

--

Go to Step 2

Go to Powertrain On Board Diagnostic (OBD) System Check

2

Is DTC P1515 or P1516 also set?

--

Diagnose these DTCs first

Go to Step 3

3

  1. Remove the duct from the Throttle Body Assembly.
  2. Important: Disconnecting the throttle actuator motor connector will cause additional DTCs to set.

  3. Disconnect the Throttle Actuator harness connector.
  4. Close the throttle blade completely by hand while observing the TP sensor 2 voltage, (in TAC Data List), on the scan tool.

Is the voltage within the specified range?

4.3-4.8 V

Go to Step 4

Go to Step 7

4

Open the throttle blade to Wide Open Throttle (WOT) by hand while observing the TP sensor 2 voltage on the scan tool.

Is the voltage within the specified range?

0.13-1.0 V

Go to Step 5

Go to Step 7

5

  1. Reconnect the Throttle Actuator harness connector.
  2. Turn OFF the ignition for 15 seconds.
  3. Turn ON the ignition leaving the engine OFF.
  4. Select the Diagnostic Trouble Code (DTC) option and the Failed This Ignition option using the scan tool.
  5. Move the harness and the related connectors while monitoring the DTC status.

Does the harness movement cause this DTC to set?

--

Go to Step 21

Go to Step 6

6

  1. Continue to monitor Failed This Ignition with the scan tool.
  2. Slowly depress the accelerator pedal to Wide Open Throttle (WOT) and then slowly return it to closed throttle.

Did this DTC set?

--

Go to Step 31

Go to Diagnostic Aids

7

Disconnect the TP sensor harness connector.

Does the scan tool indicate the specified voltage?

0.0 V

Go to Step 8

Go to Step 9

8

Probe the TP sensor 2 signal circuit using the test lamp J 35616-200 connected to B+.

Does the scan tool indicate the specified voltage?

5.0 V

Go to Step 14

Go to Step 11

9

  1. Turn OFF the ignition.
  2. Leave the TP sensor disconnected.
  3. Disconnect the TAC Module connector containing the TP sensor circuits. Refer to Electronic Throttle Actuator Control Module Replacement .
  4. Turn ON the ignition leaving the engine OFF.
  5. Measure the voltage from the TP sensor 2 signal circuit in the TP sensor harness connector to the battery ground using the DMM J 39200 .

Is any voltage present?

--

Go to Step 25

Go to Step 10

10

  1. Turn OFF the ignition.
  2. Disconnect the TAC Module. Refer to Electronic Throttle Actuator Control Module Replacement .
  3. Check the harness for continuity between the TP sensor 2 signal circuit and all other circuits in both TAC module connectors using the DMM J 39200 .

Does the DMM indicate continuity?

--

Go to Step 29

Go to Step 33

11

Turn OFF the ignition.

Check the harness for continuity of the TP sensor 2 signal circuit between the TP sensor harness and the TAC module using the DMM J 39200 .

Does the DMM indicate continuity?

--

Go to Step 12

Go to Step 26

12

Check the harness for continuity between the TP sensor 2 signal circuit and the battery ground using the DMM J 39200 .

Does the DMM indicate continuity?

--

Go to Step 27

Go to Step 13

13

Check the harness for continuity between the TP sensor 2 signal circuit and all other circuits in both TAC module connectors using the DMM J 39200 .

Does the DMM indicate continuity?

--

Go to Step 29

Go to Step 32

14

Measure the voltage from the TP sensor 2 5.0 volt reference circuit in the TP sensor harness connector to the battery ground using the DMM J 39200 .

Is the voltage within the specified range?

3.94-6.06 V

Go to Step 19

Go to Step 15

15

  1. Turn OFF the ignition.
  2. Leave the TP sensor disconnected.
  3. Disconnect the TAC Module connector containing the TP sensor circuits. Refer to Electronic Throttle Actuator Control Module Replacement .
  4. Turn ON the ignition leaving the engine OFF.
  5. Measure the voltage from the TP sensor 2 5.0 volt reference circuit in the TP sensor harness connector to the battery ground using the DMM J 39200 .

Is any voltage present?

--

Go to Step 22

Go to Step 16

16

Check the harness for continuity of the TP sensor 2 5.0 volt reference circuit between the TP sensor harness and the TAC module using the DMM J 39200 .

Does the DMM indicate continuity?

--

Go to Step 17

Go to Step 23

17

Check the harness for continuity between the TP sensor 2 5.0 volt reference circuit and the battery ground using the DMM J 39200 .

Does the DMM indicate continuity?

--

Go to Step 24

Go to Step 18

18

Check the harness for continuity between the TP sensor 2 5.0 volt reference circuit and all other circuits in both TAC module connectors using the DMM J 39200 .

Does the DMM indicate continuity?

--

Go to Step 29

Go to Step 32

19

Measure the resistance from the TP sensor 2 ground circuit in the TP sensor harness connector to the battery ground using the DMM J 39200 .

Is the resistance within the specified range?

0.0-5.0 ohms

Go to Step 30

Go to Step 20

20

  1. Turn OFF the ignition.
  2. Leave the TP sensor disconnected.
  3. Disconnect the TAC Module connector containing the TP sensor circuits. Refer to Electronic Throttle Actuator Control Module Replacement .
  4. Check the harness for continuity of the TP sensor 2 ground circuit using the DMM J 39200 .

Does the DMM indicate continuity?

--

Go to Step 32

Go to Step 28

21

Repair the harness/connections as necessary. Refer to Wiring Repairs in Wiring Systems.

Is the action complete?

--

Go to Step 34

--

22

Repair the short to voltage in the 5.0 volt reference circuit. Refer to Wiring Repairs in Wiring Systems.

Is the action complete?

--

Go to Step 34

--

23

Repair the open/high resistance in the 5.0 volt reference circuit. Refer to Wiring Repairs in Wiring Systems.

Is the action complete?

--

Go to Step 34

--

24

Repair the short to ground in the 5.0 volt reference circuit. Refer to Wiring Repairs in Wiring Systems.

Is the action complete?

--

Go to Step 34

--

25

Repair the signal circuit shorted to voltage. Refer to Wiring Repairs in Wiring Systems.

Is the action complete?

--

Go to Step 34

--

26

Repair the open/high resistance in the signal circuit. Refer to Wiring Repairs in Wiring Systems.

Is the action complete?

--

Go to Step 34

--

27

Repair the short to ground in the signal circuit. Refer to Wiring Repairs in Wiring Systems.

Is the action complete?

--

Go to Step 34

--

28

Repair the open/high resistance in the ground circuit. Refer to Wiring Repairs in Wiring Systems.

Is the action complete?

--

Go to Step 34

--

29

Repair the circuits that are shorted together. Refer to Wiring Repairs in Wiring Systems.

Is the action complete?

--

Go to Step 34

--

30

Check for poor connections/terminal tension at the TP sensor harness connector. Refer to Wiring Repairs in Wiring Systems for proper procedure.

Did you find and correct the condition?

--

Go to Step 34

Go to Step 31

31

Replace the throttle body assembly. Refer to Throttle Body Assembly Replacement (SFI) .

Is the action complete?

--

Go to Step 34

--

32

Check for poor connections/terminal tension at the TAC Module harness connector. Refer to Wiring Repairs in Wiring Systems for the proper procedure.

Did you find and correct the condition?

--

Go to Step 34

Go to Step 33

33

Replace the TAC Module. Refer to Electronic Throttle Actuator Control Module Replacement .

Is the action complete?

--

Go to Step 34

--

34

  1. Select the Diagnostic Trouble Code (DTC) option and the Clear DTC Information option using the scan tool.
  2. Idle the engine at the normal operating temperature.
  3. Select the Diagnostic Trouble Code (DTC) option and the Specific DTC option, then enter the DTC number using the scan tool.
  4. Operate the vehicle within the Conditions for Setting the DTC as specified in the supporting text, if applicable.

Does the scan tool indicate that this diagnostic ran and passed?

--

Go to Step 35

Go to Step 2

35

Select the Capture Info option and the Review Info option using the scan tool.

Does the scan tool display any DTCs that you have not diagnosed?

--

Go to the applicable DTC table

System OK