GM Service Manual Online
For 1990-2009 cars only

Removal Procedure

    Caution: Unless directed otherwise, the ignition and start switch must be in the OFF or LOCK position, and all electrical loads must be OFF before servicing any electrical component. Disconnect the negative battery cable to prevent an electrical spark should a tool or equipment come in contact with an exposed electrical terminal. Failure to follow these precautions may result in personal injury and/or damage to the vehicle or its components.

  1. Disconnect the negative battery cable.

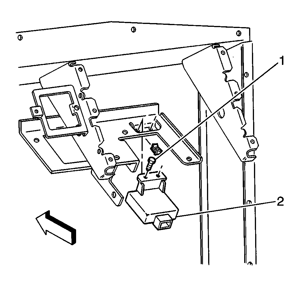
  2. Object Number: 200275  Size: SH
  3. Remove the VSS Module bolts (1).
  4. Disconnect the VSS Module connector.
  5. Remove the VSS Module (2).

Installation Procedure


    Object Number: 200275  Size: SH
  1. Install the VSS Module (2).
  2. Connect the VSS Module connector.
  3. Install the VSS Module bolts (1).
  4. Connect the negative battery cable.