GM Service Manual Online
For 1990-2009 cars only

Removal Procedure

    Caution: Unless directed otherwise, the ignition and start switch must be in the OFF or LOCK position, and all electrical loads must be OFF before servicing any electrical component. Disconnect the negative battery cable to prevent an electrical spark should a tool or equipment come in contact with an exposed electrical terminal. Failure to follow these precautions may result in personal injury and/or damage to the vehicle or its components.

  1. Disconnect the negative battery cable.

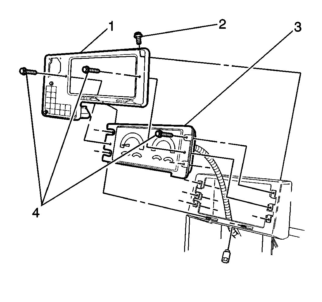
  2. Object Number: 199740  Size: SH
  3. Remove the instrument cluster bezel hold-down screws (2).
  4. Disconnect the high idle switch and the high idle switch connection, if equipped.
  5. Disconnect the headlamp and dimmer switch connections.
  6. Remove the instrument cluster bezel (1).
  7. Remove the instrument cluster hold-down bolts (4).
  8. Remove the instrument cluster from the vehicle (3).

Installation Procedure


    Object Number: 199740  Size: SH
  1. Install the instrument cluster (3) to the vehicle.
  2. Install the instrument cluster hold-down bolts (2).
  3. Install the headlamp and the dimmer switch connections.
  4. Install the high idle switch connection.
  5. Install the instrument cluster bezel (1).
  6. Install the cluster bezel hold-down screws (4).
  7. Install the negative battery cable.