GM Service Manual Online
For 1990-2009 cars only

Object Number: 203143  Size: SH

The wheels are available in a spoke design or a disc design. The spoke design is a casting that attaches to the axle and provided a means of attaching the demountable rim to the vehicle. The spoke design is also referred to as a Cast-Type Wheel or a Cast-Spoke Wheel. The illustration shows two different cast-type wheels: a front wheel (1) and a rear wheel (2).


Object Number: 203155  Size: SH

The hub and the wheel are integral units of cast-type wheels. Demountable rims (2,5) are clamped to the wheel by a stud, clamp (4), and nut on both dual mounting wheels (4) and front mounting wheels with clamp (6). Valve locator blocks on each side of the valve stem hole help to prevent rim slippage and valve stem damage.


Object Number: 203156  Size: SH

The disc design is the permanent assembly of a disc and a rim (6).

The one-piece disc designed wheels are made of aluminum or steel. The steel type wheel utilizes a two-piece steel construction making the wheel and the rim an integral unit. The aluminum wheel is a one-piece cast or forged aluminum component.


Object Number: 203157  Size: SH

All disc wheels are aligned on the hub (3) by using a hub-piloted or a stud-piloted design. Hub-piloted refers to the way the wheel centers itself on the hub by the use of hub pads (1). A hub pad is the cast and machined ears of the hub that the wheel contacts during installation. The following components are attached to the hub by two-piece flange nuts (7) with hub piloted wheels only.

    • The brake drum (4)
    • The outer wheel (6)
    • The inner wheel (5)

Object Number: 203249  Size: SH

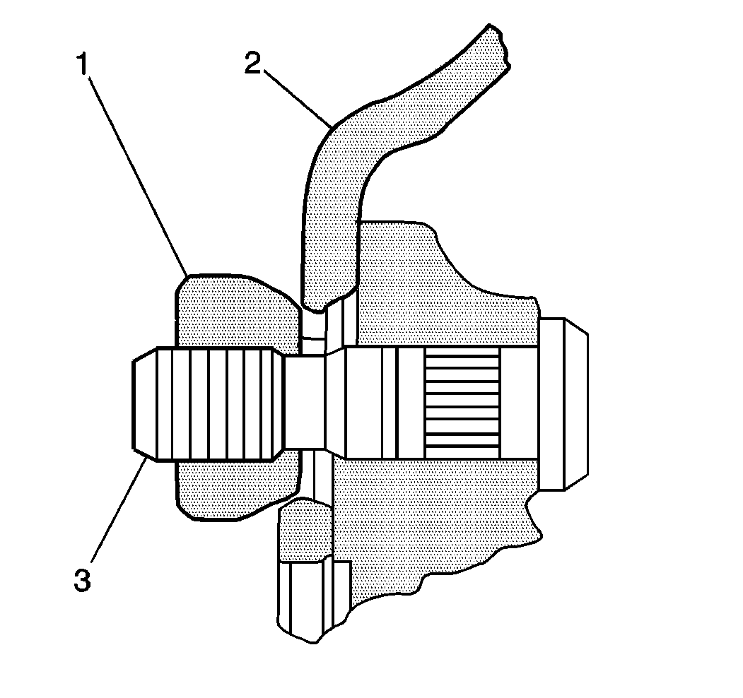
For front hub mounting: stud-piloted wheels (2) are attached to the hubs by studs (3) and ball-seat type wheel nuts (1).


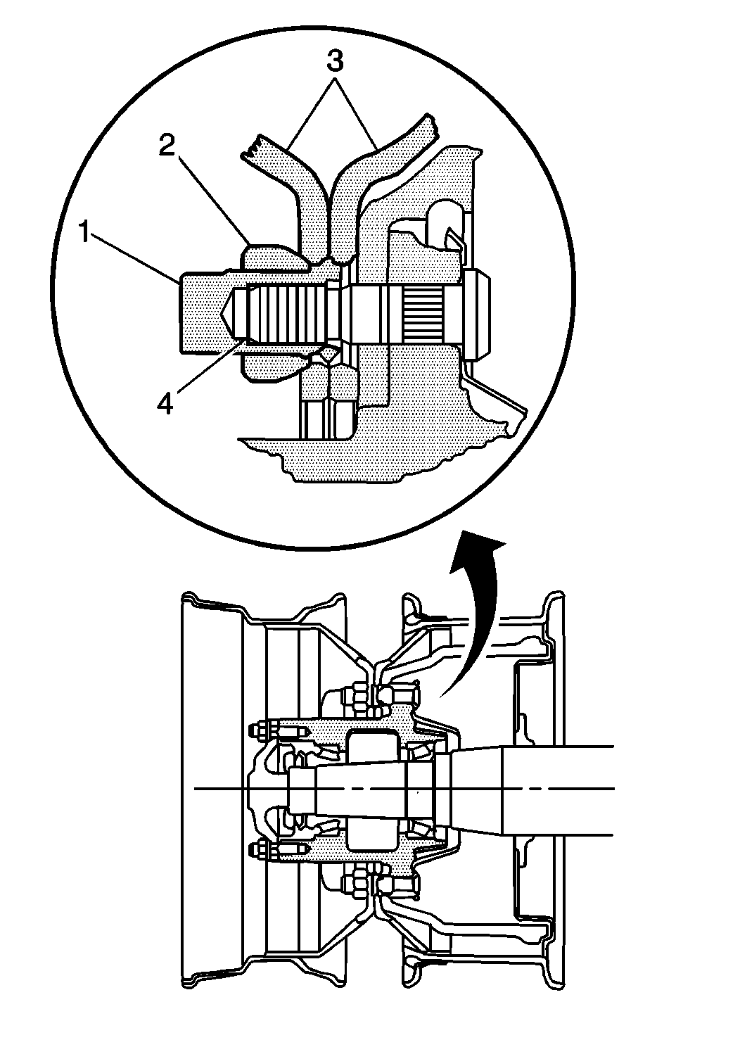
Object Number: 203158  Size: MH

The dual rear stud piloted wheel assemblies have inner (1) and outer (2) threaded stud nuts. The stud nuts allow removal of the outer wheel without interfering with the inner wheel (3).