GM Service Manual Online
For 1990-2009 cars only

Tire and Wheel Removal and Installation Disc Type - Single Front/Rear

Removal Procedure


    Object Number: 290825  Size: SH

    Caution: To avoid eye injury, use approved safety lenses, goggles, or face shield to prevent eye injury when deflating tires.

    Important: When removing and demounting any tire and wheel assembly, deflate the tire by removing the valve core. Perform this procedure before removing the tire assembly from the vehicle.

  1. Raise the vehicle until the tire clears the floor. Support the vehicle. Refer to Lifting and Jacking the Vehicle in General Information.
  2. Remove the wheel nuts.

  3. Object Number: 337341  Size: SH
  4. Remove the wheel from the hub.

  5. Object Number: 290825  Size: SH
  6. If the vehicle is equipped with hub-piloted wheels, use a brush in order to apply a thin coat of Frey Lube II® lubricant or equivalent to the hub pads only.

Installation Procedure


    Object Number: 337341  Size: SH
  1. If the vehicle is equipped with hub-piloted wheels, turn the hub so that a hub pad is at a 12 o'clock position.

  2. Object Number: 290825  Size: SH
  3. Install the wheel on the hub.

  4. Object Number: 203172  Size: SH

    Notice: Use the correct fastener in the correct location. Replacement fasteners must be the correct part number for that application. Fasteners requiring replacement or fasteners requiring the use of thread locking compound or sealant are identified in the service procedure. Do not use paints, lubricants, or corrosion inhibitors on fasteners or fastener joint surfaces unless specified. These coatings affect fastener torque and joint clamping force and may damage the fastener. Use the correct tightening sequence and specifications when installing fasteners in order to avoid damage to parts and systems.

    Important: Tighten the wheel nuts progressively using the first specification; then retighten the nuts using the second specification.

  5. For 8-hole aluminum or steel hub-piloted wheels, install the wheel nuts.
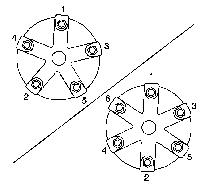
  6. Tighten

    1. Tighten the wheel nuts to 100 N·m (74 lb ft) in the sequence shown.
    2. Tighten the wheel nuts to 550 N·m (400 lb ft) in the sequence shown.

    Object Number: 203173  Size: SH

    Important: Tighten the wheel nuts progressively using the first specification; then retighten the nuts using the second specification.

  7. For 10-hole aluminum or steel hub-piloted wheels, install the wheel nuts.
  8. Tighten

    1. Tighten the wheel nut to 225 N·m (166 lb ft) in the sequence shown.
    2. Tighten the wheel nut to 644 N·m (475 lb ft) in the sequence shown.
  9. For 10-hole aluminum stud-piloted wheels, install the wheel nuts.
  10. Tighten

    1. Tighten the wheel nut to 225 N·m (166 lb ft) in the sequence shown.
    2. Tighten the wheel nut to 644 N·m (475 lb ft) in the sequence shown.
  11. For 10-hole steel stud-piloted wheels, install the wheel nuts.
  12. Tighten

    1. Tighten the wheel nut to 225 N·m (166 lb ft) in the sequence shown.
    2. Tighten the wheel nut to 800 N·m (590 lb ft) in the sequence shown.

Tire and Wheel Removal and Installation Disc Type - Dual

Removal Procedure


    Object Number: 290802  Size: SH

    Caution: To avoid eye injury, use approved safety lenses, goggles, or face shield to prevent eye injury when deflating tires.

    Notice: Wheel hub flanges, wheel studs, and stud nuts should be free of rust, lubricants, dirt, and finish color paint on all contact surfaces to ensure proper torque retention.

    Important: When removing and demounting any tire and wheel assembly, deflate the tire by removing the valve core. Perform this procedure before removing the tire assembly from the vehicle.

  1. Break the wheel nuts loose.
  2. Raise the vehicle until the tire clears the floor. Support the vehicle.
  3. Remove the wheel nuts.
  4. Remove the wheel from the hub.
  5. If applicable, remove the stud nuts from the inner wheel.

  6. Object Number: 203150  Size: SH
  7. If applicable, remove the inner wheel from the hub.

Installation Procedure


    Object Number: 203150  Size: SH
  1. If the vehicle is equipped with hub-piloted wheels, use a brush in order to apply a thin coat of Frey Lube II® lubricant or equivalent to the hub pads only.
  2. If the vehicle is equipped with hub-piloted wheels, turn the hub so that a hub pad is at a 12 o'clock position.
  3. Notice: Stud-piloted hubs' inner and outer stud nuts used on the right side of the vehicle have right-hand threads. Inner and outer nuts are stamped with the letter L to signify left or R to signify right. Care should be exercised to prevent trying to use the wrong thread nut as damage to the stud threads could occur.


    Object Number: 290802  Size: SH
  4. Install the inner wheel if you removed the inner wheel.

  5. Object Number: 203173  Size: SH
  6. Torque the inner stud nuts.
  7. Important: For vehicles equipped with stud-piloted wheels, tighten the wheel nuts progressively using the first specification; then retighten the nuts using the second specification.

    Notice: Use the correct fastener in the correct location. Replacement fasteners must be the correct part number for that application. Fasteners requiring replacement or fasteners requiring the use of thread locking compound or sealant are identified in the service procedure. Do not use paints, lubricants, or corrosion inhibitors on fasteners or fastener joint surfaces unless specified. These coatings affect fastener torque and joint clamping force and may damage the fastener. Use the correct tightening sequence and specifications when installing fasteners in order to avoid damage to parts and systems.

  8. For 10-hole aluminum stud-piloted wheels, install the wheel nuts.
  9. Tighten

    1. Tighten the stud nuts to 225 N·m (166 lb ft) in the sequence shown.
    2. Tighten the stud nuts to 644 N·m (475 lb ft) in the sequence shown.
  10. For 10-hole steel stud-piloted wheels, install the wheel nuts.
  11. Tighten

    1. Tighten the stud nuts to 225 N·m (166 lb ft) in the sequence shown.
    2. Tighten the stud nuts to 800 N·m (590 lb ft) in the sequence shown.

    Object Number: 203172  Size: SH
  12. Install the outer wheel on the hub. Oppose the valve stems of both wheels by 180 degrees.
  13. Notice: Stud-piloted hubs' inner and outer stud nuts used on the right side of the vehicle have right-hand threads. Inner and outer nuts are stamped with the letter L to signify left or R to signify right. Care should be exercised to prevent trying to use the wrong thread nut as damage to the stud threads could occur.

  14. For eight-hole wheels, install the wheel nuts.
  15. Tighten

    1. Tighten the stud nuts to 100 N·m (74 lb ft) in the sequence shown.
    2. Tighten the stud nuts to 550 N·m (400 lb ft) in the sequence shown.

    Object Number: 203174  Size: SH

    Notice: Stud-piloted hubs' inner and outer stud nuts used on the right side of the vehicle have right-hand threads. Inner and outer nuts are stamped with the letter L to signify left or R to signify right. Care should be exercised to prevent trying to use the wrong thread nut as damage to the stud threads could occur.

  16. For ten-hole aluminum stud-piloted wheels, install the wheel nuts.
  17. Tighten

    1. Tighten the stud nuts to 225 N·m (166 lb ft) in the sequence shown.
    2. Tighten the stud nuts to 644 N·m (475 lb ft) in the sequence shown.

    Notice: Stud-piloted hubs' inner and outer stud nuts used on the right side of the vehicle have right-hand threads. Inner and outer nuts are stamped with the letter L to signify left or R to signify right. Care should be exercised to prevent trying to use the wrong thread nut as damage to the stud threads could occur.

  18. For ten-hole steel stud-piloted wheels, install the wheel nuts.
  19. Tighten

    1. Tighten the stud nuts to 225 N·m (166 lb ft) in the sequence shown.
    2. Tighten the stud nuts to 800 N·m (590 lb ft) in the sequence shown.

Tire and Wheel Removal and Installation Cast Type - Single Front/Rear

Removal Procedure


    Object Number: 290801  Size: SH

    Caution: To avoid eye injury, use approved safety lenses, goggles, or face shield to prevent eye injury when deflating tires.

    Important: When removing canceling and demounting any tire and wheel assembly, deflate the tire by removing the valve stem. Perform this procedure before removing the tire assembly from the vehicle.

  1. Loosen the wheel nuts until the nuts are flush with the ends of the studs.
  2. Raise the vehicle and support the vehicle. Refer to Lifting and Jacking the Vehicle in General Information.
  3. Remove the wheel nuts and the clamps.

  4. Object Number: 240895  Size: SH
  5. Remove the tire and rim assembly.

Installation Procedure


    Object Number: 290801  Size: SH
  1. Install the wheel.
  2. Position the rim clamps properly. Install the rim clamps.
  3. Notice: Use the correct fastener in the correct location. Replacement fasteners must be the correct part number for that application. Fasteners requiring replacement or fasteners requiring the use of thread locking compound or sealant are identified in the service procedure. Do not use paints, lubricants, or corrosion inhibitors on fasteners or fastener joint surfaces unless specified. These coatings affect fastener torque and joint clamping force and may damage the fastener. Use the correct tightening sequence and specifications when installing fasteners in order to avoid damage to parts and systems.


    Object Number: 203176  Size: SH
  4. Install the wheel nuts to finger tightness.
  5. Tighten

    1. Tighten the wheel nuts in the sequence shown until the nuts are snug.
    2. Tighten the wheel nuts to 271 N·m (200 lb ft) in the sequence shown.
  6. Inspect for wheel runout.
  7. If necessary, adjust the excess runout by loosening the nuts on the side where the variation or runout is the greatest.
  8. Tighten

    1. Tighten the opposite wheel nut until that nut is snug.
    2. When the tire runs true, tighten all of the wheel nuts to 271 N·m (200 lb ft) in the sequence shown.

Tire and Wheel Removal and Installation Cast Type - Dual

Removal Procedure

    Caution: When removing dual tires and rims from cast-type wheels, loosen all the nuts approximately flush with the end of the studs. Do not remove the nuts until the clamps and rim are loose. The clamps may fly off the studs causing personal injury.

    Caution: When removing dual tires and rims from cast-type wheels, loosen all the nuts approximately flush with the end of the studs. Do not remove the nuts until the clamps and rim are loose. The clamps may fly off the studs causing personal injury.

  1. Raise the vehicle and support the vehicle. Refer to Lifting and Jacking the Vehicle in General Information.

  2. Object Number: 240895  Size: SH
  3. Loosen the wheel nuts until the nuts are flush with the ends of the studs.
  4. Remove the stud nuts.

  5. Object Number: 290801  Size: SH
  6. Remove the rim clamps.
  7. Notice: Do not heat wheels in an attempt to soften them for straightening or repair damage from striking curbs, etc. Do not weld wheels. The alloy used in these wheels is heat-treated and uncontrolled heating from welding affects the properties of the material.

  8. Inspect the rim spacer for an out-of-round condition or for damage.
  9. Inspect the rim for the following conditions:
  10. • Cracks
    • Bends
    • Breaks
  11. If damage is evident, inspect the rim for wheel runout.

Installation Procedure

  1. Install the spacer over the wheel.

  2. Object Number: 290801  Size: SH
  3. Do not cock the rim spacer.
  4. • Fit the rim spacer snugly to the spokes and against the inside the rim gutter edge.
    • Inspect for roundness by turning the rim spacer on the wheel.
    • Install the outer rim with the valve stem as close to 180 degrees from the inner rim valve stem as possible.
    • Fit the rim spacer snugly to the spokes and against the inside the rim gutter edge.
    • Inspect for roundness by turning the rim spacer on the wheel.
    • Install the outer rim with the valve stem as close to 180 degrees from the inner rim valve stem as possible.

    Object Number: 203176  Size: SH
  5. Install the clamps.
  6. Notice: Use the correct fastener in the correct location. Replacement fasteners must be the correct part number for that application. Fasteners requiring replacement or fasteners requiring the use of thread locking compound or sealant are identified in the service procedure. Do not use paints, lubricants, or corrosion inhibitors on fasteners or fastener joint surfaces unless specified. These coatings affect fastener torque and joint clamping force and may damage the fastener. Use the correct tightening sequence and specifications when installing fasteners in order to avoid damage to parts and systems.

  7. Install the wheel nuts to finger tightness.
  8. Tighten

    1. Tighten the wheel nuts in the sequence shown until the nuts are snug.
    2. Tighten the wheel nuts to 271 N·m (200 lb ft) in the sequence shown.
  9. Inspect the clamps, verifying that the clamps do not bottom out.
  10. Inspect the rim edges, verifying that the edges do not meet the spacer band.
  11. Inspect for wheel runout.
  12. If necessary, adjust the excess runout by loosening the nuts on the side where the variation or runout is the greatest.
  13. Tighten

    1. Tighten the opposite wheel nut until that nut is snug.
    2. When the tire runs true, tighten all of the wheel nuts to 271 N·m (200 lb ft) in the sequence shown.