GM Service Manual Online
For 1990-2009 cars only

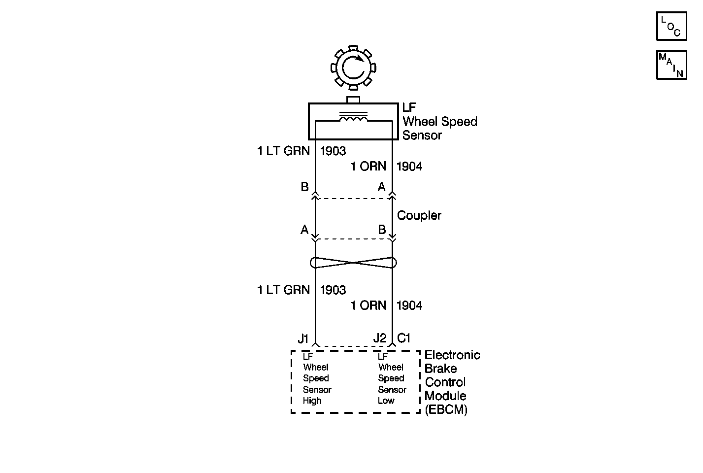
Object Number: 330895  Size: MF
Air Antilock Brakes System Components
Air Antilock Brake System Schematics

Circuit Description

As the toothed ring passes by the wheel speed sensor, changes in the electromagnetic field cause the wheel speed sensor to produce a sinusoidal (AC) voltage signal whose frequency and amplitude is proportional to wheel speed. The magnitude of this signal is directly related to wheel speed and the proximity of the wheel speed sensor to the toothed ring, often referred to as the air gap

Conditions for Illuminating Diagnostic Status Lamps

    • Open wheel speed sensor or wheel speed sensor wiring
    • Shorted wheel speed sensor or wheel speed sensor wiring
    • Wheel speed signal not present or does not conform to design criteria

Action Taken When Diagnostic Status Lamps Illuminate

    • The ABS indicator lamp is illuminated
    • The ABS is disabled

Conditions for Clearing Diagnostic Status Lamps

    • Repair the condition responsible for illuminating status lamps
    • Reset the EBCM (see Diagnostic Status Lamps)

Diagnostic Aids

An intermittent malfunction may be caused by a poor connection, rubbed through wire insulation, or a wire that is broken inside the insulation. If the LEFT, FRONT and SENS diagnostic status lamps are on only during moist environmental changes (rain, snow, vehicle wash), all wheel speed sensor circuitry should be thoroughly inspected for signs of water intrusion. Use the following procedure. Spray the suspected are with a 5 percent salt water solution (two teaspoons of salt to 12 oz. of water). Test drive the vehicle over various road surfaces (bumps, turns, etc.) above 24 km/h (15 mph) for at least 30 seconds. If the condition returns, replace suspected harness.

Any circuitry that is suspected of causing the intermittent complaint should be thoroughly checked for backed out terminals, improper mating, broken locks, improperly formed or damaged terminals, poor terminal to wiring connections or physical damage to the wiring harness.

When inspecting a wheel speed sensor, inspect the sensor terminals and harness connector for corrosion and/or water intrusion. If evidence of corrosion or water intrusion exists, replace the wheel speed sensor. Refer to Front Wheel Speed Sensor Replacement .

Test Description

The number(s) below refer to the step number(s) on the diagnostic table.

  1. This test checks for the correct resistance of the wheel speed sensor circuit (including wiring).

  2. This test checks for the correct resistance of the wheel speed sensor.

  3. This step checks for a short to ground in the wheel speed sensor circuit.

Step

Action

Value(s)

Yes

No

1

Were you sent here from the Diagnostic System Check?

--

Go to Step 2

Go to Air ABS Diagnostic System Check

2

  1. Turn the ignition to OFF
  2. Disconnect EBCM connector C1.
  3. Inspect the connector for signs of damage or corrosion.

Is the connector OK?

--

Go to Step 3

Go to Step 9

3

Using a J 39200 , measure the resistance between terminal J1 and terminal J2 of the EBCM connector.

Is the resistance measured within the specified range?

1500-2500 ohms

Go to Step 5

Go to Step 4

4

Using a J 39200 , measure the resistance between terminal A and terminal B of the LF wheel speed sensor connector.

Is the resistance measured within the specified range?

1500-2500 ohms

Go to Step 13

Go to Step 12

5

Using a J 39200 , measure the resistance between terminal J1 of the EBCM connector and ground.

Is the resistance measured equal to the specified value?

OL

Go to Step 6

Go to Step 15

6

Inspect the wheel bearings for looseness or excessive wear and verify that the free play is within specification. Refer to Wheel Bearing Test .

Are the wheel bearings OK?

--

Go to Step 7

Go to  Step 10

7

Inspect the left front wheel sensor for proper installation.

Is the wheel sensor properly installed?

--

Go to Step 8

Go to Step 11

8

  1. Reconnect all connectors.
  2. Perform magnetic reset.
  3. Test drive the vehicle above 16 km/h (10 mph).

Did the ABS indicator lamp turn on and stay on?

--

Go to Step 14

Go to Diagnostic Aids

9

Repair the EBCM connector. Refer to Connector Repairs in Wiring Systems.

Is the repair complete?

--

Go to Air ABS Diagnostic System Check

--

10

Repair excessive bearing play.

Is the repair complete?

--

Go to Air ABS Diagnostic System Check

--

11

Repair the wheel speed sensor.

Is the repair complete?

--

Go to Air ABS Diagnostic System Check

--

12

Replace the wheel speed sensor. Refer to Front Wheel Speed Sensor Replacement .

Is the repair complete?

--

Go to Air ABS Diagnostic System Check

--

13

Repair open or high resistance in CKT 1903 or 1904. Refer to Wiring Repairs in Wiring Systems.

Is the repair complete?

--

Go to Air ABS Diagnostic System Check

--

14

Replace the EBCM. Refer to Electronic Brake Control Module Replacement .

Is the repair complete?

--

Go to Air ABS Diagnostic System Check

--

15

Repair short to ground in CKT 1904 or CKT 1903. Refer to Wiring Repairs in Wiring Systems.

Is the repair complete?

--

Go to Air ABS Diagnostic System Check

--