GM Service Manual Online
For 1990-2009 cars only

Removal Procedure

  1. Apply the parking brake.
  2. Block the wheels.
  3. Drain the reservoirs. Refer to Draining Reservoirs .
  4. Remove the air dryer pipe nuts and the pipes.
  5. Remove the air brake dryer wiring harness connector.

  6. Object Number: 201584  Size: SH
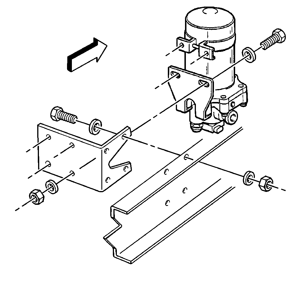
  7. Remove the nuts, the washers and the bolts.
  8. Remove the air brake dryer.

Installation Procedure

  1. Install the air brake dryer.

  2. Object Number: 201584  Size: SH

    Notice: Use the correct fastener in the correct location. Replacement fasteners must be the correct part number for that application. Fasteners requiring replacement or fasteners requiring the use of thread locking compound or sealant are identified in the service procedure. Do not use paints, lubricants, or corrosion inhibitors on fasteners or fastener joint surfaces unless specified. These coatings affect fastener torque and joint clamping force and may damage the fastener. Use the correct tightening sequence and specifications when installing fasteners in order to avoid damage to parts and systems.

  3. Install the bolts, the washers and the nuts.
  4. Tighten
    Tighten the air brake dryer nuts to 109 N·m (80 lb ft).

  5. Install the air dryer pipe nuts and the pipes.
  6. Tighten
    Tighten the air brake pipe nut to 22 N·m (16 lb ft).

  7. Start the engine.
  8. Charge the system air pressure to the governor cut-out point.
  9. Check for air leaks with a soap solution. Leakage is not permissible.
  10. Check for the proper brake operation.
  11. Remove the wheel blocks.

Automatic Level Control Air Dryer Replacement with JTL Option

Removal Procedure

  1. Apply the parking brake.
  2. Block the wheels.
  3. Drain the reservoirs. Refer to Draining Reservoirs .
  4. Remove the air dryer pipe nuts and the pipes.
  5. Remove the air brake dryer wiring harness connector.

  6. Object Number: 201596  Size: SH
  7. Remove the nuts, the washers and the bolts.
  8. Remove the air brake dryer.

Installation Procedure

  1. Install the air brake dryer.

  2. Object Number: 201596  Size: SH

    Notice: Use the correct fastener in the correct location. Replacement fasteners must be the correct part number for that application. Fasteners requiring replacement or fasteners requiring the use of thread locking compound or sealant are identified in the service procedure. Do not use paints, lubricants, or corrosion inhibitors on fasteners or fastener joint surfaces unless specified. These coatings affect fastener torque and joint clamping force and may damage the fastener. Use the correct tightening sequence and specifications when installing fasteners in order to avoid damage to parts and systems.

  3. Install the bolts, the washers and the nuts.
  4. Tighten
    Tighten the air brake dryer nuts to 109 N·m (80 lb ft).

  5. Install the air dryer pipe nuts and the pipes.
  6. Tighten
    Tighten the air brake pipe nut to 22 N·m (16 lb ft).

  7. Start the engine.
  8. Charge the system air pressure to the governor cut-out point.
  9. Check for air leaks with a soap solution. Leakage is not permissible.
  10. Check for the proper brake operation.
  11. Remove the wheel blocks.