GM Service Manual Online
For 1990-2009 cars only
Makes
🢒
Chevrolet
🢒
1999
🢒
Chevrolet C-Series Medium Duty Truck B7
🢒
Brakes
🢒
Air Brakes
🢒 Air Brake System Schematics
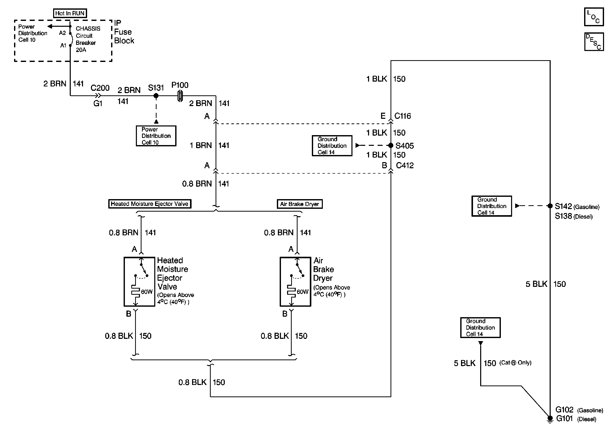
Cell 58: Heated Moister Ejector and Air Brake Dryer
Air Brake System Components
Air Dryer/Moisture Ejector Circuit Description