GM Service Manual Online
For 1990-2009 cars only

Power Steering Pump Flow Control Valve Replacement - Off Vehicle Hobourn BB Series

Removal Procedure

Important: 

   • To ensure correct reassembly, record or mark all information as specified in the procedure.
   • Cap the hose connections.

  1. Disconnect the hose connections
  2. Remove the pump. Refer to Power Steering Pump Replacement .
  3. Clean exterior of pump with solvent.
  4. Tip the pump to drain oil from the intake tube.
  5. Rotate the shaft to remove oil from the internal cavities.

Disassemble Procedure


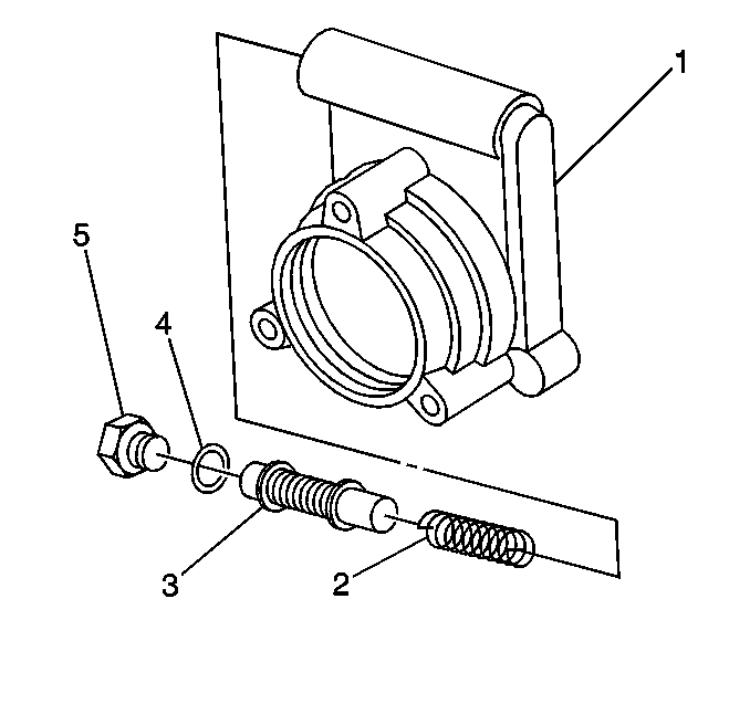
    Object Number: 366370  Size: SH
  1. Use the pump mounting bracket or flange to clamp the pump assembly to a bench vise.
  2. Disassemble the following components.
  3. 2.1. The valve cap (2)
    2.2. The seal (3)
    2.3. The spring (4) and combination (flow control and relief) valve from the bushing cover (1)

Cleaning, Inspection, and Repair Procedure


    Object Number: 366370  Size: SH
  1. Clean all parts with clean solvent and blow dry.
  2. Inspect the following components for excessive burning, scoring, wear or oversize condition:
  3. 2.1. The control valve (5) assembly.

    It is difficult to visually determine if internal valve components are faulty. Low pressure may be a sign for valve replacement. The valve must move smoothly in the valve bore.

    2.2. Minor polishing of the valve OD with the maximum material removal of 0.002 mm (0.0001 in) is acceptable.

Assembly Procedure


    Object Number: 366370  Size: SH
  1. Lubricate the valve bore.
  2. Lubricate the new seal (3)
  3. Assemble the following components:
  4. 3.1. The new seal (3) to the valve cap (2)
    3.2. The valve cap (2) to the valve bore

    Tighten the valve cap finger tight

    Notice: Use the correct fastener in the correct location. Replacement fasteners must be the correct part number for that application. Fasteners requiring replacement or fasteners requiring the use of thread locking compound or sealant are identified in the service procedure. Do not use paints, lubricants, or corrosion inhibitors on fasteners or fastener joint surfaces unless specified. These coatings affect fastener torque and joint clamping force and may damage the fastener. Use the correct tightening sequence and specifications when installing fasteners in order to avoid damage to parts and systems.

    Important: DO NOT distort the sealing surface of the flange mounting.

  5. Clamp the pump mounting bracket or flange in a bench vise.
  6. Tighten
    Tighten the valve cap to 65 N·m (48 lb ft).

  7. Install the pump. Refer to Power Steering Pump Replacement .

Power Steering Pump Flow Control Valve Replacement - Off Vehicle Hobourn 600 Series

Removal Procedure

Important: 

   • To ensure correct reassembly, record or mark all information as specified in the procedure.
   • Cap the hose connections.

  1. Disconnect the hose connections
  2. Remove the pump. Refer to Power Steering Pump Replacement .
  3. Clean exterior of pump with solvent.
  4. Tip the pump to drain oil from the intake port.
  5. Rotate the shaft to remove oil from the internal cavities.

Disassemble Procedure


    Object Number: 366368  Size: SH
  1. Use the pump mounting bracket or flange to clamp the pump assembly to a bench vise.
  2. Disassemble the following components.
  3. 2.1. The discharge adapter (5)
    2.2. The seal (4)
    2.3. The spring (2) and combination (flow control and relief) valve (3) from the pump housing (1)

Cleaning, Inspection, and Repair Procedure


    Object Number: 366368  Size: SH
  1. Clean all parts with clean solvent and blow dry.
  2. Inspect the discharge adapter for external damage to the threads and the cross hole on the orifice.
  3. If any damage is present, replace using the discharge adapter kit.
  4. Inspect the following components for excessive burning, scoring, wear or oversize condition:

    3.1. The valve bore.
    3.2. The by-pass hole

    If there is damage than the pump assembly must be replaced.

    3.3. The flow control valve (3) assembly.

    It is difficult to visually determine if internal valve components are faulty. Low pressure may be a sign for valve replacement. The valve must move smoothly in the valve bore.

    If movement is not free or there is no movement than install a replacement valve kit.

Assembly Procedure

  1. Lubricate the valve bore.

  2. Object Number: 366368  Size: SH
  3. Lubricate the new seal (4)
  4. Assemble the following components:
  5. 3.1. The spring (2) and valve (3) into the valve bore (1)

    Check valve for movement.

    3.2. The new seal (4) to the discharge adapter (5)
    3.3. The valve cap (5) to the valve bore

    Tighten the discharge adapter finger tight.

    Notice: Use the correct fastener in the correct location. Replacement fasteners must be the correct part number for that application. Fasteners requiring replacement or fasteners requiring the use of thread locking compound or sealant are identified in the service procedure. Do not use paints, lubricants, or corrosion inhibitors on fasteners or fastener joint surfaces unless specified. These coatings affect fastener torque and joint clamping force and may damage the fastener. Use the correct tightening sequence and specifications when installing fasteners in order to avoid damage to parts and systems.

    Important: DO NOT distort the sealing surface of the flange mounting.

  6. Clamp the pump mounting bracket or flange in a bench vise.
  7. Tighten
    Tighten the discharge adapter to 65 N·m (48 lb ft).

  8. Install the pump. Refer to Power Steering Pump Replacement .