GM Service Manual Online
For 1990-2009 cars only

Power Steering Gear Poppet Valve Readjustment TRW Ross

The TAS65 steering gears are equipped with two hydraulic pressure relieving poppet valves.

The valves are automatically set to trip. The valve pressure is relieved just before the steering stops are reached. The tripping is achieved after the initial installation into the vehicle, at the first full right and left turn.

The pressure relieving poppet valves will automatically reset themselves if the steering stops are reset for increased steering gear travel. The valves will reset themselves within the poppets adjustment limits, based on acceptable equipment revisions from the original factory installations.

Readjust the poppet valves after installing the steering gear and adjusting the poppet. Readjusting the poppet valves relieves hydraulic pressure at the decreased steering gear travel.

Use the special service poppet adjusting screw kit in order to manually adjust the poppet valves to the decreased steering gear travel.

The following conditions may result in further maladjustment of the poppet valves:

    • Maladjustment of the poppet valves prior to installation
    • Revision to the steering stop linkage after the automatic poppet adjustment

Poppet Valve Adjusting Screw Kit

    Important: Steering stops should be adjusted such that a minimum of 1¾ steering wheel turns from straight ahead position is available. If this is not possible, the poppets are not functional nor can they be adjusted to function.

  1. Set the steering stops to the vehicle manufacturer's specifications. Allow for the revisions from the original equipment installation.

  2. Object Number: 218941  Size: SH
  3. Turn the special service poppet adjusting screw (1) into the non-sealing end of the service sealing jam nut until the drive end of the screw is flush with the nut.
  4. Verify that the following conditions exist:
  5. • The vehicle is unloaded.
    • The engine is off.

       Important: With the road wheels in the straight ahead position, the steering gear is in the center position when the timing marks on the end of the sector shaft and housing trunnion are aligned.

    • The wheels are in the straight ahead position.
  6. Use a 5/8 in socket in order to remove the following components from the lower end of the housing:
  7. • The poppet fixed stop screw
    • The washer
  8. Discard the screw and the washer.
  9. Notice: Use the correct fastener in the correct location. Replacement fasteners must be the correct part number for that application. Fasteners requiring replacement or fasteners requiring the use of thread locking compound or sealant are identified in the service procedure. Do not use paints, lubricants, or corrosion inhibitors on fasteners or fastener joint surfaces unless specified. These coatings affect fastener torque and joint clamping force and may damage the fastener. Use the correct tightening sequence and specifications when installing fasteners in order to avoid damage to parts and systems.


    Object Number: 218939  Size: SH

    Important: The sector shaft may need to be moved slightly from the straight ahead position in order to assemble the service adjusting screw (1) as instructed. Return the sector shaft to the straight ahead position after the assembly.

  10. Turn the screw (2) and the nut (3) assembly into the housing until the nut is firmly against the housing.
  11. Do not rotate the nut (3) on the screw (2).

    Tighten
    Tighten the sealing nut to 54 N·m (40 lb ft).

  12. Refill the pump reservoir with approved power steering fluid.

  13. Object Number: 218940  Size: SH

    Important: Note which steering wheel rotation direction is required in order to position the rack piston (3) toward the adjusting screw (1).

  14. Use the following steps in order to preset the upper poppet adjuster seat and sleeve assembly:
  15. 8.1. Observe the end of the sector shaft for direction of travel. Note the direction of travel in order to position the rack piston (3) when the poppets (9, 4) are reset.
    8.2. Idle the engine.
    8.3. Rotate the steering wheel in either the clockwise or the counterclockwise direction. Locate the sector shaft toward the end of the steering travel.
    8.4. Place the steering stop bolt against the steering stop in order to position the rack piston toward the adjustable poppet screw (1) at the closed end of the housing.

            Important: If excess input torque or rim pull is encountered at the steering wheel prior to reaching the steering stop, allow the vehicle to roll slowly forward while the steering wheel is being rotated.

    8.5. Continue to rotate the steering wheel until the following conditions are met:
       • The steering stops are contacted.
       • A correct input torque is reached.
       • The initial internal engagement of the poppet adapter seat and sleeve (5, 10) and the adjusting screw is felt.
       • There is a torque rise at the steering wheel.
    8.6. Tighten the input torque.

    Tighten
    Tighten the input torque of 54 N·m (40 lb ft) at the steering wheel nut or 21.8 kg (48 lb) rim pull on a 508 mm (20 in) steering wheel is reached.

  16. Turn the steering wheel at least 1¾ steering wheel turns from the straight ahead position.
  17. This action completes the internal preset of the upper poppet adjuster seat and sleeve assembly (10).


    Object Number: 218939  Size: SH
  18. Loosen the sealing nut (3).
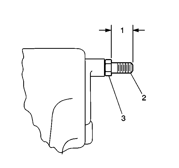
  19. Back out the adjusting screw (2) until 25.4-27.4 mm (1.00-1.06 in) (2) of the screw (1) is beyond the sealing nut (3).
  20. Torque the nut firmly against the housing. Maintain the clearance of 25.4-27.4 mm (1.00-1.06 in).
  21. Tighten
    Tighten the sealing nut to 54 N·m (40 lb ft).

  22. Measure the adjusting screw (2).
  23. Ensure that the adjusting screw (2) does not protrude more than 27 mm (1.06 in) beyond the nut (1).

    Important: If excess input torque or rim pull is encountered at the steering wheel prior to reaching the steering stop, allow the vehicle to roll slowly forward while rotating the steering wheel.

  24. Use the following steps in order to position the upper poppet valve to the related axle stop:
  25. 14.1. Ensure that the vehicle is unloaded.
    14.2. Idle the engine.
    14.3. Turn the steering wheel toward full travel in the opposite direction.
    14.4. Turn the axle until the axle bottoms against the steering stop.

    Do not apply more than 33.9 N·m (25 lb ft) or 13.6 kg (30 lb) rim pull on a 508 mm (20 in) diameter steering wheel.

    Notice: At no time should the system relief pressure be maintained for longer than 5 seconds, as damage to the steering pump may result.


    Object Number: 218940  Size: SH
  26. Use the following steps in order to return the system to the system relief pressure:
  27. 15.1. Turn the steering wheel toward full travel in the opposite direction.

    Rotate the steering wheel until contact is made with the steering stop.

    15.2. Position the rack piston (3) toward the poppet adjusting screw (1) at the closed end of the housing

    Important: Do not exceed the 2.3 N·m (20 lb in) maximum torque increase on adjusting screw during step 10. Excessive screw torque could upset the position of the poppets in the rack piston previously achieved in order to control the upper poppet pressure relief. That would necessitate the repetition of these entire procedures.


    Object Number: 218939  Size: SH
  28. Hold the steering wheel in the steering stop contact position.
  29. Loosen the sealing nut (3) one turn.

  30. Turn the adjusting screw (2) while holding the sealing nut (3).
  31. Continue to turn the adjusting screw until the adjusting screw (2) torque increases by 1.1-2.3 N·m (10-20 lb in).

  32. Back out the screw (2) by 4 turns.
  33. Release the steering wheel.
  34. Hold the adjusting screw in place.
  35. Tighten the sealing nut (3) firmly against the housing.

    Tighten
    Tighten the sealing nut to 54 N·m (40 lb ft).

            Caution: The 27 mm (1.06 in) maximum adjusting screw protrusion from the sealing nut must not be exceeded to ensure adequate screw thread engagement in housing. Inadequate screw engagement could cause loss of the adjusting screw during operation. This could result in loss of power steering and possible personal injury.

    20.1. If the adjusting screw extends more than 27 mm (1.06 in) from the sealing nut, loosen the sealing nut.
    20.2. Turn the adjusting screw until a length of 27 mm (1.06 in) is achieved.
    20.3. Tighten the sealing nut (3) again.

    Important: Repeat the adjustment procedure when the following conditions exist:

       • The service adjustable poppet screw and the nut are in place.
       • The manual adjustment is complete.
    Readjustment is required when increased or decreased gear travel occurs at either steering stop. Readjustment ensures that both of the poppets relieve pressure as required. The alternative would be to disassemble the steering gear and reset the poppet adjusters.

  36. For automatic adjustment, turn the adjusting screw into the nut in order to duplicate the original fixed stop screw end position.