GM Service Manual Online
For 1990-2009 cars only

Pitman Arm Replacement Saginaw Steering Gear

Removal Procedure

A nut-retained pitman arm is used on models with the Saginaw steering gear.

Pitman arms are non-repairable. Replace the pitman arm when it is damaged or worn.

Notice: Do not hammer on the pitman arm, pitman arm shaft or puller. Damage to the pitman arm or steering gear may result.

Tools Required

    • J 39256 Pitman Arm Puller
    • J 24319-B Steering Linkage Puller

    Object Number: 368333  Size: SH
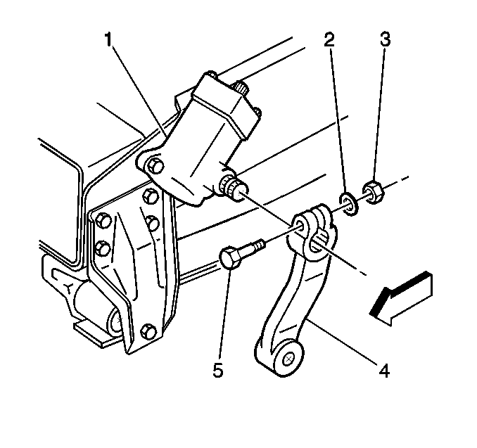
  1. Remove the cotter pin ( 3).
  2. Discard the cotter pin.
  3. Remove the relay rod nut (4).

  4. Object Number: 215902  Size: SH
  5. Use the J 24319-B in order to remove the relay rod assembly from the pitman arm end.

  6. Object Number: 215964  Size: SH
  7. Mark the position of the pitman arm (13) on the pitman shaft (12).
  8. Remove the pitman arm nut (1).
  9. Remove the flat washer (14).

  10. Object Number: 215968  Size: SH
  11. Use the J 39256 in order to remove the pitman arm.

Installation Procedure


    Object Number: 215964  Size: SH
  1. Align the position marks made during the removal.
  2. Install the pitman arm (13).
  3. Install the flat washer (14).
  4. Notice: Use the correct fastener in the correct location. Replacement fasteners must be the correct part number for that application. Fasteners requiring replacement or fasteners requiring the use of thread locking compound or sealant are identified in the service procedure. Do not use paints, lubricants, or corrosion inhibitors on fasteners or fastener joint surfaces unless specified. These coatings affect fastener torque and joint clamping force and may damage the fastener. Use the correct tightening sequence and specifications when installing fasteners in order to avoid damage to parts and systems.

  5. Install the pitman arm nut (1).
  6. Tighten
    Tighten the pitman arm nut to 370 N·m (275 lb ft).


    Object Number: 368333  Size: SH

    Important: Do not back off a relay rod nut in order to insert a cotter pin.

  7. Advance the relay rod nut to the nearest cotter pin slot.
  8. Install the relay rod assembly (2) to the pitman arm (1).
  9. Install the relay rod nut (4).
  10. Notice: Use the correct fastener in the correct location. Replacement fasteners must be the correct part number for that application. Fasteners requiring replacement or fasteners requiring the use of thread locking compound or sealant are identified in the service procedure. Do not use paints, lubricants, or corrosion inhibitors on fasteners or fastener joint surfaces unless specified. These coatings affect fastener torque and joint clamping force and may damage the fastener. Use the correct tightening sequence and specifications when installing fasteners in order to avoid damage to parts and systems.

    Tighten
    Tighten the relay rod ball joint nut to 130 N·m (95 lb ft).

  11. Install the new cotter pin ( 3).

Pitman Arm Replacement TRW Ross Steering Gear

Removal Procedure

This pitman arm is a clamp-bolt retained type. Pitman arms are non-repairable. Replace the pitman arm when it is damaged or worn.

Notice: Do not hammer on the pitman arm, pitman arm shaft or puller. Damage to the pitman arm or steering gear may result.

Tools Required

    • J 8433 Pitman Arm Puller
    • J 33882 Pitman Arm Puller
    • J 26813-B Steering Linkage Puller

    Object Number: 368371  Size: SH
  1. Remove the cotter pin (4).
  2. Discard the cotter pin.
  3. Remove the relay rod nut (3).

  4. Object Number: 215973  Size: SH
  5. Use the J 26813-B in order to remove the relay rod ball joint from the pitman arm end.

  6. Object Number: 368362  Size: SH
  7. Remove the pitman arm clamp nut (3).
  8. Remove the flat washer (2).
  9. Remove the pitman arm clamp bolt (5).

  10. Object Number: 216098  Size: SH
  11. Mark the position (4) of the pitman arm (3) on the pitman shaft (2).

  12. Object Number: 215976  Size: SH
  13. Install a dial indicator (3).
  14. Use a wedge-shaped tool (1) in order to spread the pitman arm clamp bosses.
  15. Ensure that the pitman arm clamp bosses are spread no more than 0.1 mm (0.004 in).

  16. Remove the dial indicator (3).

  17. Object Number: 216032  Size: SH
  18. Use the J 8433 to remove the pitman arm.

Installation Procedure


    Object Number: 216098  Size: SH

    Important: Align the position marks made during the pitman arm removal.

    Spread the bosses a maximum of 0.1 mm (0.004 in).

    Spread the bosses only if necessary.

  1. Install the pitman arm (3).

  2. Object Number: 368362  Size: SH
  3. Install the pitman arm clamp bolt (5).
  4. Install the flat washer (2).
  5. Notice: Use the correct fastener in the correct location. Replacement fasteners must be the correct part number for that application. Fasteners requiring replacement or fasteners requiring the use of thread locking compound or sealant are identified in the service procedure. Do not use paints, lubricants, or corrosion inhibitors on fasteners or fastener joint surfaces unless specified. These coatings affect fastener torque and joint clamping force and may damage the fastener. Use the correct tightening sequence and specifications when installing fasteners in order to avoid damage to parts and systems.

  6. Install the pitman arm clamp nut (3).
  7. Tighten
    Tighten the pitman arm clamp nut to 325 N·m (240 lb ft).


    Object Number: 368371  Size: SH
  8. Install the relay rod (2) into the pitman arm (1).
  9. Important: Advance the relay rod nut to the nearest cotter pin slot.

  10. Do not back off a relay rod nut in order to insert a cotter pin.
  11. Install the relay rod nut (3).
  12. Tighten
    Tighten the relay rod nut to 160 N·m (120 lb ft).

  13. Install the new cotter pin (4).