GM Service Manual Online
For 1990-2009 cars only

Reduced Engine Power, DTCs May be Present (Replace Accelerator Pedal Assembly)

Subject:Reduced Engine Power, DTC(s) P1125, P1275, P1276, P1280, P1281, P1285, and/or P1286 May be Present (Current or in History) (Replace Accelerator Pedal Assembly)

Models:1999 Chevrolet and GMC B7 Bus, C6-7 Conventional, P32 Medium Duty Models
With 7.4L Engine (VINs B, D --RPOs LP4, L21)



This bulletin is being revised to update the models involved. Please discard Corporate Bulletin Number 99-06-04-039 (Section 06 -- Engine/Propulsion System)


Condition

Some drivers may comment about reduced engine power. During this condition, the REDUCED ENGINE POWER lamp/message illuminates and powertrain control module (PCM) Diagnostic Trouble Codes (DTC) for the throttle actuator control (TAC) system is set.

Cycling the ignition key to the "OFF" position for 15 seconds or more will reset the PCM allowing normal engine operation until the condition recurs.

The DTCs set will be for the accelerator pedal position (APP) sensor and may consist of one or more of the following DTCs: P1125, P1275, P1276, P1280, P1281, P1285 or P1286.

Cause

An incorrect signal from the APP sensor may cause this condition. The TAC module monitors three sensor inputs generated from the APP sensor. If one of these inputs is incorrect, the TAC module will default the PCM to control the engine in a reduced power mode. This reduced power mode will only allow a maximum throttle angle of approximately 16 percent.

Correction

Replace the accelerator pedal assembly, which includes the APP sensor, on affected vehicles. Use the following procedure and the applicable part number listed below.

Accelerator Pedal and Bracket Assembly (B Models)


Object Number: 632936  Size: SH

Accelerator Pedal and Bracket Assembly (C Models)


Object Number: 632931  Size: SH

Accelerator Pedal and Bracket Assembly (P Models)


Object Number: 202732  Size: SH

Notice: Handle the electronic throttle control components carefully.

   • Use cleanliness in order to prevent damage.
   • Do not drop the electronic throttle control components.
   • Do not roughly handle the electronic throttle control components.
   • Do not immerse the electronic throttle control components in cleaning solvents of any type.

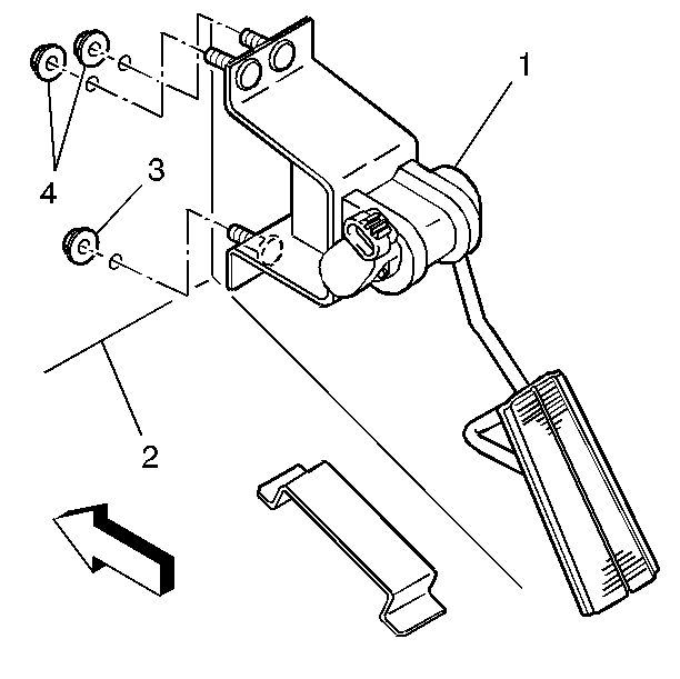
  1. Disconnect the APP sensor module (1) electrical connector.
  2. Remove the accelerator pedal bracket mounting bolts/nuts.
  3. Remove the accelerator pedal and bracket assembly from the cowl (2).
  4. Install the new accelerator pedal and bracket assembly to the cowl.
  5. Install the accelerator pedal bracket mounting bolts/nuts.
  6. Tighten
    Tighten the accelerator mounting bolts/nuts to 13 N·m (115 lb in).

  7. Connect the APP sensor module electrical connector.
  8. Use the Tech 2 or disconnect the battery in order to clear all stored DTC codes.

Parts Information

Part Number

Description

15984422

Pedal Asm.- Accel

(B Models)

25318049

Pedal Asm.- Accel

(C Models)

25318047

Pedal Asm.- Accel

(P Models)

Parts are currently available from GMSPO.

Warranty Information

For vehicles repaired under warranty, use:

Labor Operation

Description

Labor Time

J5350

Pedal, Accelerator - Replace

Use published labor operation time