GM Service Manual Online
For 1990-2009 cars only
Makes
🢒
Chevrolet
🢒
1999
🢒
Chevrolet C-Series Medium Duty Truck B7
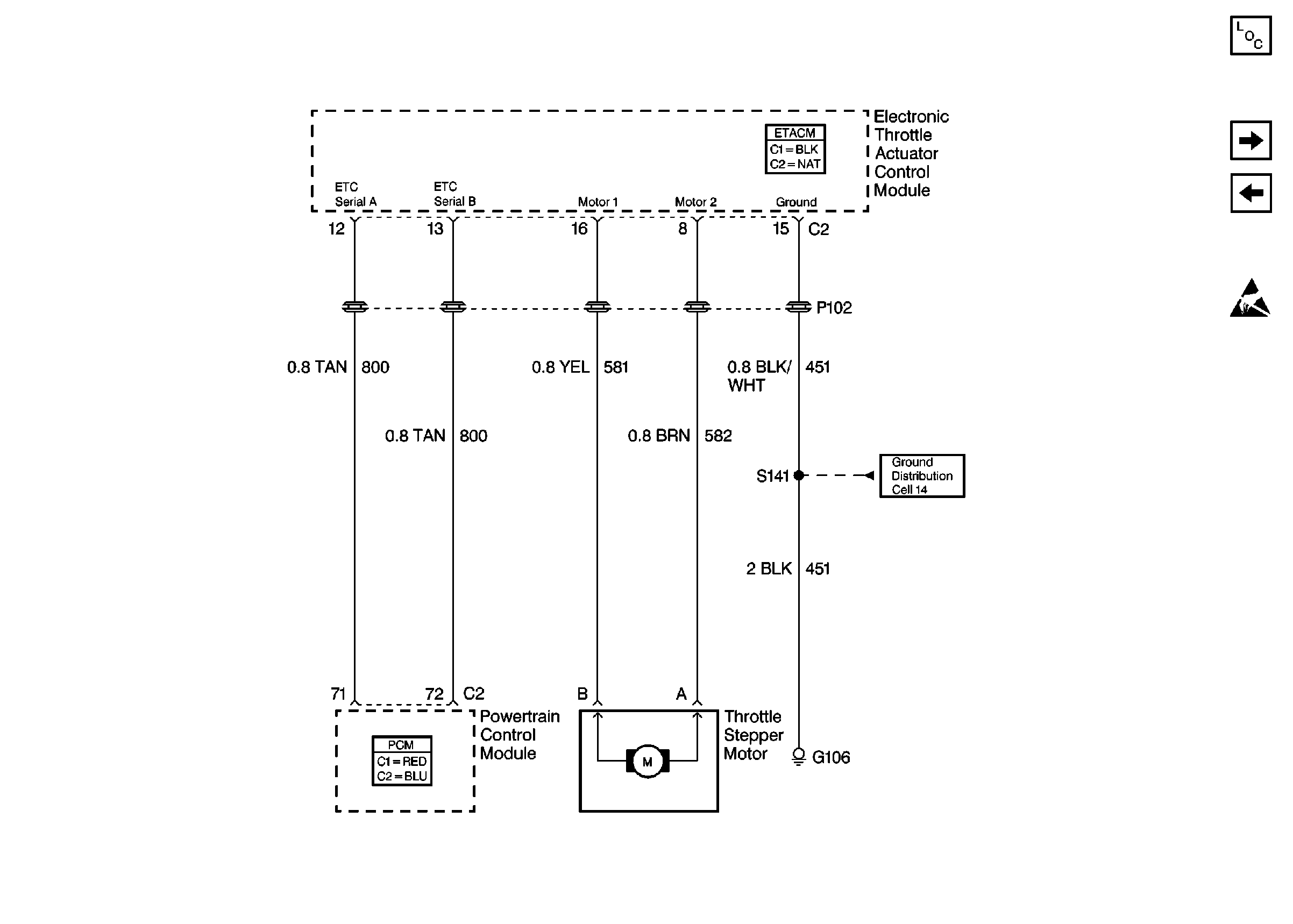
🢒 Cell 20: Electronic Throttle Actuator Control Module, PCM, Throttle Stepper Motor
Cell 20: Electronic Throttle Actuator Control Module, PCM, Throttle Stepper Motor
Cell 20: Electronic Throttle Actuator Control Module, PCM, Throttle Stepper Motor
Engine Controls Components
Cell 20: Engine Controls, Exhaust Gas Recirculation Valve
Cell 20: Accelerator Pedal
Handling ESD Sensitive Parts Notice