GM Service Manual Online
For 1990-2009 cars only
Makes
🢒
Chevrolet
🢒
2000
🢒
Chevrolet C-Series Medium Duty Truck B7
🢒
Steering
🢒
Power Steering System
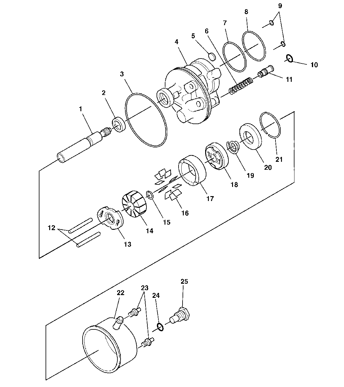
🢒 Power Steering Pump Disassembled View
Power Steering Pump Disassembled View Saginaw with JE5
Power Steering Pump -- Air Brakes with JE5
(1)
Drive Shaft
(2)
Drive Shaft Seal
(3)
Housing O-ring Seal
(4)
Pump Housing Assembly
(5)
Magnet
(6)
Flow Control Spring
(7)
Pressure Plate O-ring Seal
(8)
End Plate O-ring Seal
(9)
Housing to Stud O-ring Seals
(10)
Rectangular Section Seal
(11)
Control Valve Assembly
(12)
Dowel Pins
(13)
Thrust Plate
(14)
Pump Rotor
(15)
Shaft Retaining Ring
(16)
Pump Vanes
(17)
Pump Ring
(18)
Pressure Plate
(19)
Pressure Plate Spring
(20)
End Plate
(21)
End Plate Retaining Ring
(22)
Reservoir Assembly
(23)
Pump Mounting Studs
(24)
Fitting Assembly O-ring Seal
(25)
Connector and Fitting Assembly
Power Steering Pump Disassembled View Hobourn BB Series
Hobourn BB
(1)
Orifice
(2)
Seal
(3)
Return Tube Adapter
(4)
Carrier
(5)
Roller Vanes
(6)
Drive Pin
(7)
Pin
(8)
Seal
(9)
Bushing Cover
(10)
Valve Cap
(11)
Seal
(12)
Spring
(13)
Control Valve
(14)
Seal
(15)
Cam
(16)
Port Plate
(17)
Seal
(18)
Seal
(19)
End Plate
(20)
Locating Pin
(21)
Bushing Body
(22)
Bolt
(23)
Bearing
(24)
Pulley
(25)
Helical Spring Washer
(26)
Bolt
(27)
Washer
(28)
Snap Ring
(29)
Key
(30)
Shaft
(31)
Seal
(32)
Venturi
(33)
Seal
(34)
Bolt
(34)
Bolt
(34)
Bolt
(35)
Intake Adapter
(36)
Intake Adapter
Power Steering Pump Disassembled View Hobourn 600 Series
Hobourn S600
(1)
Pin
(2)
Seal
(3)
Body
(4)
Cover
(5)
Cover Bolts
(6)
Gasket
(7)
End Plate
(8)
O-Ring
(9)
Port Plate
(10)
Shaft
(11)
Carrier
(12)
Port Plate
(13)
Rollers
(14)
Driver Pin
(15)
Cam
(16)
O-Ring
(17)
Mount Plate Bolt
(18)
Gear
(19)
Washer
(20)
Bolt
(21)
Pulley
(22)
Mount Plate
(23)
O-Ring
(24)
Snap Ring
(25)
Bearing
(26)
Snap Ring
(27)
Seal
(28)
Valve