GM Service Manual Online
For 1990-2009 cars only
Makes
🢒
Chevrolet
🢒
2000
🢒
Chevrolet C-Series Medium Duty Truck B7
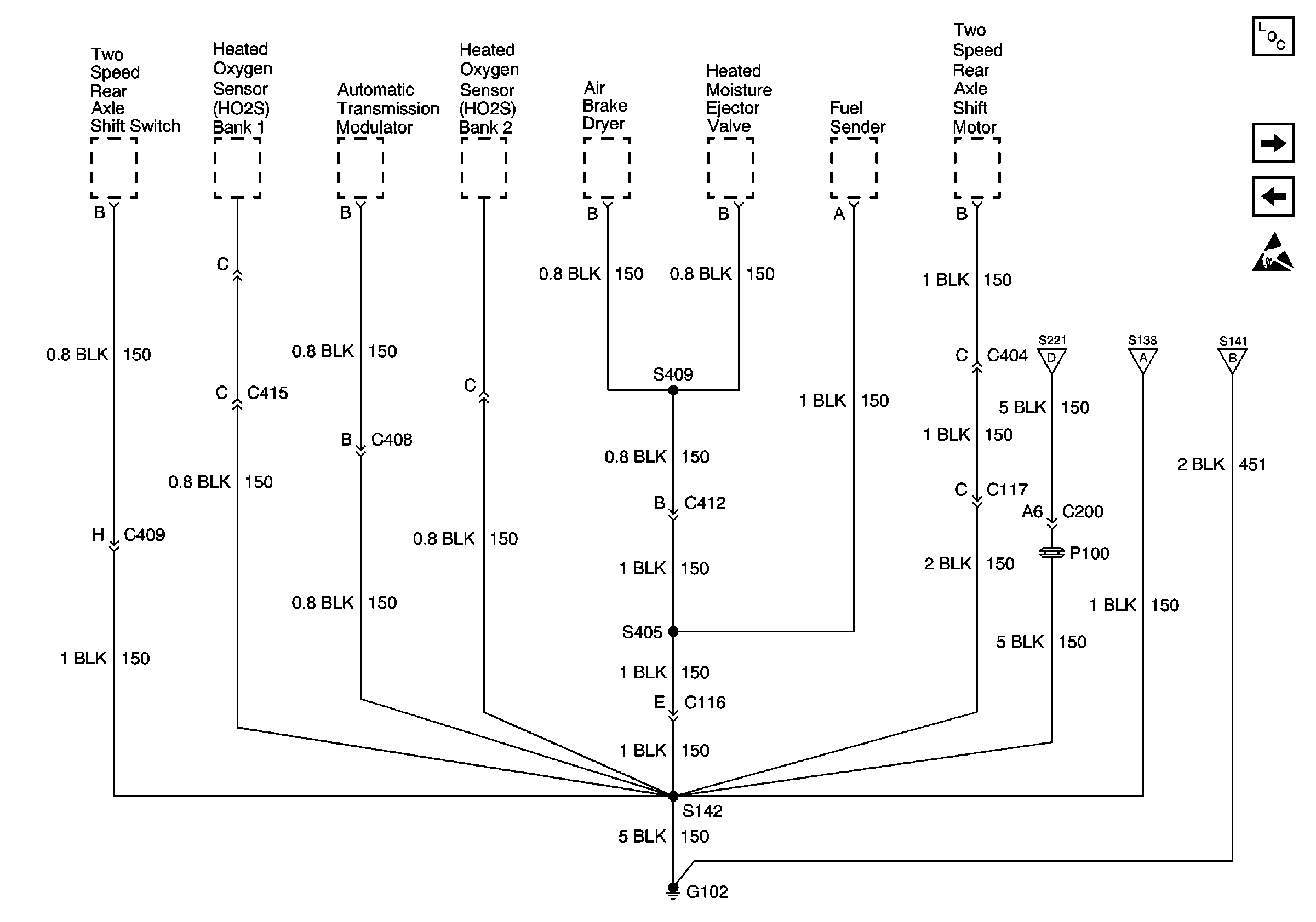
🢒 Gasoline Engine, G102
Gasoline Engine, G102
Gasoline Engine, G102
Power and Grounding Components Ground Distribution
Gasoline Engine, S221
G100, G101, G103, G107, G117, G119, G120, G121, G124, G400, G401, G412,G413, G414
Handling ESD Sensitive Parts Notice
Gasoline Engine, S221
Gasoline Engine, S138
Gasoline Engine, S141 and S210