GM Service Manual Online
For 1990-2009 cars only
Makes
🢒
Chevrolet
🢒
2000
🢒
Chevrolet C-Series Medium Duty Truck B7
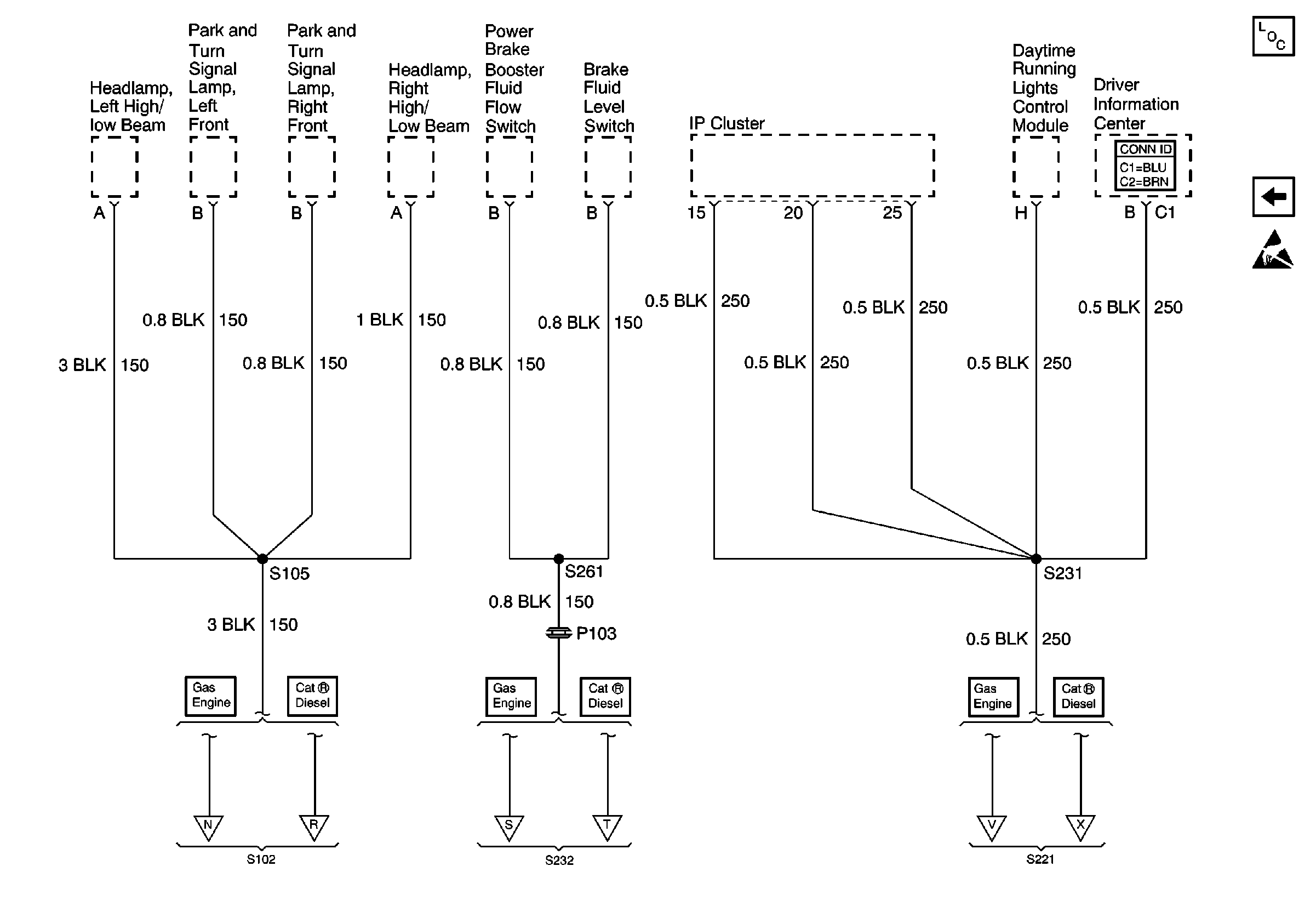
🢒 S105, S261, S231
S105, S261, S231
S105, S261, S231
Power and Grounding Components Ground Distribution
Diesel Engine, S169 and S210
Handling ESD Sensitive Parts Notice
Gasoline Engine, S138
Diesel Engine, G101
Gasoline Engine, S220
Diesel Engine, S221
Gasoline Engine, S221
Diesel Engine, S221
Instrument Panel, Gages, and Console Connector End Views