GM Service Manual Online
For 1990-2009 cars only

Clutch Control Cable Adjustment Push Type


    Object Number: 793764  Size: SH
  1. Apply the park brake.
  2. Remove the clutch return spring (6). Refer to Clutch Return Spring and/or Bracket .
  3. Loosen the jam nuts (4, 5).
  4. With the aid of an assistant, perform the following:
  5. • Pulling rearward on the clutch lever (3), apply 30 N·m (22 lb ft) of force on the lever in order to locate the lever in the "engage" position.
    • Pushing forward on the cable end, apply 25 N·m (18 lb ft) of force to the cable in order to position the pedal against the rubber bump stop.

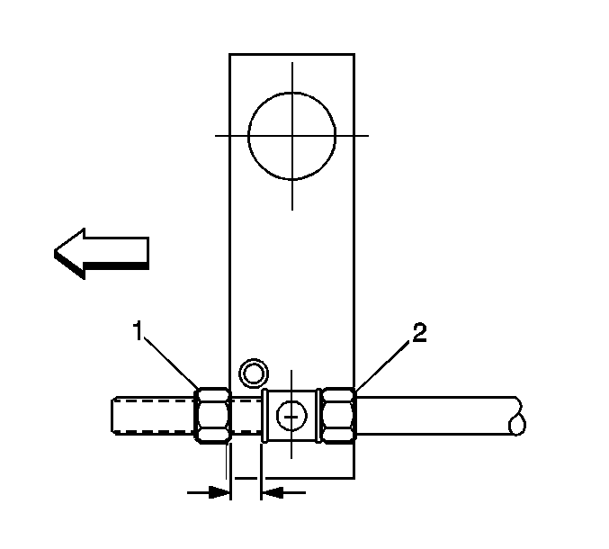
    Object Number: 793765  Size: SH
  6. With force being applied to both the cable and clutch lever, adjust the jam nuts (1, 2).
  7. Adjust the jam nut (2) to obtain the clearance as shown.
  8. Specification
    9.6 mm (0.378 in)

    Notice: Use the correct fastener in the correct location. Replacement fasteners must be the correct part number for that application. Fasteners requiring replacement or fasteners requiring the use of thread locking compound or sealant are identified in the service procedure. Do not use paints, lubricants, or corrosion inhibitors on fasteners or fastener joint surfaces unless specified. These coatings affect fastener torque and joint clamping force and may damage the fastener. Use the correct tightening sequence and specifications when installing fasteners in order to avoid damage to parts and systems.

  9. Release the load from the cable and clutch lever, tighten jam nut (1) against jam nut (2).
  10. Tighten
    Tighten the jam nut to 40 N·m (30 lb ft).

  11. Install the clutch return spring. Refer to Clutch Return Spring and/or Bracket .
  12. Disengage the park brake.
  13. Check the clutch system for normal operation.

Clutch Control Cable Adjustment Pull Type


    Object Number: 793808  Size: SH
  1. Ensure that the internal clutch adjustment is correct prior to performing this adjustment procedure.
  2. Remove the clutch return spring, if equipped. Refer to Clutch Return Spring and/or Bracket .
  3. Loosen the jam nuts (2, 3).
  4. With the aid of an assistant, perform the following:
  5. • Pulling rearward on the clutch lever (1), apply 30 N·m (22 lb ft) of force on the lever in order to locate the lever in the "engage" position.
    • Pushing forward on the cable end, apply 25 N·m (18 lb ft) of force to the cable in order to position the pedal against the rubber bump stop.

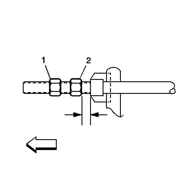
    Object Number: 793767  Size: SH
  6. With force being applied to both the cable and clutch lever, adjust the jam nuts (1, 2).
  7. Adjust the jam nut (1) to obtain the clearance from the swivel, as shown.
  8. Specification
    8.8 mm (0.347 in)

    Notice: Use the correct fastener in the correct location. Replacement fasteners must be the correct part number for that application. Fasteners requiring replacement or fasteners requiring the use of thread locking compound or sealant are identified in the service procedure. Do not use paints, lubricants, or corrosion inhibitors on fasteners or fastener joint surfaces unless specified. These coatings affect fastener torque and joint clamping force and may damage the fastener. Use the correct tightening sequence and specifications when installing fasteners in order to avoid damage to parts and systems.

  9. Release the load from the cable and clutch lever, tighten the jam nut (2) against the swivel.
  10. Tighten
    Tighten the jam nut to 40 N·m (30 lb ft).

  11. Install the clutch return spring, if equipped. Refer to Clutch Return Spring and/or Bracket .
  12. Disengage the park brake.
  13. Check the clutch system for normal operation.